TOP
|
特許
|
意匠
|
商標
特許ウォッチ
Twitter
他の特許を見る
10個以上の画像は省略されています。
公開番号
2025156744
公報種別
公開特許公報(A)
公開日
2025-10-15
出願番号
2024059352
出願日
2024-04-02
発明の名称
演算装置、物理演算装置、演算方法、及び演算プログラム
出願人
JFEスチール株式会社
代理人
弁理士法人酒井国際特許事務所
主分類
G06F
17/16 20060101AFI20251007BHJP(計算;計数)
要約
【課題】高速な処理が可能な演算装置を提供すること。
【解決手段】演算装置は、2次元以上に配列されているデータを格納するデータ配列用メモリ領域を第1メモリ空間内に確保し、前記データ配列用メモリ領域に格納されている前記データを通信対象データと非通信対象データとに分離し、前記通信対象データのメモリアドレスと識別番号とを対応させた第1テーブルを格納する第1テーブル用メモリ領域を前記第1メモリ空間内に確保し、前記第1テーブルを生成して前記第1テーブル用メモリ領域に格納し、前記識別番号の順に前記データを格納する第1送信用バッファを前記第1メモリ空間内に確保し、前記識別番号が対応する前記第1テーブルの前記メモリアドレスを参照して、前記通信対象データを前記第1送信用バッファに格納する第1演算部を備える。
【選択図】図1
特許請求の範囲
【請求項1】
2次元以上に配列されているデータを格納するデータ配列用メモリ領域を第1メモリ空間内に確保し、
前記データ配列用メモリ領域に格納されている前記データを通信対象データと非通信対象データとに分離し、
前記通信対象データのメモリアドレスと識別番号とを対応させた第1テーブルを格納する第1テーブル用メモリ領域を前記第1メモリ空間内に確保し、
前記第1テーブルを生成して前記第1テーブル用メモリ領域に格納し、
前記識別番号の順に前記データを格納する第1送信用バッファを前記第1メモリ空間内に確保し、
前記識別番号が対応する前記第1テーブルの前記メモリアドレスを参照して、前記通信対象データを前記第1送信用バッファに格納する第1演算部を備える演算装置。
続きを表示(約 2,600 文字)
【請求項2】
前記第1演算部は、
第2演算部が生成して第2メモリ空間に格納されている第2テーブルを格納する第2テーブル用メモリ領域を前記第1メモリ空間内に確保し、
前記第2演算部が生成して前記第2メモリ空間に格納されている第2送信用バッファを格納する受信用バッファを前記第1メモリ空間内に確保し、
前記第2テーブルを前記第2テーブル用メモリ領域に格納し、
前記第2送信用バッファを前記受信用バッファに格納し、
前記第2テーブルの識別番号の順に前記第2テーブルのメモリアドレスを参照して、前記受信用バッファの通信対象データを前記データ配列用メモリ領域に格納する請求項1に記載の演算装置。
【請求項3】
前記第2メモリ空間は、前記第1メモリ空間に隣接している請求項2に記載の演算装置。
【請求項4】
前記データは、2次元以上に配列されている空間格子が保持する物理量である請求項1に記載の演算装置。
【請求項5】
前記空間格子は、適合細分化法により細分化されている請求項4に記載の演算装置。
【請求項6】
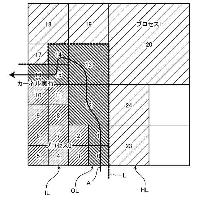
前記第1演算部は、前記空間格子を所定の数含み、前記空間格子において当該第1演算部が演算するプロセスの境界に接する外殻リーフを配列して生成される前記データを前記データ配列用メモリ領域に格納する請求項5に記載の演算装置。
【請求項7】
前記第1演算部は、ステンシル計算により前記空間格子における前記物理量の変化をシミュレーションする請求項4に記載の演算装置。
【請求項8】
2次元以上に配列されているデータを格納するデータ配列用メモリ領域を第1メモリ空間内に確保し、
前記データ配列用メモリ領域に格納されている前記データを通信対象データと非通信対象データとに分離し、
前記通信対象データのメモリアドレスと識別番号とを対応させた第1テーブルを格納する第1テーブル用メモリ領域を前記第1メモリ空間内に確保し、
前記第1テーブルを生成して前記第1テーブル用メモリ領域に格納し、
前記識別番号の順に前記データを格納する第1送信用バッファを前記第1メモリ空間内に確保し、
前記識別番号が対応する前記第1テーブルの前記メモリアドレスを参照して、前記通信対象データを前記第1送信用バッファに格納する第1演算部と、
2次元以上に配列されている前記データを格納する第2データ配列用メモリ領域を前記第1メモリ空間に隣接している第2メモリ空間内に確保し、
前記第1テーブルを格納する前記第1テーブル用メモリ領域を前記第2メモリ空間内に確保し、
前記第1送信用バッファを格納する受信用バッファを前記第2メモリ空間内に確保し、
前記第1テーブルを前記第2メモリ空間の前記第1テーブル用メモリ領域に格納し、
前記第1送信用バッファを前記受信用バッファに格納し、
前記第1テーブルの前記識別番号の順に前記第1テーブルの前記メモリアドレスを参照して、前記受信用バッファの通信対象データを前記第2データ配列用メモリ領域に格納する第2演算部と、
を備える演算装置。
【請求項9】
第1演算部及び第2演算部を含む複数の演算部を並列して適合細分化法により細分化されている空間格子における物理量の変化をシミュレーションする物理演算装置であって、
前記第1演算部は、
2次元以上に配列されているデータを格納するデータ配列用メモリ領域を第1メモリ空間内に確保し、
前記空間格子を所定の数含み、前記空間格子において前記第1演算部が演算するプロセスの境界に接する外殻リーフを配列して生成される前記データを前記データ配列用メモリ領域に格納し、
前記データ配列用メモリ領域に格納されている前記データを通信対象データと非通信対象データとに分離し、
前記通信対象データのメモリアドレスと識別番号とを対応させた第1テーブルを格納する第1テーブル用メモリ領域を前記第1メモリ空間内に確保し、
前記第1テーブルを生成して前記第1テーブル用メモリ領域に格納し、
前記識別番号の順に前記データを格納する第1送信用バッファを前記第1メモリ空間内に確保し、
前記識別番号が対応する前記第1テーブルの前記メモリアドレスを参照して、前記通信対象データを前記第1送信用バッファに格納し、
前記第2演算部が生成して前記第1メモリ空間に隣接する第2メモリ空間に格納されている第2テーブルを格納する第2テーブル用メモリ領域を前記第1メモリ空間内に確保し、
前記第2演算部が生成して前記第2メモリ空間に格納されている第2送信用バッファを格納する受信用バッファを前記第1メモリ空間内に確保し、
前記第2テーブルを前記第2テーブル用メモリ領域に格納し、
前記第2送信用バッファを前記受信用バッファに格納し、
前記第2テーブルの識別番号の順に前記第2テーブルのメモリアドレスを参照して、前記受信用バッファの通信対象データを前記データ配列用メモリ領域に格納し、
ステンシル計算により前記空間格子における前記物理量の変化をシミュレーションする物理演算装置。
【請求項10】
2次元以上に配列されているデータを格納するデータ配列用メモリ領域を第1メモリ空間内に確保し、
前記データ配列用メモリ領域に格納されている前記データを通信対象データと非通信対象データとに分離し、
前記通信対象データのメモリアドレスと識別番号とを対応させた第1テーブルを格納する第1テーブル用メモリ領域を前記第1メモリ空間内に確保し、
前記第1テーブルを生成して前記第1テーブル用メモリ領域に格納し、
前記識別番号の順に前記データを格納する第1送信用バッファを前記第1メモリ空間内に確保し、
前記識別番号が対応する前記第1テーブルの前記メモリアドレスを参照して、前記通信対象データを前記第1送信用バッファに格納する演算方法。
(【請求項11】以降は省略されています)
発明の詳細な説明
【技術分野】
【0001】
本発明は、演算装置、物理演算装置、演算方法、及び演算プログラムに関する。
続きを表示(約 2,000 文字)
【背景技術】
【0002】
演算装置を用いたステンシル計算により、空間格子(メッシュ)における物理量の変化をシミュレーションすることができる。ステンシル計算では、空間格子等の配列された各要素におけるデータを演算する際に、その周囲の所定の領域(ステンシル)のデータを参照する。そして、有限差分法や有限体積法をステンシル計算に適用して偏微分方程式を解くことにより、各要素における物理量等のデータの変化をシミュレーションすることができる。
【0003】
非特許文献1には、適合細分化法(AMR:Adaptive Mesh Refinement)により細分化されているメッシュにおけるデータの変化をシミュレーションすることが記載されている。
【0004】
ステンシル計算により実現象を再現するには、2次元以上の巨大な配列が必要になり、計算負荷やメモリ使用量が増大する。そこで、計算の高速化やメモリ使用量の分散のため、配列を複数に分割し、複数の演算部に割り当てる並列化が実施される。並列化は、例えば、メモリ空間を複数のメモリ領域に分散し、各演算部が割り当てられたメモリ領域を参照する分散メモリにより実現することができる。
【0005】
分散メモリでは、各メモリの使用量を抑えることができる。一方、分散メモリでは、配列を分割した境界付近において各要素のステンシルを構築するために、メモリ間でのデータの授受が必要になる。有限差分法や有限体積法を用いる場合、このメモリ間でのデータの授受がほぼ毎ステップにおいて必要になるため、その処理時間を削減することが求められる。
【先行技術文献】
【非特許文献】
【0006】
Marsha J. Berger, Joseph Oliger、“Adaptive Mesh Refinement for Hyperbolic Partial Differential Equations”、Journal of Computational Physics, Volume 53, Issue 3, 484-512 (1984)
【発明の概要】
【発明が解決しようとする課題】
【0007】
非特許文献1では、木構造を用いて各メッシュのデータを管理するため、物理アドレスの不連続性が特に顕著である。この場合、データを連続メモリにパッキングすることが好ましいが、パッキング処理自体が複雑なランダムアクセスになるため、処理速度が低下する傾向にある。特に、演算のアクセラレータとしてGPUを使用する場合、パッキング処理を愚直に実装すると、GPU内でのストリーミングマルチプロセッサにおけるwarp処理やメモリアクセスの仕組みに起因して、処理速度の低下に繋がりやすい。
【0008】
本発明は、上記に鑑みてなされたものであって、高速な処理が可能な演算装置、物理演算装置、演算方法、及び演算プログラムを提供することを目的とする。
【課題を解決するための手段】
【0009】
上述した課題を解決し、目的を達成するために、
[1]本発明の一態様に係る演算装置は、2次元以上に配列されているデータを格納するデータ配列用メモリ領域を第1メモリ空間内に確保し、前記データ配列用メモリ領域に格納されている前記データを通信対象データと非通信対象データとに分離し、前記通信対象データのメモリアドレスと識別番号とを対応させた第1テーブルを格納する第1テーブル用メモリ領域を前記第1メモリ空間内に確保し、前記第1テーブルを生成して前記第1テーブル用メモリ領域に格納し、前記識別番号の順に前記データを格納する第1送信用バッファを前記第1メモリ空間内に確保し、前記識別番号が対応する前記第1テーブルの前記メモリアドレスを参照して、前記通信対象データを前記第1送信用バッファに格納する第1演算部を備える。
【0010】
[2]また、本発明の一態様に係る演算装置は、上記[1]において、前記第1演算部は、第2演算部が生成して第2メモリ空間に格納されている第2テーブルを格納する第2テーブル用メモリ領域を前記第1メモリ空間内に確保し、前記第2演算部が生成して前記第2メモリ空間に格納されている第2送信用バッファを格納する受信用バッファを前記第1メモリ空間内に確保し、前記第2テーブルを前記第2テーブル用メモリ領域に格納し、前記第2送信用バッファを前記受信用バッファに格納し、前記第2テーブルの識別番号の順に前記第2テーブルのメモリアドレスを参照して、前記受信用バッファの通信対象データを前記データ配列用メモリ領域に格納する。
(【0011】以降は省略されています)
この特許をJ-PlatPat(特許庁公式サイト)で参照する
関連特許
JFEスチール株式会社
高炉の原料装入方法
18日前
JFEスチール株式会社
デスケーリング装置
5日前
JFEスチール株式会社
診断システム及び診断方法
10日前
JFEスチール株式会社
構造材及び構造材の製造方法
5日前
JFEスチール株式会社
金物投入設備及び金物投入方法
4日前
JFEスチール株式会社
樹脂成形体の製造方法および製造設備
10日前
JFEスチール株式会社
樹脂成形体の製造方法および製造設備
10日前
JFEスチール株式会社
樹脂成形体の製造方法および製造設備
10日前
JFEスチール株式会社
ドレッシング方法及びドレッシング装置
10日前
JFEスチール株式会社
熱延鋼材の製造方法
12日前
JFEスチール株式会社
焼結原料供給設備における混合原料水分値推定方法及びミキサー散水量設定方法
4日前
JFEスチール株式会社
金属板の成形限界判定方法、金属板の成形限界判定システム及び金属板の成形限界判定プログラム
4日前
JFEスチール株式会社
製造条件決定方法、達成確率推定方法、達成確率推定モデル作成方法、製造条件決定装置及びプログラム
4日前
個人
詐欺保険
1か月前
個人
縁伊達ポイン
1か月前
個人
5掛けポイント
17日前
個人
職業自動販売機
10日前
個人
RFタグシート
28日前
個人
QRコードの彩色
1か月前
個人
ペルソナ認証方式
25日前
個人
地球保全システム
1か月前
個人
情報処理装置
20日前
個人
自動調理装置
27日前
個人
農作物用途分配システム
1か月前
個人
残土処理システム
1か月前
個人
インターネットの利用構造
24日前
個人
サービス情報提供システム
12日前
個人
知的財産出願支援システム
1か月前
個人
タッチパネル操作指代替具
1か月前
個人
スケジュール調整プログラム
1か月前
個人
携帯端末障害問合せシステム
1か月前
株式会社キーエンス
受発注システム
1か月前
個人
エリアガイドナビAIシステム
25日前
個人
海外支援型農作物活用システム
2か月前
株式会社キーエンス
受発注システム
1か月前
株式会社キーエンス
受発注システム
1か月前
続きを見る
他の特許を見る