TOP
|
特許
|
意匠
|
商標
特許ウォッチ
Twitter
他の特許を見る
公開番号
2025156700
公報種別
公開特許公報(A)
公開日
2025-10-15
出願番号
2024059271
出願日
2024-04-02
発明の名称
自立チューブ容器の製造方法及び自立チューブ容器
出願人
株式会社ベッセル・ジャパン
代理人
個人
,
個人
主分類
B65D
35/02 20060101AFI20251007BHJP(運搬;包装;貯蔵;薄板状または線条材料の取扱い)
要約
【課題】押出チューブからなるチューブ容器において、安定した自立が可能な自立チューブ容器の製造方法と自立チューブ容器とを提供する。
【解決手段】倒立状態の押出チューブPの内部に棒状マンドレルQ1を立設する立設工程と、棒状マンドレルQ1の上端部に底板4を支持する底板支持工程と、胴部2の外側から底板4の上面側にキャビ型Rを配置する型締め工程と、底板4の上面側に底部材5を射出して底部3を成形する成形工程と、を備えた製造方法。
【選択図】 図5
特許請求の範囲
【請求項1】
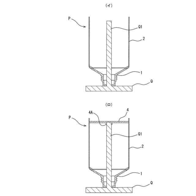
口元部を有する押出チューブに平らな底部を形成した自立チューブ容器を製造する方法において、
板状のマンドレルに口元部を下にして押出チューブを載置すると共に、棒状マンドレルを口元部から内部に立設する立設工程と、
胴部の下端部内側に底板の周囲を嵌合すると共に、棒状マンドレルの上端部に底板を水平に支持する底板支持工程と、
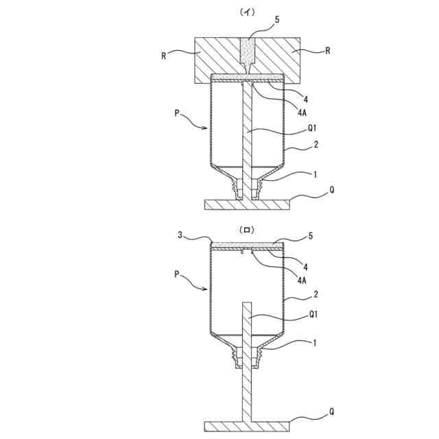
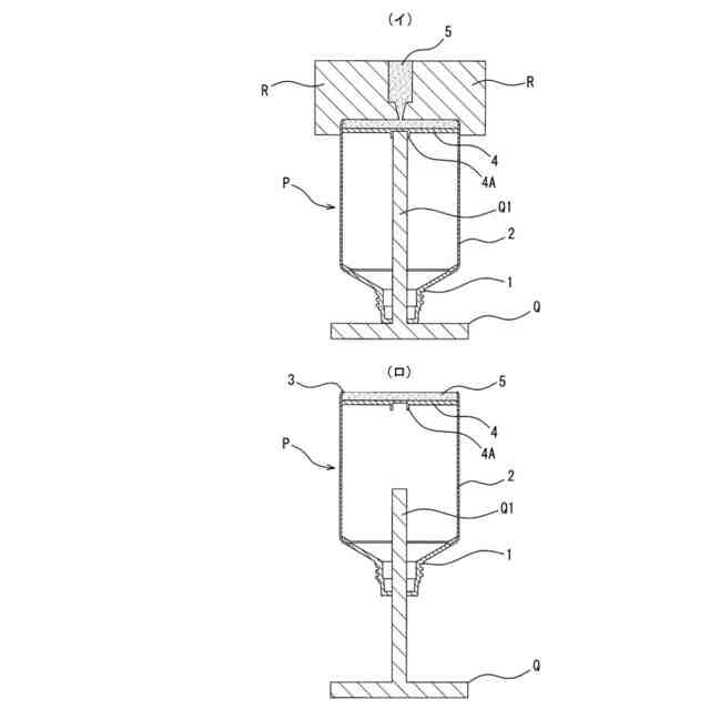
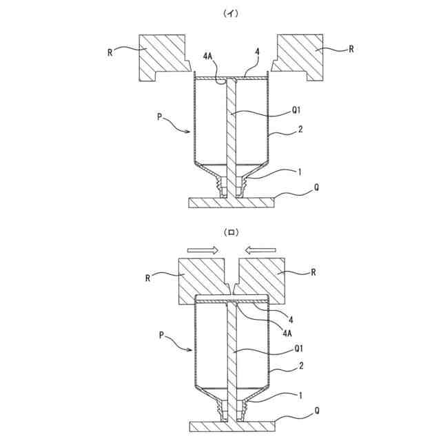
胴部の外側から底板の載置面側に底部を形成するキャビ型を配置する型締め工程と、
底板の載置面側に熱可塑性樹脂の底部材を射出して底部を成形する成形工程と、を備えたことを特徴とする自立チューブ容器の製造方法。
続きを表示(約 340 文字)
【請求項2】
前記底板支持工程において、前記底板の内側中央に嵌合部を形成し、該嵌合部に前記棒状マンドレルの上端部を嵌合する請求項1記載の自立チューブ容器の製造方法。
【請求項3】
口元部を有する押出チューブに平らな底部を形成した自立チューブ容器であって、前記底部は胴部より硬質な熱可塑性樹脂にて形成された底板を備え、胴部の下端部内側に底板の周囲が嵌合されると共に、胴部の下端部内側から底板の載置面側を熱可塑性樹脂の底部材が被覆して前記底部を形成したことを特徴とする自立チューブ容器。
【請求項4】
前記胴部は多層押出しチューブにて形成され、前記胴部の内周面の材質を、前記底板と前記底部材と同じ材質とする請求項3記載の自立チューブ容器。
発明の詳細な説明
【技術分野】
【0001】
本発明は、押出成形されたチューブ容器に平らな底部を形成した自立チューブ容器の製造方法及び自立チューブ容器に関する。
続きを表示(約 1,200 文字)
【背景技術】
【0002】
押出成形されたチューブ容器の底部は、胴部の内側面同士を接着した線状の底部を成している。そのため、この種のチューブ容器を自立させるには、キャップ側を下にして自立させるか、あるいはスタンドを別途用意することになる。
【0003】
そこで、チューブ容器の底部に自立可能な形状を形成したチューブ容器が種々提案されている。
【0004】
特許文献1に記載のチューブ容器は、胴部の内側面同士を接着する際に、直線状ではなく放射形状(十文字形状)に接着した挟着シール部3を形成したものである。また特許文献2に記載のチューブ容器は、胴部の底部に軸芯から周壁へ向けて3方向に延設した放射形状のシール部11を形成したものである。
【0005】
一方、特許文献3に記載のチューブ容器は、チューブ状の可撓性樹脂フィルムからなる胴部の端部に、硬質樹脂からなる円形の底部をシールした構成である。そして、チューブ容器の口元部には、従来の底部と同様に、胴部の内側面同士を接着した線状の口元部を形成したものである。
【先行技術文献】
【特許文献】
【0006】
特開2014-28619号公報
特開2013-220826号公報
実用新案登録第3241791号公報
【発明の概要】
【発明が解決しようとする課題】
【0007】
特許文献1や特許文献2に記載のチューブ容器は、いずれも押出チューブの底部の形状を放射形状にすることで自立可能にした構成である。そのため、底部の面積は胴周りより小さくならざるを得ず、自立はしても安定性に欠ける課題があった。
【0008】
一方、特許文献3に記載のチューブ容器は、胴部に円形の底部をシールしているので安定性のある自立が可能である。ところがこのチューブ容器の口元部は、従来の押出チューブに形成する底部と同様の口元部を形成したものなので、この口元部は直線状にシールされた形状を成している。
【0009】
すなわち、底部2と胴部3の接合方法として、胴部3となるチューブ状樹脂フィルムを金型にセットし、従来の口元部に代えて底部2を形成する樹脂を射出成形したものである。したがって、この金型では従来の口元部を射出形成することができないので直線状にシールされた口元部が形成されている。そのため、シールされた口元部は一度開けると閉じることができない構造なので、チューブ容器としての使用が限定される不都合がある。
【0010】
また、他の接合手段として、底部2と胴部3は熱溶着、或いは接着剤により接合する手段も記載されている。この場合、胴部3の厚みにより底部2の接合強度が左右される不都合が生じる。したがって、胴部3となるチューブ状樹脂フィルムの厚みを十分に厚くする必要があり、この場合もチューブ容器の用途が限定されることになる。
(【0011】以降は省略されています)
この特許をJ-PlatPat(特許庁公式サイト)で参照する
関連特許
個人
収容箱
3か月前
個人
コンベア
4か月前
個人
ゴミ収集器
6か月前
個人
段ボール箱
6か月前
個人
容器
9か月前
個人
段ボール箱
6か月前
個人
角筒状構造体
5か月前
個人
バンド
1か月前
個人
楽ちんハンド
4か月前
個人
土嚢運搬器具
8か月前
個人
宅配システム
6か月前
個人
お薬の締結装置
5か月前
個人
閉塞装置
9か月前
個人
廃棄物収容容器
2か月前
個人
コード類収納具
7か月前
個人
包装容器
28日前
個人
蓋閉止構造
3か月前
株式会社コロナ
梱包材
5か月前
個人
ゴミ処理機
8か月前
個人
貯蔵サイロ
6か月前
個人
把手付米袋
4か月前
個人
蓋閉止構造
3か月前
個人
積み重ね用補助具
2か月前
株式会社バンダイ
物品
9日前
株式会社和気
包装用箱
8か月前
株式会社KY7
封止装置
3か月前
個人
コード折り畳み器具
4か月前
三甲株式会社
蓋体
7か月前
三甲株式会社
蓋体
9か月前
個人
袋入り即席麺
7か月前
三甲株式会社
容器
5か月前
三甲株式会社
容器
1か月前
三甲株式会社
容器
5か月前
個人
輸送積荷用動吸振器
5か月前
株式会社新弘
容器
2か月前
個人
介護用コップ
1か月前
続きを見る
他の特許を見る