TOP
|
特許
|
意匠
|
商標
特許ウォッチ
Twitter
他の特許を見る
10個以上の画像は省略されています。
公開番号
2025156567
公報種別
公開特許公報(A)
公開日
2025-10-14
出願番号
2025133252,2021163020
出願日
2025-08-08,2021-10-01
発明の名称
メンテナンス支援プログラム及びメンテナンス支援システム
出願人
宮川工機株式会社
代理人
個人
主分類
G06Q
50/04 20120101AFI20251002BHJP(計算;計数)
要約
【課題】 プレカット加工機においてトラブルが発生している位置を迅速かつ容易に特定できるメンテナンス支援プログラム及びメンテナンス支援システムを提供すること。
【解決手段】画像表示エリア32cには、キーワード入力エリア32aで入力された箇所のプレカット加工機20の周囲画像Pa及び詳細画像Pdが表示される。周囲画像Paは当該箇所を含む機械図面なので、その描写がシンプル且つプレカット加工機20の構造が明確に表される。作業員Hは周囲画像Paによりトラブルが発生箇所の大まかな位置を把握できる。また詳細画像Pdは当該箇所を実際に撮影した写真なので、作業員は詳細画像Pdによりトラブル発生箇所の位置をより具体的に把握できる。周囲画像Pa及び詳細画像Pdにより、作業員Hはプレカット加工機20のトラブル発生箇所の位置を迅速かつ容易に特定できる。
【選択図】 図3
特許請求の範囲
【請求項1】
プレカット加工機においてトラブルが発生している所定の箇所を含む周囲画像と当該箇所の詳細画像とを、作業員が視認する表示部に表示可能とする処理を、コンピュータに実行させることを可能とするメンテナンス支援プログラムであって、
前記所定の箇所に対応するキーワードを少なくとも含む前記所定の箇所に対応した情報を取得する箇所取得ステップと、
複数の周囲画像および詳細画像の中から、前記箇所取得ステップで取得された情報に基づいて前記所定の箇所に該当する周囲画像および詳細画像を検索する画像検索ステップと、
その画像検索ステップで検索された周囲画像および詳細画像を、前記キーワードとともに前記表示部に表示可能に出力する画像出力ステップと、
を、コンピュータに実行させることを可能とするメンテナンス支援プログラム。
続きを表示(約 1,100 文字)
【請求項2】
前記画像出力ステップは、前記画像検索ステップで検索された周囲画像と詳細画像とを並べた画像を前記表示部に表示可能に出力することが可能であって、前記表示部に、前記キーワードとともに表示される複数の画像の数及び大きさを異ならせて表示することが可能に構成されていることを特徴とする請求項1記載のメンテナンス支援プログラム。
【請求項3】
前記箇所取得ステップは、前記キーワードと、前記プレカット加工機が加工する構造材の種類に対応する機械種別と、前記プレカット加工機の機種名とを含む前記所定の箇所に対応した情報を取得することが可能に構成され、
前記画像検索ステップは、前記トラブルが発生し得る複数の箇所に対応した周囲画像および詳細画像の中から、前記キーワードと前記機械種別と前記機種名とに該当する周囲画像および詳細画像を検索することが可能に構成されていることを特徴とする請求項1又は2に記載のメンテナンス支援プログラム。
【請求項4】
サーバと、端末とを含めて構成され、プレカット加工機においてトラブルが発生している所定の箇所を含む周囲画像と当該箇所の詳細画像とを、前記端末の表示部に表示可能とするメンテナンス支援システムであって、
前記サーバは、
複数の周囲画像および詳細画像を記憶する画像記憶手段と、
前記端末から送信される前記所定の箇所に対応した情報を取得する箇所受信手段と、
前記画像記憶手段から、前記箇所受信手段で取得された情報に基づいて前記所定の箇所に該当する周囲画像および詳細画像を検索する画像検索手段と、
その画像検索手段で検索された周囲画像および詳細画像を前記端末に送信する画像送信手段とを備え、
前記端末は、
前記所定の箇所に対応するキーワードを入力可能なキーワード入力エリアを表示する表示手段と、
前記キーワード入力エリアに入力されるキーワードを少なくとも含む前記所定の箇所に対応した情報を取得する箇所取得手段と、
その箇所取得手段で取得された前記所定の箇所に対応した情報を前記サーバに送信する箇所送信手段と、
前記サーバから、前記所定の箇所に該当する周囲画像および詳細画像を受信する画像受信手段と、
その画像受信手段で受信した周囲画像および詳細画像を、前記所定の箇所に対応して前記キーワード入力エリアに入力されたキーワードとともに前記表示部に表示する画像表示手段と、
を備えていることを特徴とするメンテナンス支援システム。
【請求項5】
請求項4に記載のメンテナンス支援システムをコンピュータで実現させるためのメンテナンス支援プログラム。
発明の詳細な説明
【技術分野】
【0001】
本発明はメンテナンス支援プログラム及びメンテナンス支援システムに関するものである。
続きを表示(約 2,700 文字)
【背景技術】
【0002】
特許文献1には、加工データに基づき、木材を切断等して横架材等の構造材を加工(プレカット加工)する加工機100が開示されている。加工機100には、表示部100Dが設けられ、加工データの処理順を予約する予約編集画面等の各種の設定を行う画面や、加工機100の状態を表す画面等が表示される。このような表示部100Dの表示により、作業員は加工機100の設定状態や動作状態を把握できる。
【先行技術文献】
【特許文献】
【0003】
特開2019-079386号公報
【発明の概要】
【発明が解決しようとする課題】
【0004】
しかしながら、表示部100Dは加工機100に設けられるため、その表示面の大きさに制約がある。よって、加工機100においてトラブルが発生した場合、表示部100Dには、そのトラブルが発生した箇所の名称は表示できるが、それ以上の詳細な情報を表示することは困難である。一方、加工機100のサイズは大きいので、作業員が表示部100Dに表示される箇所の名称を見ても、トラブルが発生した位置を具体的に把握できず、該当位置に向かうことができないという問題点があった。
【0005】
本発明は、上述した問題点を解決するためになされたものであり、プレカット加工機においてトラブルが発生している位置を迅速かつ容易に特定できるメンテナンス支援プログラム及びメンテナンス支援システムを提供することを目的としている。
【課題を解決するための手段】
【0006】
この目的を達成するために本発明のメンテナンス支援プログラムは、
プレカット加工機においてトラブルが発生している所定の箇所を含む周囲画像と当該箇所の詳細画像とを、作業員が視認する表示部に表示可能とする処理を、コンピュータに実行させることを可能とするメンテナンス支援プログラムであって、
前記所定の箇所に対応するキーワードを少なくとも含む前記所定の箇所に対応した情報を取得する箇所取得ステップと、
複数の周囲画像および詳細画像の中から、前記箇所取得ステップで取得された情報に基づいて前記所定の箇所に該当する周囲画像および詳細画像を検索する画像検索ステップと、
その画像検索ステップで検索された周囲画像および詳細画像を、前記キーワードとともに前記表示部に表示可能に出力する画像出力ステップと、
を、コンピュータに実行させることを可能とするものである。
【0007】
また本発明のメンテナンス支援装置は、
サーバと、端末とを含めて構成され、プレカット加工機においてトラブルが発生している所定の箇所を含む周囲画像と当該箇所の詳細画像とを、前記端末の表示部に表示可能とするメンテナンス支援システムであって、
前記サーバは、
複数の周囲画像および詳細画像を記憶する画像記憶手段と、
前記端末から送信される前記所定の箇所に対応した情報を取得する箇所受信手段と、
前記画像記憶手段から、前記箇所受信手段で取得された情報に基づいて前記所定の箇所に該当する周囲画像および詳細画像を検索する画像検索手段と、
その画像検索手段で検索された周囲画像および詳細画像を前記端末に送信する画像送信手段とを備え、
前記端末は、
前記所定の箇所に対応するキーワードを入力可能なキーワード入力エリアを表示する表示手段と、
前記キーワード入力エリアに入力されるキーワードを少なくとも含む前記所定の箇所に対応した情報を取得する箇所取得手段と、
その箇所取得手段で取得された前記所定の箇所に対応した情報を前記サーバに送信する箇所送信手段と、
前記サーバから、前記所定の箇所に該当する周囲画像および詳細画像を受信する画像受信手段と、
その画像受信手段で受信した周囲画像および詳細画像を、前記所定の箇所に対応して前記キーワード入力エリアに入力されたキーワードとともに前記表示部に表示する画像表示手段と、
を備えている。
【0008】
また本発明のメンテナンス支援プログラムは、本発明のメンテナンス支援システムをコンピュータで実現させるためのものとしてもよい。
【発明の効果】
【0009】
本発明のメンテナンス支援プログラム及びメンテナンス支援システムによれば、作業員は、表示部に表示される周囲画像によってプレカット加工機においてトラブルが発生している大まかな位置を把握できる。更に作業員は、表示部に表示される詳細画像によってトラブルが発生している位置の周囲から原因となる具体的な位置を容易に特定できる。これらにより、作業員はトラブルが発生している位置を迅速かつ容易に特定し、トラブル解決のためのメンテナンスを促進させることができるという効果がある。
【図面の簡単な説明】
【0010】
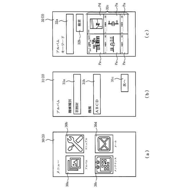
メンテナンス支援システムの概要を説明する図である。
(a)は、メニュー画面を表す図であり、(b)は、アルバムトップ画面を表す図であり、(c)は、アルバム表示画面を表す図である。
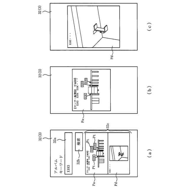
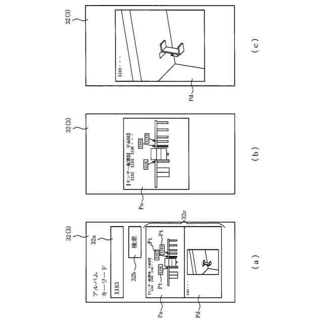
(a)は、アルバム表示画面において、キーワード入力エリアに入力された箇所に該当する画像を表示する場合を表す図であり、(b)は、周囲画像を拡大表示した場合を表す図であり、(c)は、詳細画像を拡大表示した場合を表す図である。
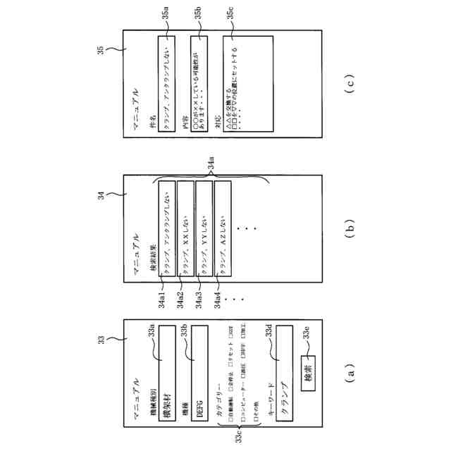
(a)は、マニュアルトップ画面を表す図であり、(b)は、検索結果画面を表す図であり、(c)は、詳細表示画面を表す図である。
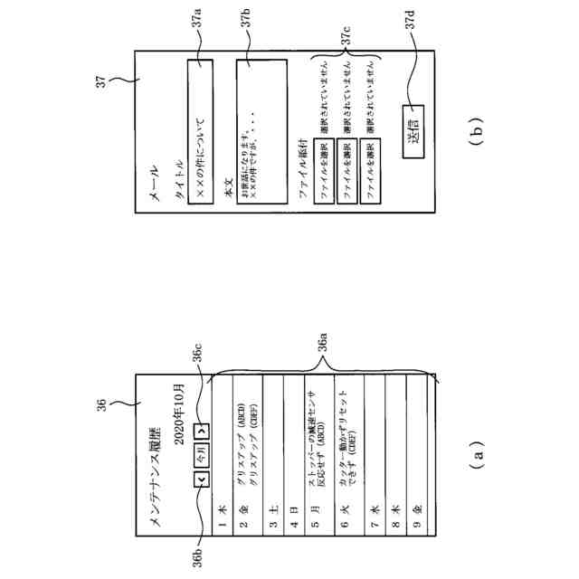
(a)は、メンテナンス画面を表す図であり、(b)は、メール画面を表す図である。
メンテナンス支援システムの電気的構成を示すブロック図である。
(a)は、アルバムデータを模式的に示す図であり、(b)は、マニュアルデータを模式的に示す図である。
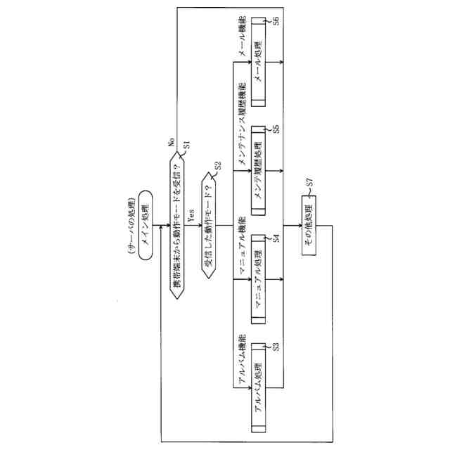
サーバのメイン処理のフローチャートである。
アルバム処理のフローチャートである。
マニュアル処理のフローチャートである。
(a)は、メンテ履歴処理のフローチャートであり、(b)は、メール処理のフローチャートである。
変形例におけるメンテナンス支援システムの電気的構成を示すブロック図である。
【発明を実施するための形態】
(【0011】以降は省略されています)
この特許をJ-PlatPat(特許庁公式サイト)で参照する
関連特許
宮川工機株式会社
プレカット加工装置
8か月前
宮川工機株式会社
メンテナンス支援プログラム及びメンテナンス支援システム
1か月前
個人
詐欺保険
1か月前
個人
縁伊達ポイン
1か月前
個人
職業自動販売機
21日前
個人
5掛けポイント
28日前
個人
RFタグシート
1か月前
個人
地球保全システム
2か月前
個人
QRコードの彩色
1か月前
個人
ペルソナ認証方式
1か月前
個人
情報処理装置
1か月前
個人
自動調理装置
1か月前
個人
立体グラフの利用方法
今日
個人
残土処理システム
1か月前
個人
農作物用途分配システム
1か月前
NISSHA株式会社
入力装置
1日前
個人
知的財産出願支援システム
1か月前
個人
サービス情報提供システム
23日前
個人
インターネットの利用構造
1か月前
個人
タッチパネル操作指代替具
1か月前
個人
携帯端末障害問合せシステム
1か月前
個人
スケジュール調整プログラム
1か月前
個人
学習用データ生成装置
2日前
個人
食品レシピ生成システム
2か月前
個人
エリアガイドナビAIシステム
1か月前
株式会社キーエンス
受発注システム
2か月前
株式会社キーエンス
受発注システム
2か月前
株式会社キーエンス
受発注システム
2か月前
個人
帳票自動生成型SaaSシステム
1か月前
キヤノン株式会社
情報処理装置
29日前
キヤノン株式会社
印刷システム
1か月前
エッグス株式会社
情報処理装置
1か月前
キヤノン株式会社
情報処理装置
15日前
キヤノン株式会社
情報処理装置
15日前
キヤノン株式会社
画像認識装置
15日前
株式会社ワコム
電子ペン
1か月前
続きを見る
他の特許を見る