TOP
|
特許
|
意匠
|
商標
特許ウォッチ
Twitter
他の特許を見る
公開番号
2025155406
公報種別
公開特許公報(A)
公開日
2025-10-14
出願番号
2024059221
出願日
2024-04-01
発明の名称
コンクリート補強棒材及びコンクリート部材の補強構造
出願人
株式会社大林組
代理人
弁理士法人一色国際特許事務所
主分類
E04C
5/03 20060101AFI20251006BHJP(建築物)
要約
【課題】伸び性能を向上させたコンクリート補強棒材、及びコンクリート補強棒材を用いたコンクリート部材の補強構造を提供する。
【解決手段】棒材本体と、該棒材本体の一端側に設けられる定着部材と、前記棒材本体の長手方向中間部に設けられる摩擦ダイスと、を備え、前記摩擦ダイスは、前記棒材本体を貫通させて締付けることにより該棒材本体に設置される。
【選択図】図1
特許請求の範囲
【請求項1】
棒材本体と、
該棒材本体の一端側に設けられる定着部材と、
前記棒材本体の長手方向中間部に設けられる摩擦ダイスと、を備え、
前記摩擦ダイスは、前記棒材本体に締め付けることにより設置されることを特徴とするコンクリート補強棒材。
続きを表示(約 790 文字)
【請求項2】
請求項1に記載のコンクリート補強棒材において、
前記摩擦ダイスが、ダイス本体と、該ダイス本体の前記棒材本体に対する締付け量を調整する締付け調整部と、を備えていることを特徴とするコンクリート補強棒材。
【請求項3】
請求項1に記載のコンクリート補強棒材において、
前記棒材本体が、他端側に可動定着部を備え、
該可動定着部は、
前記棒材本体に固定された拡径部と、
該拡径部を前記棒材本体の軸線方向に移動自在に収納する収納部と、
を備えることを特徴とするコンクリート補強棒材。
【請求項4】
請求項1に記載のコンクリート補強棒材において、
前記定着部材に、前記摩擦ダイスが用いられていることを特徴とするコンクリート補強棒材。
【請求項5】
請求項1に記載のコンクリート補強棒材において、
前記棒材本体が、高強度鋼もしくは高強度鋼と同等の引張強度を有する棒状材料よりなることを特徴とするコンクリート補強棒材。
【請求項6】
請求項1に記載のコンクリート補強棒材を用いたコンクリート部材の補強構造であって、
隣り合うコンクリート部材に跨って、前記コンクリート補強棒材が設けられていることを特徴とするコンクリート部材の補強構造。
【請求項7】
請求項6に記載のコンクリート部材の補強構造において、
前記コンクリート部材を構成する主筋として、前記コンクリート補強棒材が用いられていることを特徴とするコンクリート部材の補強構造。
【請求項8】
請求項6に記載のコンクリート部材の補強構造において、
隣り合う前記コンクリート部材が、橋脚の柱部と基礎部であることを特徴とするコンクリート部材の補強構造。
発明の詳細な説明
【技術分野】
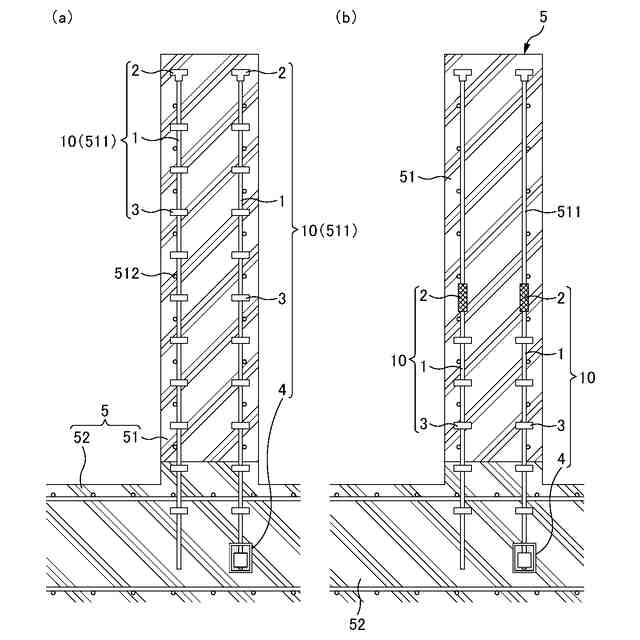
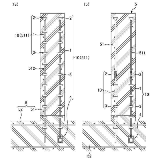
【0001】
本発明は、コンクリート構造物を補強するコンクリート補強棒材、及びコンクリート部材の補強構造に関する。
続きを表示(約 1,100 文字)
【背景技術】
【0002】
例えば、PC鋼棒は、プレストレストコンクリートだけでなく、特許文献1で示すような、鉄筋コンクリート構造物のせん断補強筋として用いる場合がある。特許文献1では、PC鋼棒に定着部材材を設けてせん断補強具を構成し、このせん断補強具をボックスカルバートの側壁に配置して、耐震補強を行っている。
【先行技術文献】
【特許文献】
【0003】
特開2017-206810号公報
【発明の概要】
【発明が解決しようとする課題】
【0004】
上記のように使用されるPC鋼棒などの高強度鋼は、鉄筋コンクリート構造物の主筋として採用することが望まれている。ところが、鉄筋コンクリート構造物に広く一般に使用されている異形棒鋼(例えば、SD345)と比較すると、伸び性能に劣ることから、地震時などにおいて鉄筋コンクリート構造物に十分な変形性能を確保できないおそれが生じる。また、一般に使用されている異形棒鋼も、繰り返して塑性変形させると数回程度の繰り返しで容易に破断する。
【0005】
本発明は、かかる課題に鑑みなされたものであって、その主な目的は、伸び性能を向上させたコンクリート補強棒材、及びコンクリート補強棒材を用いたコンクリート部材の補強構造を提供することである。
【課題を解決するための手段】
【0006】
かかる目的を達成するため本発明のコンクリート補強棒材は、棒材本体と、該棒材本体の一端側に設けられる定着部材と、前記棒材本体の長手方向中間部に設けられる摩擦ダイスと、を備え、前記摩擦ダイスは、前記棒材本体に締付けることにより設置されることを特徴とする。
【0007】
本発明のコンクリート補強棒材は、前記摩擦ダイスが、ダイス本体と、該ダイス本体の前記棒材本体に対する締付け量を調整する締付け調整部と、を備えていることを特徴とする。
【0008】
本発明のコンクリート補強棒材は、前記棒材本体が、他端側に可動定着部を備え、該可動定着部は、前記棒材本体に固定された拡径部と、該拡径部を前記棒材本体の軸線方向に移動自在に収納する収納部と、を備えることを特徴とする。
【0009】
本発明のコンクリート補強棒材は、前記定着部材に、前記摩擦ダイスが用いられていることを特徴とする。
【0010】
本発明のコンクリート補強棒材は、前記棒材本体が、高強度鋼もしくは高強度鋼と同等の引張強度を有する棒状材料よりなることを特徴とする
(【0011】以降は省略されています)
この特許をJ-PlatPat(特許庁公式サイト)で参照する
関連特許
株式会社大林組
接合構造
17日前
株式会社大林組
測定方法
29日前
株式会社大林組
基礎構造
2か月前
株式会社大林組
飛込み台
29日前
株式会社大林組
建物の構造
16日前
株式会社大林組
免震建築物
1か月前
株式会社大林組
仮設建築物
29日前
株式会社大林組
ルーバー構造
1か月前
株式会社大林組
空調システム
1か月前
株式会社大林組
監視システム
1か月前
株式会社大林組
耐火被覆構造
1か月前
株式会社大林組
床板の設置方法
29日前
株式会社大林組
可搬式充電設備
16日前
株式会社大林組
建物の躯体構造
1か月前
株式会社大林組
積層材成型方法
2か月前
株式会社大林組
建物の躯体構造
1か月前
株式会社大林組
鋼矢板の圧入方法
15日前
株式会社大林組
日射遮蔽発電装置
1か月前
株式会社大林組
安全支援システム
1か月前
株式会社大林組
リフトアップ装置
1か月前
株式会社大林組
作業支援システム
2か月前
株式会社大林組
リフトアップ装置
1か月前
株式会社大林組
建築物及び建築方法
1か月前
株式会社大林組
袋体付き排水パイプ
29日前
株式会社大林組
新設床版の設置工法
2か月前
株式会社大林組
梁段差部の仕口構造
2か月前
株式会社大林組
建築方法及び建築物
2か月前
株式会社大林組
袋体付き排水パイプ
29日前
株式会社大林組
CO2固定量測定方法
1か月前
株式会社大林組
改良土の品質管理方法
2か月前
株式会社大林組
継手装置及び複合支持杭
1か月前
株式会社大林組
防水シート及び防水構造
2か月前
株式会社大林組
建物の構築方法及び建物
29日前
株式会社大林組
クレーンの自動運転装置
15日前
株式会社大林組
多孔質部材の漏洩検知方法
29日前
株式会社大林組
建設用溶接方法及び建設物
1か月前
続きを見る
他の特許を見る