TOP
|
特許
|
意匠
|
商標
特許ウォッチ
Twitter
他の特許を見る
公開番号
2025155015
公報種別
公開特許公報(A)
公開日
2025-10-14
出願番号
2024058329
出願日
2024-03-30
発明の名称
固体電池の製造方法
出願人
本田技研工業株式会社
代理人
個人
,
個人
主分類
H01M
10/0585 20100101AFI20251003BHJP(基本的電気素子)
要約
【課題】正極層に当接する固体電解質層の正極層との接合性を向上できる固体電池の製造方法を提供すること。
【解決手段】固体電解質層-正極層積層体を形成する積層体形成工程を含み、積層体形成工程は、正極層における正極活物質層上に第1の固体電解質層を転写してプレスする転写プレス工程と、第1の固体電解質層が転写された正極層及び第1の固体電解質層を加圧する第1加圧工程と、第1加圧工程の後に、第1の固体電解質層上に第2の固体電解質層を配置して加圧する第2加圧工程と、を備え、転写プレス工程におけるプレス圧力は、第1加圧工程におけるプレス圧力よりも小さく、第1の固体電解質層が含有するバインダの含有量は、第2の固体電解質層が含有するバインダの含有量以上である、固体電池の製造方法。
【選択図】図2A
特許請求の範囲
【請求項1】
固体電池の製造方法であって、
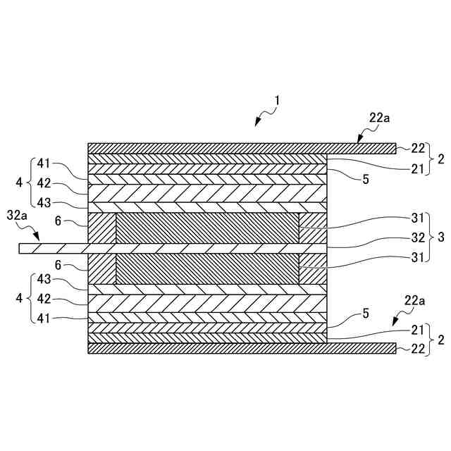
正極集電体層と正極活物質層とを含む正極層と、固体電解質層を前記正極活物質層上に積層させて固体電解質層-正極層積層体を形成する積層体形成工程を含み、
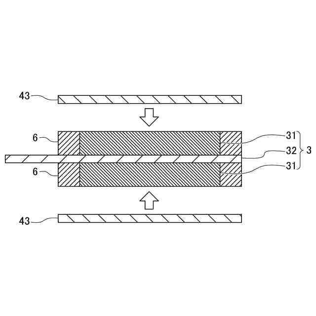
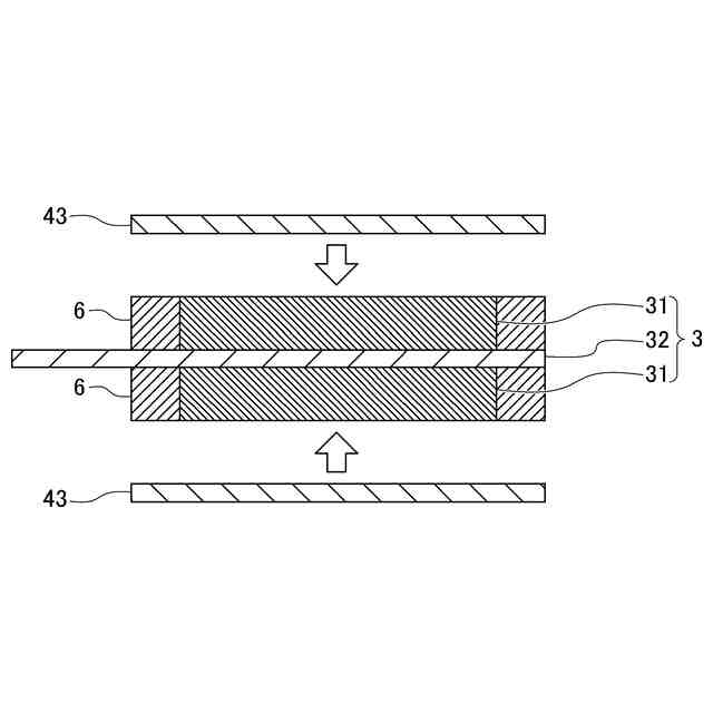
前記積層体形成工程は、前記正極層における前記正極活物質層上に第1の固体電解質層を転写してプレスする転写プレス工程と、
前記第1の固体電解質層が転写された前記正極層及び前記第1の固体電解質層を加圧する第1加圧工程と、
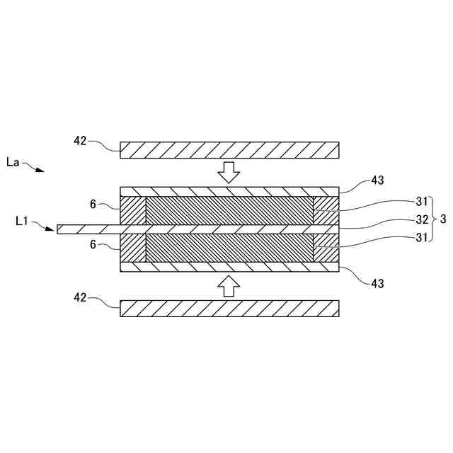
前記第1加圧工程の後に、前記第1の固体電解質層上に第2の固体電解質層を配置して加圧する第2加圧工程と、を備え、
前記転写プレス工程におけるプレス圧力は、前記第1加圧工程におけるプレス圧力よりも小さく、
前記第1の固体電解質層が含有するバインダの含有量は、前記第2の固体電解質層が含有するバインダの含有量以上である、固体電池の製造方法。
続きを表示(約 490 文字)
【請求項2】
前記転写プレス工程におけるプレス圧力は、前記第2加圧工程におけるプレス圧力よりも小さい、請求項1に記載の固体電池の製造方法。
【請求項3】
前記第1の固体電解質層の厚みは、前記第2の固体電解質層の厚みよりも薄い、請求項1又は2に記載の固体電池の製造方法。
【請求項4】
前記第1の固体電解質層におけるバインダの含有量は、5体積%以上25体積%以下である、請求項1又は2に記載の固体電池の製造方法。
【請求項5】
前記第1の固体電解質層には、フッ素系バインダが含まれる、請求項1又は2に記載の固体電池の製造方法。
【請求項6】
前記第1の固体電解質層の厚みは、3μm以上15μm以下である、請求項1又は2に記載の固体電池の製造方法。
【請求項7】
前記転写プレス工程のプレス圧力は、100MPaである、請求項1又は2に記載の固体電池の製造方法。
【請求項8】
前記第2加圧工程のプレス圧力は、150Mpaである、請求項1又は2に記載の固体電池の製造方法。
発明の詳細な説明
【技術分野】
【0001】
本発明は、固体電池の製造方法に関する。
続きを表示(約 1,300 文字)
【背景技術】
【0002】
近年、より多くの人々が手ごろで信頼でき、持続可能かつ先進的なエネルギーへのアクセスを確保できるようにするため、エネルギーの効率化に貢献する二次電池に関する研究開発が行われている。
【0003】
このような二次電池としては、正極層と負極層との間に固体電解質層が配置された、リチウム金属電池、リチウムイオン二次電池等の固体電池が知られている。
【0004】
固体電池に関する技術としては、負極に隣接した第1固体電解質層と、第1固体電解質層と正極との間に位置する第2固体電解質層とを有し、第1固体電解質層は、第2固体電解質層よりもヤング率が小さい全固体電池に関する技術が知られている(例えば、特許文献1参照)。
【先行技術文献】
【特許文献】
【0005】
特開2022-108202号公報
【発明の概要】
【発明が解決しようとする課題】
【0006】
特許文献1に開示された技術は、固体電解質層と正負極層との界面接触性の劣化を抑制し、自己放電時の電圧低下を抑制することを課題とする。一方で、固体電池の容量を増加させる手段として、正極活物質層を可能な限り厚く形成することが考えられる。厚く形成された正極活物質層はプレスにより緻密化されることが好ましく、この際に、正極活物質層は延伸しやすい。従って、正極活物質層に当接する固体電解質層は、正極活物質層のプレス時の延伸に追従できるように構成し、正極活物質層との接合性が向上されることが好ましい。
【0007】
本発明は、上記に鑑みてなされたものであり、正極層に当接する固体電解質層の正極層との接合性を向上できる固体電池の製造方法を提供することを目的とする。
【課題を解決するための手段】
【0008】
(1) 固体電池の製造方法であって、正極集電体層と正極活物質層とを含む正極層と、固体電解質層を前記正極活物質層上に積層させて固体電解質層-正極層積層体を形成する積層体形成工程を含み、前記積層体形成工程は、前記正極層における前記正極活物質層上に第1の固体電解質層を転写してプレスする転写プレス工程と、前記第1の固体電解質層が転写された前記正極層及び前記第1の固体電解質層を加圧する第1加圧工程と、前記第1加圧工程の後に、前記第1の固体電解質層上に第2の固体電解質層を配置して加圧する第2加圧工程と、を備え、前記転写プレス工程におけるプレス圧力は、前記第1加圧工程におけるプレス圧力よりも小さく、前記第1の固体電解質層が含有するバインダの含有量は、前記第2の固体電解質層が含有するバインダの含有量以上である、固体電池の製造方法。
【0009】
(1)の発明によれば、正極層に当接する固体電解質層の正極層との接合性を向上できる固体電池の製造方法を提供できる。
【0010】
(2) 前記転写プレス工程におけるプレス圧力は、前記第2加圧工程におけるプレス圧力よりも小さい、(1)に記載の固体電池の製造方法。
(【0011】以降は省略されています)
この特許をJ-PlatPat(特許庁公式サイト)で参照する
関連特許
本田技研工業株式会社
飛行体
2日前
本田技研工業株式会社
回転電機
4日前
本田技研工業株式会社
灯火器構造
2日前
本田技研工業株式会社
冷却液タンク
9日前
本田技研工業株式会社
蓄電システム
11日前
本田技研工業株式会社
回転電機用ロータ
18日前
本田技研工業株式会社
加水分解処理装置
2日前
本田技研工業株式会社
非接触電力伝送システム
11日前
本田技研工業株式会社
水素同位体分離システム
2日前
本田技研工業株式会社
電力変換装置、および車両
10日前
本田技研工業株式会社
積層体、積層体の製造方法
10日前
本田技研工業株式会社
軟磁性鋼板およびその製造方法
2日前
本田技研工業株式会社
有機物処理装置および有機物処理方法
2日前
本田技研工業株式会社
有機物処理装置および有機物処理方法
2日前
本田技研工業株式会社
電解システムの制御装置および電解システム
3日前
本田技研工業株式会社
音声認識装置、音声認識方法、及びプログラム
4日前
本田技研工業株式会社
三次元モデル生成装置及び三次元モデル評価システム
2日前
株式会社ダイセル
アルミニウム合金製摺動部材用潤滑剤
2日前
本田技研工業株式会社
有機物処理装置、有機物処理方法、および燃料ガスの製造方法
2日前
本田技研工業株式会社
電池の充電状態の補正方法、電池均等化方法、端末機器及び車両
17日前
タイガースポリマー株式会社
二次電池用加圧袋およびその製造方法
2日前
本田技研工業株式会社
熱媒体組み合わせ最適化装置、熱媒体組み合わせ最適化方法、および、熱媒体組み合わせ最適化プログラム
18日前
APB株式会社
蓄電セル
1か月前
東ソー株式会社
絶縁電線
1か月前
日機装株式会社
加圧装置
2日前
マクセル株式会社
電源装置
1か月前
株式会社東芝
端子台
1か月前
ローム株式会社
半導体装置
1か月前
日新イオン機器株式会社
イオン源
2日前
富士電機株式会社
電磁接触器
17日前
株式会社ホロン
冷陰極電子源
1か月前
株式会社GSユアサ
蓄電装置
17日前
株式会社GSユアサ
蓄電装置
1か月前
三菱電機株式会社
回路遮断器
25日前
株式会社GSユアサ
蓄電装置
1か月前
株式会社GSユアサ
蓄電装置
1か月前
続きを見る
他の特許を見る