TOP
|
特許
|
意匠
|
商標
特許ウォッチ
Twitter
他の特許を見る
公開番号
2025154719
公報種別
公開特許公報(A)
公開日
2025-10-10
出願番号
2024057877
出願日
2024-03-29
発明の名称
全固体電池及び電池モジュール
出願人
本田技研工業株式会社
代理人
個人
,
個人
主分類
H01M
10/0585 20100101AFI20251002BHJP(基本的電気素子)
要約
【課題】圧力のばらつきが小さい全固体電池を提供すること。
【解決手段】正極層、負極層、及び前記正極層と前記負極層との間に配置される固体電解質層をそれぞれ有する複数の電極積層体と、前記電極積層体の間に配設される弾性シートと、を備え、前記複数の電極積層体の一部は、隣接する前記電極積層体に直接当接し、前記弾性シートのヤング率は、30MPa以下である、全固体電池。
【選択図】図2
特許請求の範囲
【請求項1】
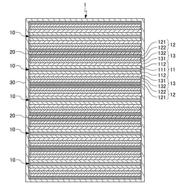
正極層、負極層、及び前記正極層と前記負極層との間に配置される固体電解質層をそれぞれ有する複数の電極積層体と、前記電極積層体の間に配設される弾性シートと、を備え、
前記複数の電極積層体の一部は、隣接する前記電極積層体に直接当接し、
前記弾性シートのヤング率は、30MPa以下である、全固体電池。
続きを表示(約 300 文字)
【請求項2】
前記弾性シートの数は、2以上かつ前記電極積層体の数の半分未満である、請求項1に記載の全固体電池。
【請求項3】
前記弾性シートのヤング率は、15MPa以上20MPa以下である、請求項1又は2に記載の全固体電池。
【請求項4】
複数の請求項1又は2に記載の全固体電池と、前記全固体電池を厚み方向に拘束する拘束圧力を印加する加圧機構と、を備え、
前記加圧機構による拘束圧力が、3.0MPa以下である、電池モジュール。
【請求項5】
前記加圧機構による拘束圧力が、0.5MPa以上2.0MPa以下である、請求項4に記載の電池モジュール。
発明の詳細な説明
【技術分野】
【0001】
本発明は、全固体電池及び電池モジュールに関する。
続きを表示(約 1,200 文字)
【背景技術】
【0002】
近年、より多くの人々が手ごろで信頼でき、持続可能かつ先進的なエネルギーへのアクセスを確保できるようにするため、エネルギーの効率化に貢献する二次電池に関する研究開発が行われている。二次電池の中でも、正極、固体電解質及び負極を積層してなる複数の電極積層体を積層してなる全固体電池が有望視されている。
【0003】
全固体電池では、電極への金属等の析出による性能の低下や短絡等の不具合の発生を防止するため、複数の二次電池を電極の厚み方向に積層し、全固体電池の積層体を厚み方向に加圧(拘束)することで、局所的な析出等を抑制する構成が広く採用されている(例えば特許文献1)。
【先行技術文献】
【特許文献】
【0004】
特開2022-67647号公報
【発明の概要】
【発明が解決しようとする課題】
【0005】
ところで、全固体電池に関する技術においては、全固体電池を均一な圧力で加圧することが望まれる。特許文献2には、電極積層体の間に厚み方向に圧縮可能な弾性を有するパッドを配置し、電極の厚み変化を吸収する技術が記載されている。しかしながら、厚みの小さい多数の電極積層体を積層した全固体電池では、電極の厚み変化を吸収する部材による電池全体の厚みの増大が無視できなくなる。このため、全固体電池に作用する圧力のばらつきを小さくしながら、全固体電池の厚みの増大を抑制することが望まれる。
【0006】
本発明は、上記実情に鑑みてなされたものであり、厚みの増大を抑制しつつ、電極積層体に作用する圧力のばらつきが小さい全固体電池及び電池モジュールを提供することを課題とし、延いてはエネルギーの効率化に寄与するものである。
【課題を解決するための手段】
【0007】
(1) 本発明は、正極層、負極層、及び前記正極層と前記負極層との間に配置される固体電解質層をそれぞれ有する複数の電極積層体と、前記電極積層体の間に配設される弾性シートと、を備え、前記複数の電極積層体の一部は、隣接する前記電極積層体に直接当接し、前記弾性シートのヤング率は、30MPa以下である、全固体電池。
【0008】
(1)の全固体電池によれば、比較的ヤング率が小さい少数の弾性シートを用いることで厚みの増大を抑制しながら、全ての電極積層体に作用する圧力のばらつきを抑制することができる。
【0009】
(2)前記弾性シートの数は、2以上かつ前記電極積層体の数の半分未満である、(1)の全固体電池。
【0010】
(2)の全固体電池によれば、電極積層体に作用する圧力のばらつきを十分に抑制しつつ、全固体電池全体の厚みを顕著に小さくできる。
(【0011】以降は省略されています)
この特許をJ-PlatPat(特許庁公式サイト)で参照する
関連特許
本田技研工業株式会社
装置
15日前
本田技研工業株式会社
車両
1日前
本田技研工業株式会社
車両
16日前
本田技研工業株式会社
車両
1日前
本田技研工業株式会社
車両
2日前
本田技研工業株式会社
車両
2日前
本田技研工業株式会社
移動体
3日前
本田技研工業株式会社
飛行体
2日前
本田技研工業株式会社
モータ
12日前
本田技研工業株式会社
排気装置
1日前
本田技研工業株式会社
通知装置
15日前
本田技研工業株式会社
受電装置
10日前
本田技研工業株式会社
排気装置
1日前
本田技研工業株式会社
内燃機関
2日前
本田技研工業株式会社
ロボット
1か月前
本田技研工業株式会社
清掃装置
2日前
本田技研工業株式会社
収容装置
2日前
本田技研工業株式会社
回転機械
1か月前
本田技研工業株式会社
電気部品
2日前
本田技研工業株式会社
電気機器
2日前
本田技研工業株式会社
エンジン
2日前
本田技研工業株式会社
電気機器
2日前
本田技研工業株式会社
除草装置
1日前
本田技研工業株式会社
排気装置
1日前
本田技研工業株式会社
電解装置
23日前
本田技研工業株式会社
制御装置
1日前
本田技研工業株式会社
電気機器
3日前
本田技研工業株式会社
内燃機関
1日前
本田技研工業株式会社
固体電池
1日前
本田技研工業株式会社
会話装置
8日前
本田技研工業株式会社
送電装置
10日前
本田技研工業株式会社
断続装置
10日前
本田技研工業株式会社
固体電池
10日前
本田技研工業株式会社
車両構造
12日前
本田技研工業株式会社
保管装置
10日前
本田技研工業株式会社
保管装置
10日前
続きを見る
他の特許を見る