TOP
|
特許
|
意匠
|
商標
特許ウォッチ
Twitter
他の特許を見る
10個以上の画像は省略されています。
公開番号
2025154329
公報種別
公開特許公報(A)
公開日
2025-10-10
出願番号
2024057256
出願日
2024-03-29
発明の名称
充填率管理装置、及び、充填率管理方法
出願人
パナソニックIPマネジメント株式会社
代理人
弁理士法人栄光事務所
主分類
B65G
1/137 20060101AFI20251002BHJP(運搬;包装;貯蔵;薄板状または線条材料の取扱い)
要約
【課題】各棚の荷物の充填状況を推定する。
【解決手段】棚の収容可能空間に対する物体の充填率を管理する充填率管理方法は、前記棚において複数の時刻のそれぞれで計測した複数の充填率と、前記棚に対する物体の入出庫数とに基づいて、前記物体の1個当たりの充填率に対する影響量を示す充填率影響量を算出する。
【選択図】図5
特許請求の範囲
【請求項1】
棚の収容可能空間に対する物体の充填率を管理する充填率管理装置であって、プロセッサ及びメモリを備え、前記プロセッサは前記メモリと協働して、
前記棚において複数の時刻のそれぞれで計測した複数の充填率と、前記棚に対する物体の入出庫数とに基づいて、前記物体の1個当たりの充填率に対する影響量を示す充填率影響量を算出する、
充填率管理装置。
続きを表示(約 1,200 文字)
【請求項2】
前記複数の時刻は、少なくとも、第1の時刻と、当該第1の時刻の後の第2の時刻とを含み、
前記棚の前記第1の時刻に計測した第1の充填率と、前記棚の前記第2の時刻に計測した第2の充填率と、前記棚の前記第1の時刻から前記第2の時刻までの期間内の物体の入出庫数とに基づいて、前記充填率影響量を算出する、
請求項1に記載の充填率管理装置。
【請求項3】
前記プロセッサは、
前記棚の前記第2の時刻から、前記第2の時刻の後の第3の時刻までの期間内の物体の入出庫数と、前記充填率影響量とに基づいて、前記棚の前記第3の時刻における推定充填率を算出する、
請求項2に記載の充填率管理装置。
【請求項4】
前記プロセッサは、
前記棚の前記第3の時刻における前記推定充填率と、前記棚に対する前記第3の時刻の後に入庫される予定の物体の数である入庫予定数と、前記充填率影響量とに基づいて、前記入庫予定数の物体を前記棚に格納した場合の予測充填率を算出する、
請求項3に記載の充填率管理装置。
【請求項5】
前記プロセッサは、
前記棚の前記第2の時刻に計測した前記第2の充填率と、前記第2の時刻の後に入庫される予定の物体の数である入庫予定数と、前記充填率影響量とに基づいて、前記入庫予定数の物体を前記棚に格納した場合の予測充填率を算出する、
請求項2に記載の充填率管理装置。
【請求項6】
前記プロセッサは、
前記棚を撮影した棚画像と、前記棚の前記推定充填率とを対応付けて表示する、
請求項3に記載の充填率管理装置。
【請求項7】
前記プロセッサは、
前記棚を撮影した棚画像と、前記棚の前記予測充填率とを対応付けて表示する、
請求項4又は5に記載の充填率管理装置。
【請求項8】
前記プロセッサは、
前記予測充填率が所定の閾値未満の棚を、前記入庫される予定の物体の格納先の推奨棚として表示する、
請求項4又は5に記載の充填率管理装置。
【請求項9】
前記プロセッサは、
前記予測充填率が前記所定の閾値未満の棚が存在しない場合、前記入庫される予定の物体の格納先の推奨棚が存在しない旨を表示する、
請求項8に記載の充填率管理装置。
【請求項10】
前記プロセッサは、
前記棚の前回の時刻における推定充填率を用いて、前記棚の今回の時刻における推定充填率を算出し、
前記棚を最後に計測した充填率から、前記棚の今回の時刻における推定充填率の算出までの間に含まれる他の推定充填率の数が、所定の閾値以上である場合、所定の警告を表示する、
請求項3に記載の充填率管理装置。
(【請求項11】以降は省略されています)
発明の詳細な説明
【技術分野】
【0001】
本開示は、充填率管理装置、及び、充填率管理方法に関する。
続きを表示(約 1,800 文字)
【背景技術】
【0002】
特許文献1には、倉庫内に配置された保管棚と、当該保管棚に載置された物品を撮影することで距離画像データを生成して保管棚及び物品の位置及び形状等の表面情報を取得する距離画像測定装置を、倉庫内に設置し、距離画像データに基づき各保管棚の積載空間における物品の占有率、空きスペースの情報である充填状況を取得することが開示されている。
【先行技術文献】
【特許文献】
【0003】
特開2023-142970号公報
国際公開第2022/054497号
【発明の概要】
【発明が解決しようとする課題】
【0004】
特許文献1のように各棚の充填状況を常時計測するためには、すべての棚をカバーできるように大量の距離画像測定装置を設置する必要があり、コストが大きい。また、定期的に距離画像測定装置を用いて各棚の充填状況を計測する場合、コストを低減できるものの、計測後に荷物が入出庫された場合、次回の計測まで各棚の充填状況を把握することができない。
【0005】
本開示の目的は、各棚の荷物の充填状況を推定する技術を提供することにある。
【課題を解決するための手段】
【0006】
本開示は、棚の収容可能空間に対する物体の充填率を管理する充填率管理装置であって、プロセッサ及びメモリを備え、前記プロセッサは前記メモリと協働して、前記棚において複数の時刻のそれぞれで計測した複数の充填率と、前記棚に対する物体の入出庫数とに基づいて、前記物体の1個当たりの充填率に対する影響量を示す充填率影響量を算出する、充填率管理装置を提供する。
【0007】
本開示は、棚の収容可能空間に対する物体の充填率を管理する充填率管理方法であって、前記棚において複数の時刻のそれぞれで計測した複数の充填率と、前記棚に対する物体の入出庫数とに基づいて、前記物体の1個当たりの充填率に対する影響量を示す充填率影響量を算出する、充填率管理方法を提供する。
【0008】
なお、これらの包括的又は具体的な態様は、システム、装置、方法、集積回路、コンピュータプログラム又は記録媒体で実現されてもよく、システム、装置、方法、集積回路、コンピュータプログラム及び記録媒体の任意な組み合わせで実現されてもよい。
【発明の効果】
【0009】
本開示によれば、各棚の荷物の充填状況を推定することができる。
【図面の簡単な説明】
【0010】
実施の形態1に係る計測装置が倉庫内の棚と当該棚に格納されている荷物とを3次元スキャンする動作の概要を説明する模式図
実施の形態1に係る計測システムの構成例を示すブロック図
実施の形態1に係る棚と荷物と計測装置とを横から見た図
実施の形態1に係る棚と荷物を正面から見た図
実施の形態1に係る棚に1種類の荷物Xが格納されている場合における推定充填率の算出方法の一例を説明するための図
実施の形態1に係る棚に2種類の荷物が格納されている場合における推定充填率の算出方法の一例を説明するための図
実施の形態1に係る棚に異形の荷物が格納される場合の推定充填率の算出例を説明するための図
実施の形態1に係る荷物の1個当たりの充填率影響量の算出処理の一例を示すフローチャート
実施の形態1に係る現時点の推定充填率の算出処理の一例を示すフローチャート
実施の形態1に係る予測充填率の算出処理の一例を示すフローチャート
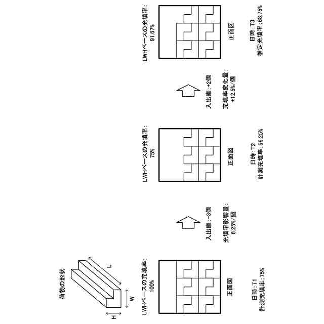
実施の形態1に係る、対象棚に1種類の荷物が格納される場合に推定充填率及び予測充填率を算出する具体例を説明するための図
実施の形態1に係る対象棚に2種類の荷物が格納される場合に推定充填率及び予測充填率を算出する具体例を説明するための図
実施の形態1に係る格納推奨棚の決定方法の一例を示すフローチャート
実施の形態1に係る充填率の表示例を示す図
実施の形態1に係るダッシュボードの表示例を示す図
実施の形態1に係る推定充填率又は予測充填率のイメージを棚画像に重畳して表示する例を示す図
【発明を実施するための形態】
(【0011】以降は省略されています)
この特許をJ-PlatPat(特許庁公式サイト)で参照する
関連特許
個人
収容箱
3か月前
個人
コンベア
4か月前
個人
ゴミ収集器
6か月前
個人
容器
9か月前
個人
段ボール箱
6か月前
個人
段ボール箱
6か月前
個人
宅配システム
6か月前
個人
バンド
1か月前
個人
角筒状構造体
5か月前
個人
土嚢運搬器具
8か月前
個人
楽ちんハンド
4か月前
個人
包装容器
25日前
個人
お薬の締結装置
5か月前
個人
廃棄物収容容器
2か月前
個人
コード類収納具
7か月前
個人
閉塞装置
9か月前
株式会社コロナ
梱包材
5か月前
株式会社バンダイ
物品
6日前
個人
蓋閉止構造
3か月前
個人
蓋閉止構造
3か月前
個人
貯蔵サイロ
6か月前
株式会社和気
包装用箱
8か月前
個人
積み重ね用補助具
2か月前
個人
ゴミ処理機
8か月前
個人
把手付米袋
4か月前
個人
袋入り即席麺
6か月前
株式会社イシダ
搬送装置
6か月前
三甲株式会社
蓋体
9か月前
株式会社新弘
容器
2か月前
株式会社KY7
封止装置
2か月前
個人
搬送システム
6か月前
三甲株式会社
蓋体
7か月前
個人
包装箱
9か月前
個人
輸送積荷用動吸振器
5か月前
個人
介護用コップ
1か月前
個人
コード折り畳み器具
3か月前
続きを見る
他の特許を見る