TOP
|
特許
|
意匠
|
商標
特許ウォッチ
Twitter
他の特許を見る
10個以上の画像は省略されています。
公開番号
2025153701
公報種別
公開特許公報(A)
公開日
2025-10-10
出願番号
2024056312
出願日
2024-03-29
発明の名称
ケーブル用ドラム架台及び当該ドラム架台を用いたケーブルドラムの運搬車両への搭載方法
出願人
株式会社関電工
,
株式会社安田製作所
代理人
個人
,
個人
主分類
B65H
75/00 20060101AFI20251002BHJP(運搬;包装;貯蔵;薄板状または線条材料の取扱い)
要約
【課題】ケーブルドラムやドラム架台を運搬車両に積載又は積み降ろしたりするのを容易にした。
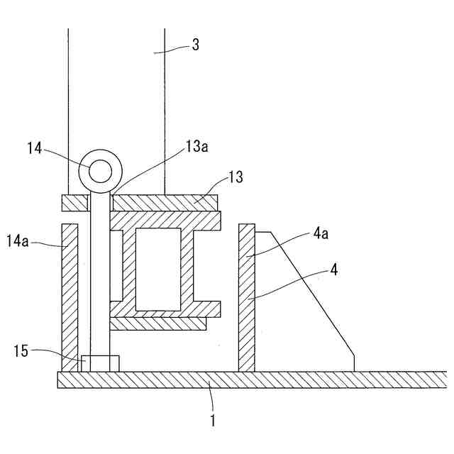
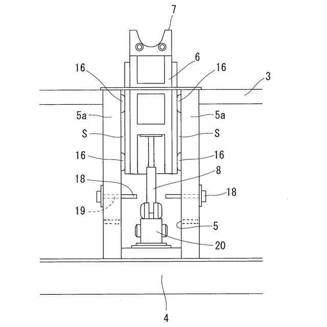
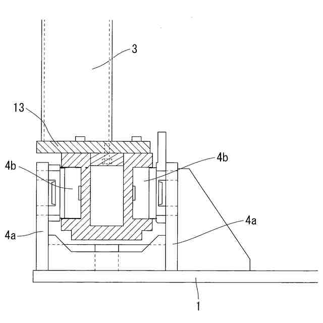
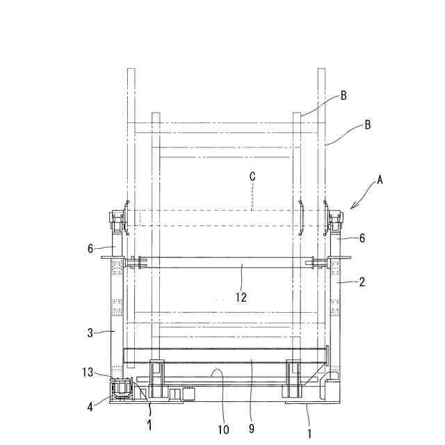
【解決手段】四辺形のベース枠体1の一対の相対向する端縁夫々から側面枠体が起立され、一方の側面枠体は固定側面枠体2、他方の側面枠体は可動側面枠体3とし、前記可動側面枠体3はその下端部が前記ベース枠体1上のレール4に勘合して自立し、当該レール4に沿って摺動自在、固定自在にとなっており、前記固定側面枠体2及び可動側面枠体3の夫々の中央部に設けた縦孔5内上部に、上下方向に摺動自在な軸受け枠体6を嵌め入れ、当該各軸受け枠体6はジャッキ8により上下方向に移動可能となっており、前記ベース枠体1上に、間隔を空けてケーブルドラムの両側の鍔を支持するドラム受け台9を設け、前記固定側面枠体2及び可動側面枠体3の両端上部に、水平方向に回転自在な連結アーム11、12が係止自在に設けられている。
【選択図】図1
特許請求の範囲
【請求項1】
ケーブルドラムを回転自在に支持するドラム架台において、
四辺形のベース枠体の一対の相対向する端縁夫々から側面枠体が起立され、一方の側面枠体は固定側面枠体、他方の側面枠体は可動側面枠体とし、
前記可動側面枠体はその下端部が前記ベース枠体上に設けたレールに勘合して自立し、当該レールに沿って摺動自在、固定自在にとなっており、前記レールの一端は前記ベース枠体の外方まで突出し、
前記固定側面枠体及び可動側面枠体の夫々の中央部に設けた縦孔内上部に、上下方向に摺動自在な軸受け枠体を嵌め入れ、当該各軸受け枠体の上端部に前記ケーブルドラムのドラム軸を支持する軸受けが設けられ、当該各軸受け枠体は前記縦孔の下部に設けたジャッキにより上下方向に移動可能となっており、
これらの固定側面枠体と可動側面枠体を相対向させた位置の前記ベース枠体上に、間隔を空けて、各側面枠体と直交する方向に前記ケーブルドラムの両側の鍔を支持するドラム受け台を設け、
また、前記固定側面枠体の両端上部に、水平方向に回転自在な連結アームの一端を軸支し、各連結アームの他端は、前記可動側面枠体を前記固定枠体と相対向させて固定した状態で当該可動側面枠体の上部に係止自在となっており、
前記可動側面枠体は前記二つのドラム受け台の端面が露出するまで移動可能な構成としたことを特徴とする、ドラム架台。
続きを表示(約 1,000 文字)
【請求項2】
前記固定側面枠体及び可動側面枠体の中央部に設けた縦孔の下部両側の同じ高さの位置に、位置保持ピンが水平方向に縦孔内に夫々突出自在に設けられ、これらの両側の位置保持ピンを縦孔の内側に突出させると、当該位置保持ピンが前記軸受け枠体の下端面に当たり、当該軸受け枠体は下降を阻止される構成としたことを特徴とする、請求項1に記載のドラム架台。
【請求項3】
前記縦孔内で上下方向に移動自在に保持された軸受け枠体の両側面と前記縦孔の両側内側面との間に間隙を有し、前記位置保持ピンの形状がL字型を成し、当該L字型の1片が縦孔の内側面に垂直に軸支され、他片は水平に突出し、前記1片を中心として他片は水平方向に回転自在であり、前記他片を縦孔の両側内側面に当接させると当該位置保持ピンは前記間隙内に収納される構成としたことを特徴とする、請求項2に記載のドラム架台。
【請求項4】
前記可動側面枠体が前記固定側面枠体と対向した位置及び前記可動側面枠体が移動して前記二つのドラム受け台の端面が露出した位置で夫々固定可能とし、当該固定は前記可動側面枠体の下端部の孔からセットピンをレール内に挿入し、当該レール内の固定ナットに螺着することにより固定される構成としたことを特徴とする、請求項1に記載のドラム架台。
【請求項5】
請求項1のドラム架台を用いて、運搬車両にケーブルドラムを積載する方法であって、
運搬車両の荷台に前記ドラク架台を搭載して固定し、前記2つの連結アームの一端を可動側面枠体から夫々外して、固定側面枠体側に回して開き、可動側面枠体を前記レールに沿って、前記2つのドラム受け台の端面が露出するまで移動させ、そこで可動側面枠体を固定し、この状態で、地上に置いてあるケーブルドラムにドラム軸を通し、当該ドラム軸の両端をケーブルドラムの両側から突出させて固定し、当該ケーブルドラムの2つの鍔をフォークリフトの爪上に載せ、この状態でケーブルドラムを持ち上げ、フォークリフトを移動させて、前記運搬車両の荷台に載ったドラム架台の二つのドラム受け台に前記ケーブルドラムの鍔を載せ、前記フォークリフトの爪をケーブルドラムの鍔から外し、前記可動側面枠体をレールに沿って移動させ、前記固定側面枠体と相対向する位置で当該可動側面枠体を固定させ、その後2つの連結アームの一端を夫々可動側面枠体の上部端部に係止することを特徴とする、ケーブルドラムの運搬車両への積載方法。
発明の詳細な説明
【技術分野】
【0001】
この発明は、主に地中送電用ケーブルのドラム架台及び当該ドラム架台を用いたケーブルドラムをトラック等の運搬車両の荷台に搭載する方法に関するものである。
続きを表示(約 2,000 文字)
【背景技術】
【0002】
従来の地中送電線用ケーブルは、電線メーカー工場でドラムに巻き付け、電線メーカーの手配による運送会社の運搬車両に装備された架台装置に前記ケーブルドラムを載せて、工事現場までケーブルドラムを搬送し、前記工事現場で運搬車両に装備されたドラム架台から前記ケーブルを繰り出し、地中に埋設する。
【0003】
一方、工事現場が離れている場合や直ぐに工事に取りかかれない場合は、一旦、工事現場に近い集積所にケーブルドラムを降ろして集積する。その際は集積所のクレーンを使用して車両から前記ケーブルドラムを降ろしたり、他の車両に搭載するため、前記クレーンでケーブルドラムを吊り上げたりする。また、前記集積所がレンタル倉庫の場合があり、当該レンタル倉庫には天井がありラフタークレーンが使用できないことがある。
【0004】
特許文献1はその一例を示すもので、図3はドラム運搬具1を、ケーブルドラム2を搭載した状態で、トラック等の運搬車両に搭載する状況を示す説明図であり、ケーブルドラム2をドラム運搬具1に搭載する際には、トラック等の運搬車両に搭載されたクレーンCRを用いて先ずケーブルドラム2をドラム支持部材3とともにワイヤWを掛けて吊り上げ、これを降ろしてドラム運搬具1にセットするが、セットが完了した時点で再びクレーンで吊り上げると、ドラム運搬具1ごと吊り上げることができ、そのまま運搬車両に積載することができることが記載されている。
【0005】
また、特許文献2の更生管運搬用コンテナ装置」は、ケーブルドラムの架台ではないが、埋設管の内壁にライニングされる更生管をドラムに巻き付けてなる更生管巻き付け体を貨物自動車で運搬するに際し、図9に示すように、更生管巻き付け体をクレーンで吊り上げて貨物自動車の荷台に設けたドラム架台に搭載する構成が開示されている。
【先行技術文献】
【特許文献】
【0006】
実用新案登録第3143128号公報
特開2018-203341号公報
【発明の開示】
【発明が解決しようとする課題】
【0007】
しかしながら、前記特許文献1及び2のように、ケーブルドラムやドラム架台等をトラック等の運搬車両に積載するのにクレーンを使用して吊り上げたり吊り下げたりしなければならないのは作業に手間がかかるとともに、クレーン設備を有しない場所では上記ケーブルドラムやドラム架台を運搬車両に積載や運搬車両からの積み下ろしができず、不便である。
【0008】
そこでこの発明は上述の課題を解決するため、ケーブルドラムやドラム架台を運搬車両に積載又は積み降ろしたりするのに、フォークリフトを使用できるドラム架台及び当該ドラム架台を用いた、運搬車両へのケーブルドラムの積載方法を提供することを目的としたものである。
【課題を解決するための手段】
【0009】
請求項1の発明は、ケーブルドラムを回転自在に支持するドラム架台において、四辺形のベース枠体の一対の相対向する端縁夫々から側面枠体が起立され、一方の側面枠体は固定側面枠体、他方の側面枠体は可動側面枠体とし、前記可動側面枠体はその下端部が前記ベース枠体上に設けたレールに勘合して自立し、当該レールに沿って摺動自在、固定自在にとなっており、前記レールの一端は前記ベース枠体の外方まで突出し、前記固定側面枠体及び可動側面枠体の夫々の中央部に設けた縦孔内上部に、上下方向に摺動自在な軸受け枠体を嵌め入れ、当該各軸受け枠体の上端部に前記ケーブルドラムのドラム軸を支持する軸受けが設けられ、当該各軸受け枠体は前記縦孔の下部に設けたジャッキにより上下方向に移動可能となっており、これらの固定側面枠体と可動側面枠体を相対向させた位置の前記ベース枠体上に、間隔を空けて、各側面枠体と直交する方向に前記ケーブルドラムの両側の鍔を支持するドラム受け台を設け、また、前記固定側面枠体の両端上部に、水平方向に回転自在な連結アームの一端を軸支し、各連結アームの他端は、前記可動側面枠体を前記固定枠体と相対向させて固定した状態で当該可動側面枠体の上部に係止自在となっており、前記可動側面枠体は前記二つのドラム受け台の端面が露出するまで移動可能な構成とした、ドラム架台とした。
【0010】
また、請求項2の発明は、前記固定側面枠体及び可動側面枠体の中央部に設けた縦孔の下部両側の同じ高さの位置に、位置保持ピンが水平方向に縦孔内に夫々突出自在に設けられ、これらの両側の位置保持ピンを縦孔の内側に突出させると、当該位置保持ピンが前記軸受け枠体の下端面に当たり、当該軸受け枠体は下降を阻止される構成とした、請求項1に記載のドラム架台とした。
(【0011】以降は省略されています)
この特許をJ-PlatPat(特許庁公式サイト)で参照する
関連特許
個人
収容箱
4か月前
個人
束ね具
12日前
個人
コンベア
6か月前
個人
段ボール箱
7か月前
個人
容器
10か月前
個人
段ボール箱
8か月前
個人
ゴミ収集器
7か月前
個人
テープ引出機
12日前
個人
土嚢運搬器具
9か月前
個人
宅配システム
7か月前
個人
バンド
3か月前
個人
角筒状構造体
6か月前
個人
楽ちんハンド
5か月前
個人
コード類収納具
9か月前
個人
棒状体収容容器
16日前
個人
廃棄物収容容器
3か月前
個人
お薬の締結装置
6か月前
個人
包装容器
2か月前
個人
積み重ね用補助具
3か月前
個人
蓋閉止構造
4か月前
個人
把手付米袋
5か月前
個人
蓋閉止構造
4か月前
株式会社バンダイ
物品
1か月前
株式会社コロナ
梱包材
6か月前
株式会社和気
包装用箱
9か月前
株式会社和気
包装用箱
26日前
個人
貯蔵サイロ
8か月前
個人
ゴミ処理機
10か月前
個人
介護用コップ
3か月前
個人
搬送システム
7か月前
個人
コード折り畳み器具
5か月前
三甲株式会社
蓋体
8か月前
株式会社新弘
容器
3か月前
株式会社イシダ
搬送装置
7か月前
個人
輸送積荷用動吸振器
7か月前
個人
袋入り即席麺
8か月前
続きを見る
他の特許を見る