TOP
|
特許
|
意匠
|
商標
特許ウォッチ
Twitter
他の特許を見る
10個以上の画像は省略されています。
公開番号
2025153690
公報種別
公開特許公報(A)
公開日
2025-10-10
出願番号
2024056296
出願日
2024-03-29
発明の名称
多層体、多層体の製造方法、プリント配線板、半導体装置、および、プリント配線板の製造方法
出願人
三菱瓦斯化学株式会社
代理人
弁理士法人特許事務所サイクス
主分類
H05K
3/46 20060101AFI20251002BHJP(他に分類されない電気技術)
要約
【課題】伝送損失およびスキューの低減を達成可能な多層体、ならびに、多層体、多層体の製造方法、プリント配線板、半導体装置、および、プリント配線板の製造方法の提供。
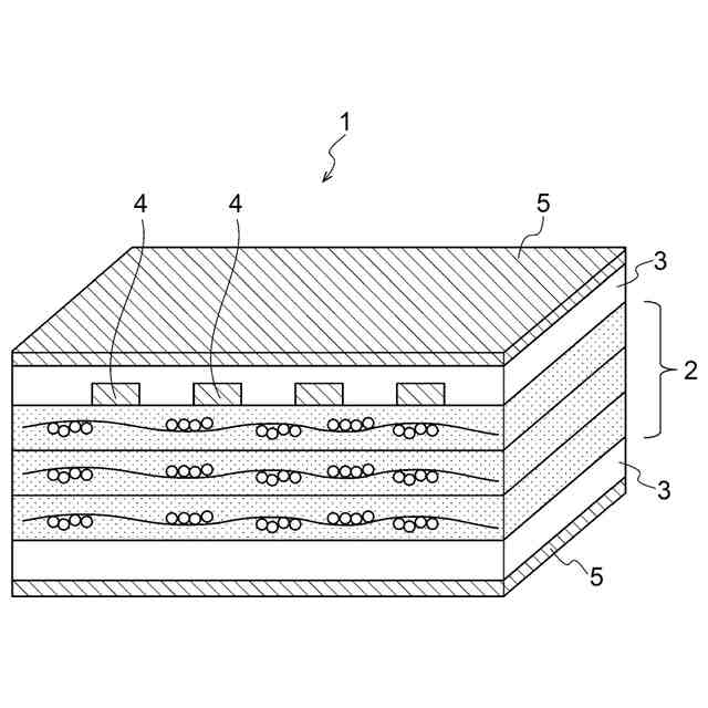
【解決手段】第一の絶縁樹脂層2と、第一の絶縁樹脂層2の表面に設けられた金属配線4と、第一の絶縁樹脂層2の表面に設けられ、かつ、金属配線4を被覆している、第二の絶縁樹脂層3を有し、第二の絶縁樹脂層3の摂動法空洞共振器により測定した周波数10GHzにおける誘電正接が、第一の絶縁樹脂層2の前記誘電正接よりも低い、多層体1。
【選択図】図1
特許請求の範囲
【請求項1】
第一の絶縁樹脂層と、前記第一の絶縁樹脂層の表面に設けられた金属配線と、前記第一の絶縁樹脂層の表面に設けられ、かつ、前記金属配線を被覆している、第二の絶縁樹脂層を有し、前記第二の絶縁樹脂層の摂動法空洞共振器により測定した周波数10GHzにおける誘電正接が、前記第一の絶縁樹脂層の摂動法空洞共振器により測定した周波数10GHzにおける誘電正接よりも低い、多層体。
続きを表示(約 820 文字)
【請求項2】
前記第一の絶縁樹脂層のTMA法(Thermo-mechanical analysis)に準じて測定した熱膨張率が30ppm/℃以下である、請求項1に記載の多層体。
【請求項3】
前記第二の絶縁樹脂層の前記誘電正接と前記第一の絶縁樹脂層の前記誘電正接の差が0.002以上である、請求項1に記載の多層体。
【請求項4】
前記第一の絶縁樹脂層のTMA法(Thermo-mechanical analysis)に準じて測定した熱膨張率が30ppm/℃以下であり、
前記第二の絶縁樹脂層の前記誘電正接と前記第一の絶縁樹脂層の前記誘電正接の差が0.002以上である、請求項1に記載の多層体。
【請求項5】
前記第一の絶縁樹脂層は、繊維基材を含む、請求項1~4のいずれか1項に記載の多層体。
【請求項6】
前記第一の絶縁樹脂層は、熱硬化性化合物を含む樹脂組成物(1)と繊維基材とから形成された層である、請求項1~4のいずれか1項に記載の多層体。
【請求項7】
前記第二の絶縁樹脂層は繊維基材を含まない、請求項1~4のいずれか1項に記載の多層体。
【請求項8】
前記第二の絶縁樹脂層は、樹脂組成物(2)から形成された層であって、
前記樹脂組成物(2)は、熱硬化性化合物を含み、充填材の含有量が樹脂組成物(2)に含まれる樹脂固形分の質量の0~40質量%である、請求項7に記載の多層体。
【請求項9】
前記第一の絶縁樹脂層の両面に、前記第二の絶縁樹脂層が接するように配置された、請求項1~4のいずれか1項に記載の多層体。
【請求項10】
前記第二の絶縁樹脂層の前記第一の絶縁樹脂層の反対側の面に接するように金属箔がさらに配置された、請求項9に記載の多層体。
(【請求項11】以降は省略されています)
発明の詳細な説明
【技術分野】
【0001】
本発明は、多層体、多層体の製造方法、プリント配線板、半導体装置、および、プリント配線板の製造方法に関する。
続きを表示(約 4,600 文字)
【背景技術】
【0002】
近年、スマートフォンに代表される各種電子機器の軽薄短小化およびデータ通信量の増加が急速に進んでいる。このような中、電子機器に用いられるプリント配線板の高周波対応が一層進められている。
このようなプリント配線板について検討した例としては、特許文献1等がある。特許文献1には、第1樹脂層と、前記第1樹脂層の両面に設けられた第2樹脂層とを備え、前記第1樹脂層は、ガラスクロスに含浸された、六方晶窒化ホウ素を含有しない第1樹脂組成物の半硬化物であり、前記第2樹脂層は、六方晶窒化ホウ素を含有する第2樹脂組成物の半硬化物であり、前記ガラスクロスの縦および横の織り密度が54本以上/25mmであり、前記六方晶窒化ホウ素の平均粒子径が10~30μmであり、前記第2樹脂組成物から前記六方晶窒化ホウ素を除いた残りの成分100質量部に対して、前記六方晶窒化ホウ素が20~40質量部含有されていることを特徴とするプリプレグ、ならびに、金属張積層板およびプリント配線板が開示されている。
【先行技術文献】
【特許文献】
【0003】
特開2017-170748号公報
【発明の概要】
【発明が解決しようとする課題】
【0004】
上記特許文献1には、上記特許文献1に記載のプリプレグ等を用いることにより、比誘電率を低減することができると記載されている。しかしながら、伝送損失については、検討がなされていない。一方、伝送損失およびスキューの低減は、各種電子機器の軽薄短小化およびデータ通信量の急速な増加に対し、最も求められる性能である。
本発明は、かかる課題を目的とするものであって、伝送損失およびスキューを達成可能な多層体、ならびに、多層体、多層体の製造方法、プリント配線板、半導体装置、および、プリント配線板の製造方法を提供することを目的とする。
【課題を解決するための手段】
【0005】
上記課題のもと、本発明者が検討を行った結果、絶縁樹脂層の表面に、金属配線を設け、さらに、前記金属配線を被覆するように、前記絶縁樹脂層よりも、さらに誘電正接が低い絶縁樹脂層を設けた多層体を用いることにより、上記課題を解決しうることを見出した。
具体的には、下記手段により、上記課題は解決された。
<1>第一の絶縁樹脂層と、前記第一の絶縁樹脂層の表面に設けられた金属配線と、前記第一の絶縁樹脂層の表面に設けられ、かつ、前記金属配線を被覆している、第二の絶縁樹脂層を有し、前記第二の絶縁樹脂層の摂動法空洞共振器により測定した周波数10GHzにおける誘電正接が、前記第一の絶縁樹脂層の摂動法空洞共振器により測定した周波数10GHzにおける誘電正接よりも低い、多層体。
<2>前記第一の絶縁樹脂層のTMA法(Thermo-mechanical analysis)に準じて測定した熱膨張率が30ppm/℃以下である、<1>に記載の多層体。
<3>前記第二の絶縁樹脂層の前記誘電正接と前記第一の絶縁樹脂層の前記誘電正接の差が0.002以上である、<1>または<2>に記載の多層体。
<4>前記第一の絶縁樹脂層のTMA法(Thermo-mechanical analysis)に準じて測定した熱膨張率が30ppm/℃以下であり、
前記第二の絶縁樹脂層の前記誘電正接と前記第一の絶縁樹脂層の前記誘電正接の差が0.002以上である、<1>~<3>のいずれか1つに記載の多層体。
<5>前記第一の絶縁樹脂層は、繊維基材を含む、<1>~<4>のいずれか1つに記載の多層体。
<6>前記第一の絶縁樹脂層は、熱硬化性化合物を含む樹脂組成物(1)と繊維基材とから形成された層である、<1>~<5>のいずれか1つに記載の多層体。
<7>前記第二の絶縁樹脂層は繊維基材を含まない、<1>~<6>のいずれか1つに記載の多層体。
<8>前記第二の絶縁樹脂層は、樹脂組成物(2)から形成された層であって、
前記樹脂組成物(2)は、熱硬化性化合物を含み、充填材の含有量が樹脂組成物(2)に含まれる樹脂固形分の質量の0~40質量%である、<7>に記載の多層体。
<9>前記第一の絶縁樹脂層の両面に、前記第二の絶縁樹脂層が接するように配置された、<1>~<8>のいずれか1つに記載の多層体。
<10>前記第二の絶縁樹脂層の前記第一の絶縁樹脂層の反対側の面に接するように金属箔がさらに配置された、<9>に記載の多層体。
<11>前記第一の絶縁樹脂層のTMA法(Thermo-mechanical analysis)に準じて測定した熱膨張率が30ppm/℃以下であり、
前記第二の絶縁樹脂層の前記誘電正接と前記第一の絶縁樹脂層の前記誘電正接の差が0.002以上であり、
前記第一の絶縁樹脂層は、熱硬化性化合物を含む樹脂組成物(1)と繊維基材とから形成された層であり、
前記第二の絶縁樹脂層は繊維基材を含まず、
前記第二の絶縁樹脂層は、樹脂組成物(2)から形成された層であって、
前記樹脂組成物(2)は、熱硬化性化合物を含み、充填材の含有量が樹脂組成物(2)に含まれる樹脂固形分の質量の0~40質量%であり、
前記第一の絶縁樹脂層の両面に、前記第二の絶縁樹脂層が接するように配置されており、
前記第二の絶縁樹脂層の前記第一の絶縁樹脂層の反対側の面に接するように金属箔がさらに配置されている、
<1>~<11>のいずれか1つに記載の多層体。
<12>前記第一の絶縁樹脂層は、樹脂組成物(1)と繊維基材とから形成された層であり、前記樹脂組成物(1)は硬化状態であり、
前記第二の絶縁樹脂層は、樹脂組成物(2)から形成された層であり、前記樹脂組成物(2)は硬化状態であり、
前記樹脂組成物(1)が、熱硬化性化合物を含み、
前記樹脂組成物(2)が、熱硬化性化合物を含み、充填材の含有量が樹脂組成物(2)に含まれる樹脂固形分の質量の0~40質量%である、<1>~<11>のいずれか1つに記載の多層体。
<13>第一の絶縁樹脂層の表面に金属配線を設けること、
前記第一の絶縁樹脂層の表面であって、かつ、前記金属配線を被覆するように、第二の絶縁樹脂層を設けることを含む、<1>~<12>のいずれか1つに記載の多層体の製造方法。
<14>前記第一の絶縁樹脂層の表面に金属配線を設ける際に、前記第一の絶縁樹脂層の金属配線を設ける側と反対側の面上に金属箔が設けられている、<13>に記載の多層体の製造方法。
<15>前記第一の絶縁樹脂層の表面に金属配線を設けた後に、前記第一の絶縁樹脂層の金属配線を設ける側と反対側の面上の金属箔を除去し、前記第一の絶縁樹脂層の金属配線が設けられていない側の表面に、金属配線を設けること、または、第二の絶縁樹脂層を設けることを含む、<14>に記載の多層体の製造方法。
<16><1>~<12>のいずれか1つに記載の多層体を含む、プリント配線板。
<17><16>に記載のプリント配線板を含む、半導体装置。
<18><13>~<15>のいずれか1つに記載の多層体の製造方法を含む、プリント配線板の製造方法。
【発明の効果】
【0006】
本発明により、伝送損失およびスキューの低減を達成可能な多層体、ならびに、多層体、多層体の製造方法、プリント配線板、半導体装置、および、プリント配線板の製造方法を提供可能になった。
【図面の簡単な説明】
【0007】
図1は、実施形態の多層体(金属箔張積層板)の一例を示す概略図である。
図2は、本実施形態の多層体の他の一例を示す概略図である。
図3は、本実施形態の多層体の製造方法を示す概略図である。
【発明を実施するための形態】
【0008】
以下、本発明を実施するための形態(以下、単に「本実施形態」という)について詳細に説明する。なお、以下の本実施形態は、本発明を説明するための例示であり、本発明は本実施形態のみに限定されない。
なお、本明細書において「~」とはその前後に記載される数値を下限値および上限値として含む意味で使用される。また、本明細書における数値の上限値と下限値は、前記上限値と下限値のいずれの組み合わせについても、本実施形態の一例として挙げられる。
本明細書において、各種物性値および特性値は、特に述べない限り、23℃におけるものとする。
本明細書における基(原子団)の表記において、置換および無置換を記していない表記は、置換基を有さない基(原子団)と共に置換基を有する基(原子団)をも包含する。例えば、「アルキル基」とは、置換基を有さないアルキル基(無置換アルキル基)のみならず、置換基を有するアルキル基(置換アルキル基)をも包含する。本明細書では、置換および無置換を記していない表記は、無置換の方が好ましい。
本明細書における置換基の例としては、ハロゲン原子、シアノ基、ニトロ基、ヒドロキシ基、アルキル基、アルコキシ基、アリール基、アリールオキシ基、複素環基、複素環オキシ基、アルケニル基、アルキルスルファニル基、アリールスルファニル基、アシル基、またはアミノ基であることが好ましく、ハロゲン原子、アルキル基、アルコキシ基、アリール基、アリールオキシ基、アルケニル基、またはアシル基であることがより好ましく、アルキル基、アリール基、アリールオキシ基、またはアルケニル基であることがさらに好ましく、アルキル基であることが一層好ましい。これらの置換基の式量は、15以上であることが好ましく、また、200以下であることが好ましい。式量とは、例えば、メチル基(-CH
3
)であれば、15である。これらの置換基はさらに置換基を有していてもよいが、置換基を有していない方が好ましい。
【0009】
本明細書において、「(メタ)アリル」は、アリルおよびメタアリルの双方、または、いずれかを表し、「(メタ)アクリル」は、アクリルおよびメタクリルの双方、または、いずれかを表す。
【0010】
本明細書において「工程」との語は、独立した工程だけではなく、他の工程と明確に区別できない場合であってもその工程の所期の作用が達成されれば、本用語に含まれる。
本明細書で示す規格で説明される測定方法等が年度によって異なる場合、特に述べない限り、2023年1月1日時点における規格に基づくものとする。
本明細書で示す規格で説明される測定方法等が2023年1月1日時点で廃止となっている場合、廃止時点の規格に基づくものとする。
図1~図3は、縮尺度などは実際と整合していないこともある。
(【0011】以降は省略されています)
この特許をJ-PlatPat(特許庁公式サイト)で参照する
関連特許
三菱瓦斯化学株式会社
硬化性組成物
3日前
三菱瓦斯化学株式会社
細胞老化抑制剤
1か月前
三菱瓦斯化学株式会社
リン酸化多糖水溶液の製造方法
5日前
三菱瓦斯化学株式会社
リン酸化多糖水溶液の製造方法
5日前
三菱瓦斯化学株式会社
切削加工補助材及び切削加工方法
1か月前
三菱瓦斯化学株式会社
化合物の製造方法、および、化合物
1か月前
三菱瓦斯化学株式会社
イミダゾピロロキノリンアルカリ金属塩の製造方法
1か月前
三菱瓦斯化学株式会社
フォトレジスト除去用組成物およびフォトレジストの除去方法
5日前
三菱瓦斯化学株式会社
樹脂組成物、硬化物、プリプレグ、樹脂複合シート、プリント配線板、および、半導体装置
6日前
三菱瓦斯化学株式会社
多層体、多層体の製造方法、プリント配線板、半導体装置、および、プリント配線板の製造方法
1か月前
三菱瓦斯化学株式会社
医療機器洗浄用過酢酸組成物及びその製造方法
1か月前
三菱瓦斯化学株式会社
フィルム、多層体、および、透明導電性フィルム
1か月前
三菱瓦斯化学株式会社
樹脂組成物、硬化物、プリプレグ、金属箔張積層板、樹脂シート、および、プリント配線板
3日前
三菱瓦斯化学株式会社
光学材料用の熱可塑性樹脂組成物、成形体、配合剤、熱可塑性樹脂組成物の製造方法及び透過率向上方法
1か月前
個人
電子部品の実装方法
1か月前
日本精機株式会社
回路基板
2か月前
愛知電機株式会社
装柱金具
1か月前
個人
非衝突型ガウス加速器
2か月前
個人
電気式バーナー
24日前
イビデン株式会社
配線基板
1か月前
アイホン株式会社
電気機器
2か月前
日本放送協会
基板固定装置
2か月前
個人
節電材料
3か月前
キヤノン株式会社
電子機器
1か月前
アイホン株式会社
電気機器
1か月前
メクテック株式会社
配線基板
2か月前
東レ株式会社
霧化状活性液体供給装置
2か月前
個人
静電気中和除去装置
11日前
FDK株式会社
基板
1か月前
イビデン株式会社
配線基板
3か月前
イビデン株式会社
プリント配線板
2か月前
イビデン株式会社
プリント配線板
3か月前
シャープ株式会社
加熱機器
17日前
株式会社デンソー
電子装置
4日前
サクサ株式会社
開き角度規制構造
1か月前
株式会社デンソー
電子装置
1か月前
続きを見る
他の特許を見る