TOP
|
特許
|
意匠
|
商標
特許ウォッチ
Twitter
他の特許を見る
10個以上の画像は省略されています。
公開番号
2025153677
公報種別
公開特許公報(A)
公開日
2025-10-10
出願番号
2024056282
出願日
2024-03-29
発明の名称
セメント造形物の補強ワイヤ
出願人
トクセン工業株式会社
代理人
弁理士法人有古特許事務所
主分類
B28B
23/02 20060101AFI20251002BHJP(セメント,粘土,または石材の加工)
要約
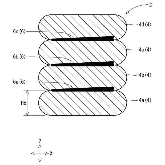
【課題】強度に優れたセメント造形物2の提供。
【解決手段】セメント造形物は、第一セメント硬化層4a、第二セメント硬化層4b、第三セメント硬化層4c及び第四セメント硬化層4dを有している。セメント造形物はさらに、第一補強ワイヤ6a、第二補強ワイヤ6b及び第三補強ワイヤ6cを有している。第一補強ワイヤ6aは、第一セメント硬化層4a及び第二セメント硬化層4bの境界に位置している。第二補強ワイヤ6bは、第二セメント硬化層4b及び第三セメント硬化層4cの境界に位置している。第三補強ワイヤ6cは、第三セメント硬化層4c及び第四セメント硬化層4dの境界に位置している。それぞれの補強ワイヤ6は、くせ付けされている。この補強ワイヤでは、幅Wrは高さHrよりも大きい。
【選択図】図3
特許請求の範囲
【請求項1】
くせ付けされており、その幅Wrがその高さHrよりも大きい、セメント造形物の補強ワイヤ。
続きを表示(約 820 文字)
【請求項2】
上記幅Wrに対する上記高さHrの比率が、40%以下である、請求項1に記載の補強ワイヤ。
【請求項3】
コイル形状を有する、請求項1又は2に記載の補強ワイヤ。
【請求項4】
連続する複数のエレメントを有しており、
それぞれのエレメントが、ループとジョイントとを有しており、
上記ループが、平面視において、他のループとオーバーラップしていない、請求項3に記載の補強ワイヤ。
【請求項5】
上記幅Wrに対する上記エレメントのピッチPeの比率が、105%以上500%以下である、請求項4に記載の補強ワイヤ。
【請求項6】
波形状を有する、請求項1又は2に記載の補強ワイヤ。
【請求項7】
上記幅Wrに対する上記波形状のピッチPeの比率が、20%以上500%以下である、請求項6に記載の補強ワイヤ。
【請求項8】
第一セメント硬化層、
上記第一セメント硬化層に積層された第二セメント硬化層、
並びに
上記第一セメント硬化層又は上記第二セメント硬化層に埋もれており、くせ付けされており、その幅Wrがその高さHrよりも大きい補強ワイヤ
を備えた、セメント造形物。
【請求項9】
上記第一セメント硬化層の幅Wcに対する上記補強ワイヤの幅Wrの比率が、40%以上である、請求項8に記載のセメント造形物。
【請求項10】
A:くせ付けされておりその幅Wrがその高さHrよりも大きい補強ワイヤと、第一セメント組成物とを、押し出す工程、
B:第二セメント組成物を押し出して、第一セメント組成物に積層する工程、
並びに
C:上記第一セメント組成物及び上記第二セメント組成物を硬化させる工程
を備えた、セメント造形物の製造方法。
発明の詳細な説明
【技術分野】
【0001】
本明細書は、セメント造形物のための三次元積層造形法に適した、補強ワイヤを開示する。
続きを表示(約 1,100 文字)
【背景技術】
【0002】
鉄筋コンクリート製の建造物として、型枠法が知られている。この型枠法では、まず、型枠内に鉄筋が挿入される。この型枠に、生コンクリートが流し込まれる。この生コンクリートが固化し、建造物が得られる。鉄筋は、コンクリートと一体化する。鉄筋は、建造物を補強する。
【0003】
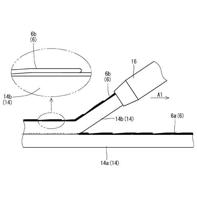
三次元積層造形法によっても、建造物が得られうる。三次元積層造形法では、移動するノズルからセメント組成物が押し出される。ノズルとの干渉を回避する観点から、この造形法では、鉄筋は用いられ得ない。この建造物では、鉄筋による補強はなされ得ない。
【0004】
特開2022-046028公報には、三次元積層造形法によって得られた造形物に適した補強材が、開示されている。この補強材は、セメント組成物を押し出すノズルから、供給される。
【先行技術文献】
【特許文献】
【0005】
特開2022-046028公報
【発明の概要】
【発明が解決しようとする課題】
【0006】
特開2022-046028公報に開示された補強材の補強性能は、不十分である。本出願人の意図するところは、強度に優れたセメント造形物の提供にある。
【課題を解決するための手段】
【0007】
本明細書が開示する、セメント造形物の補強ワイヤは、くせ付けされている。この補強ワイヤでは、幅Wrが高さHrよりも大きい。
【0008】
本明細書が開示するセメント造形物は、
第一セメント硬化層、
上記第一セメント硬化層に積層された第二セメント硬化層、
並びに
上記第一セメント硬化層又は上記第二セメント硬化層に埋もれており、くせ付けされており、その幅Wrがその高さHrよりも大きい補強ワイヤ
を有する。
【0009】
本明細書が開示する、セメント造形物の製造方法は、
A:くせ付けされておりその幅Wrがその高さHrよりも大きい補強ワイヤと、第一セメント組成物とを、押し出す工程、
B:第二セメント組成物を押し出して、第一セメント組成物に積層する工程、
並びに
C:上記第一セメント組成物及び上記第二セメント組成物を硬化させる工程
を含む。
【発明の効果】
【0010】
この補強ワイヤは、セメント造形物の強度を高める。
【図面の簡単な説明】
(【0011】以降は省略されています)
この特許をJ-PlatPat(特許庁公式サイト)で参照する
関連特許
峰岸株式会社
ドリルビット
9か月前
株式会社丸高工業
湿式穿孔工具
8か月前
株式会社大林組
形成方法
10か月前
株式会社大林組
積層材成型方法
2か月前
株式会社大林組
形成方法及び形成装置
9か月前
株式会社コンセック
ワイヤーソー装置
11か月前
個人
石膏板の製造方法
2か月前
株式会社大林組
構造体の製造方法
5か月前
倉敷紡績株式会社
セメント系造形物の製造方法
23日前
倉敷紡績株式会社
セメント系造形物の製造方法
23日前
株式会社大林組
構造体の製造方法
5か月前
株式会社シブヤ
穿孔装置
3か月前
モリ技巧株式会社
コンクリートスラリー処理装置
11か月前
太平洋マテリアル株式会社
軽量繊維層及びその形成方法
22日前
セレンディクス株式会社
建築物の製造方法
3か月前
セレンディクス株式会社
構造物の製造方法
2か月前
株式会社マキタ
作業機
10か月前
株式会社奥村組
積層コンクリート集合体の養生方法
6か月前
芝浦メカトロニクス株式会社
基板分離装置
6か月前
戸田建設株式会社
打設現場におけるスランプの調整方法
5か月前
株式会社Polyuse
造形物の製造方法
9か月前
株式会社Polyuse
構造物の製造方法
9か月前
本多産業株式会社
コンクリート離型剤
3か月前
株式会社エンプラス
流体取扱装置
11か月前
株式会社熊谷組
骨材管理システムおよび骨材管理方法
2か月前
カヤバ株式会社
ミキサドラム制御装置
10か月前
鹿島建設株式会社
フレッシュコンクリートの製造方法
6か月前
カヤバ株式会社
ミキサドラムの制御装置
7か月前
株式会社大林組
構造物形成方法及び構造物形成システム
5か月前
ノリタケ株式会社
ロールコンパクション成形装置
22日前
ノリタケ株式会社
ロールコンパクション成形装置
22日前
鹿島建設株式会社
境界ブロックの製作方法および境界ブロック
4か月前
株式会社冨士機
生コンクリート製造プラント
10か月前
株式会社エコシステム
混合ユニット、及び、混練物製造プラント
1か月前
太平洋マテリアル株式会社
吹付用ノズル
29日前
カヤバ株式会社
ミキサ車及び状態検出装置
23日前
続きを見る
他の特許を見る