TOP
|
特許
|
意匠
|
商標
特許ウォッチ
Twitter
他の特許を見る
10個以上の画像は省略されています。
公開番号
2025153167
公報種別
公開特許公報(A)
公開日
2025-10-10
出願番号
2024055493
出願日
2024-03-29
発明の名称
給紙ユニット、及び印刷装置
出願人
セイコーエプソン株式会社
代理人
個人
,
個人
,
個人
,
個人
主分類
B65H
19/12 20060101AFI20251002BHJP(運搬;包装;貯蔵;薄板状または線条材料の取扱い)
要約
【課題】引出操作に応じてロール紙を巻回体に巻き取らせる場合においてロール紙が撓んでしまうことを抑制することができる給紙ユニットを提供すること。
【解決手段】装着位置及び引出位置の間で、引出方向と平行に摺動可能に筐体に支持され、ロール紙の巻回体を収容可能な給紙トレイと、給紙トレイを装着位置から引出位置へ移動させる引出操作に応じて巻回体を回転させる回転部と、を備え、装着位置は、筐体内において給紙トレイが摺動可能な位置のうち、給紙トレイからロール紙の引き出しが行われる位置であり、引出位置は、筐体内において給紙トレイが摺動可能な位置のうち、装着位置から引出方向へ所定距離離れた位置であり、回転部は、逆回転方向へ巻回体を回転させることにより、巻回体から引き出されているロール紙の一部を巻回体に巻き取らせる、給紙ユニット。
【選択図】図6
特許請求の範囲
【請求項1】
予め決められた装着位置及び引出位置の間で、予め決められた引出方向と平行に摺動可能に筐体に支持され、ロール紙の巻回体を収容可能な給紙トレイと、
前記給紙トレイを前記装着位置から前記引出位置へ移動させる引出操作に応じて前記巻回体を回転させる回転部と、
を備え、
前記装着位置は、前記筐体内において前記給紙トレイが摺動可能な位置のうち、印刷装置によって前記給紙トレイから前記ロール紙の引き出しが行われる位置であり、
前記引出位置は、前記筐体内において前記給紙トレイが摺動可能な位置のうち、前記装着位置から前記引出方向へ所定距離離れた位置であり、
前記回転部は、前記巻回体から前記ロール紙が引き出される場合における前記巻回体の回転方向である順回転方向と反対の逆回転方向へ前記巻回体を回転させることにより、前記巻回体から引き出されている前記ロール紙の一部を前記巻回体に巻き取らせる、
給紙ユニット。
続きを表示(約 1,100 文字)
【請求項2】
前記回転部は、前記巻回体の回転軸と平行な方向における前記巻回体の両端のうちの第1端部に当接可能である、
請求項1に記載の給紙ユニット。
【請求項3】
前記回転部は、
前記第1端部に当接した状態で前記巻回体を前記逆回転方向に回転させる第1回転体と、
前記給紙トレイと前記筐体とのうちの一方に設けられるラックと、
前記給紙トレイと前記筐体とのうちの他方に設けられ、前記ラックと噛み合うことが可能な噛合歯車と、
前記噛合歯車の回転を前記第1回転体に伝達し、前記第1回転体を回転させる第1伝達部と、
を有する、
請求項2に記載の給紙ユニット。
【請求項4】
前記ラックは、前記筐体に設けられ、
前記第1回転体及び前記噛合歯車は、前記給紙トレイに設けられる、
請求項3に記載の給紙ユニット。
【請求項5】
前記第1伝達部は、前記引出方向への前記給紙トレイの移動では、前記噛合歯車の回転を前記第1回転体に伝達し、前記引出方向と反対の装着方向への前記給紙トレイの移動では、前記噛合歯車の回転を前記第1回転体に伝達しない順回転防止機構を有する、
請求項3に記載の給紙ユニット。
【請求項6】
前記ラックは、前記装着位置に前記給紙トレイが位置している場合、前記噛合歯車と噛み合っていない、
請求項3に記載の給紙ユニット。
【請求項7】
前記回転部は、前記第1回転体を前記巻回体に向けて付勢する付勢部を有する、
請求項3に記載の給紙ユニット。
【請求項8】
前記装着位置に位置する前記給紙トレイを前記筐体に対してロックするロック部と、
前記ロック部による前記筐体に対するロックを解除する操作を受け付けるノブと、
を備え、
前記回転部は、
前記第1端部に当接した状態で前記巻回体を前記逆回転方向に回転させる第2回転体と、
操作を受け付けた前記ノブの動作を前記第2回転体に伝達し、前記第2回転体を回転させる第2伝達部と、
を有する、
請求項2に記載の給紙ユニット。
【請求項9】
前記第2伝達部は、前記ロックを解除する操作を受け付けた前記ノブの動作を前記第2回転体に伝達し、前記ロックを解除する操作における前記ノブの動作と反対の前記ノブの動作を前記第2回転体に伝達しない順回転防止機構を有する、
請求項8に記載の給紙ユニット。
【請求項10】
前記回転部は、前記第2回転体を前記巻回体に向けて付勢する付勢部を有する、
請求項8に記載の給紙ユニット。
(【請求項11】以降は省略されています)
発明の詳細な説明
【技術分野】
【0001】
この開示は、給紙ユニット、及び印刷装置に関する。
続きを表示(約 2,100 文字)
【背景技術】
【0002】
印刷媒体に画像を印刷する印刷装置についての研究、開発が行われている。
【0003】
これに関し、ロール紙の巻回体を収容可能な給紙トレイと、給紙トレイを着脱可能に支持する筐体とを備えた給紙ユニットにおいて、巻回体の回転軸と直交する方向に給紙トレイを移動させて筐体から給紙トレイを取り外す動作に連動して、巻回体から引き出されたロール紙を巻回体に向けて送る戻し送り機構を備える給紙ユニットが知られている(特許文献1参照)。
【先行技術文献】
【特許文献】
【0004】
特開2021-054602号公報
【発明の概要】
【発明が解決しようとする課題】
【0005】
ここで、特許文献1に記載されたような給紙ユニットでは、戻し送り機構は、引き出されたロール紙をニップするローラーである。このため、当該給紙ユニットは、引き出されたロール紙を戻すことができる一方、巻回体を回転させることができず、戻した分のロール紙が巻回体に巻き取られずに撓んでしまうことがあった。
【課題を解決するための手段】
【0006】
上記課題を解決するために本開示の一態様は、予め決められた装着位置及び引出位置の間で、予め決められた引出方向と平行に摺動可能に筐体に支持され、ロール紙の巻回体を収容可能な給紙トレイと、前記給紙トレイを前記装着位置から前記引出位置へ移動させる引出操作に応じて前記巻回体を回転させる回転部と、を備え、前記装着位置は、前記筐体内において前記給紙トレイが摺動可能な位置のうち、印刷装置によって前記給紙トレイから前記ロール紙の引き出しが行われる位置であり、前記引出位置は、前記筐体内において前記給紙トレイが摺動可能な位置のうち、前記装着位置から前記引出方向へ所定距離離れた位置であり、前記回転部は、前記巻回体から前記ロール紙が引き出される場合における前記巻回体の回転方向である順回転方向と反対の逆回転方向へ前記巻回体を回転させることにより、前記巻回体から引き出されている前記ロール紙の一部を前記巻回体に巻き取らせる、給紙ユニットである。
【0007】
また、本開示の一態様は、上記に記載の給紙ユニットと、印刷部と、を備え、前記給紙トレイは、前記巻回体に代えて1枚以上のカット紙を収容可能であり、前記印刷部は、前記給紙トレイに収容された前記巻回体から引き出された前記ロール紙、又は、前記カット紙へ画像を印刷する、印刷装置である。
【図面の簡単な説明】
【0008】
第1実施形態に係る印刷装置1の外観の一例を示す斜視図である。
給紙ユニット10の構成の一例を示す斜視図である。
図2に示した給紙ユニット10の側面図である。
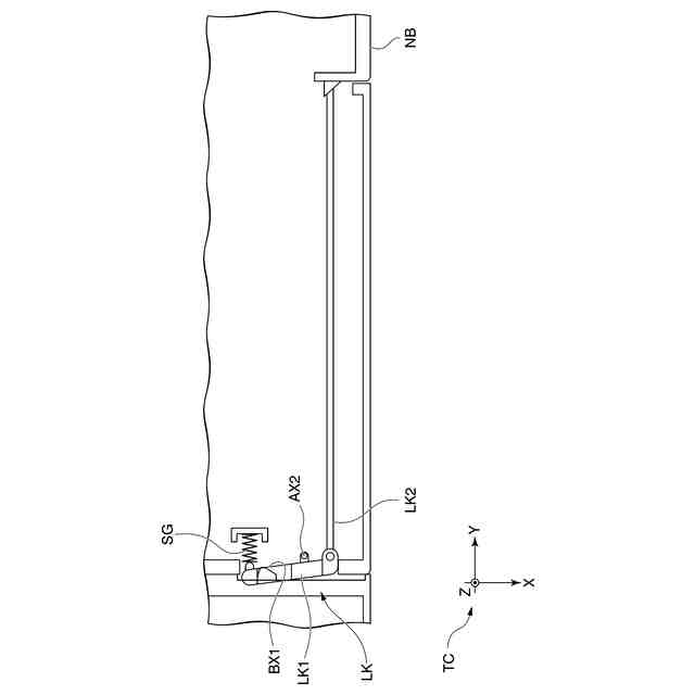
ロック部LKによって給紙トレイTRが筐体BXにロックされている様子の一例を示す図である。
図4に示したロック部LKによる給紙トレイTRの筐体BXへのロックが解除された様子の一例を示す図である。
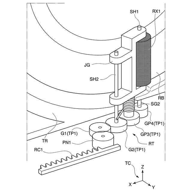
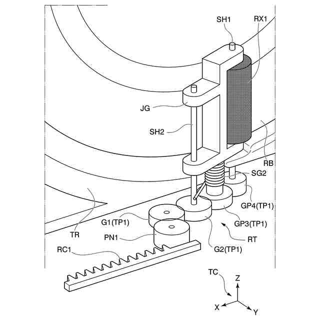
回転部RTの構成の一例を示す斜視図である。
図6に示した回転部RTの上面図である。
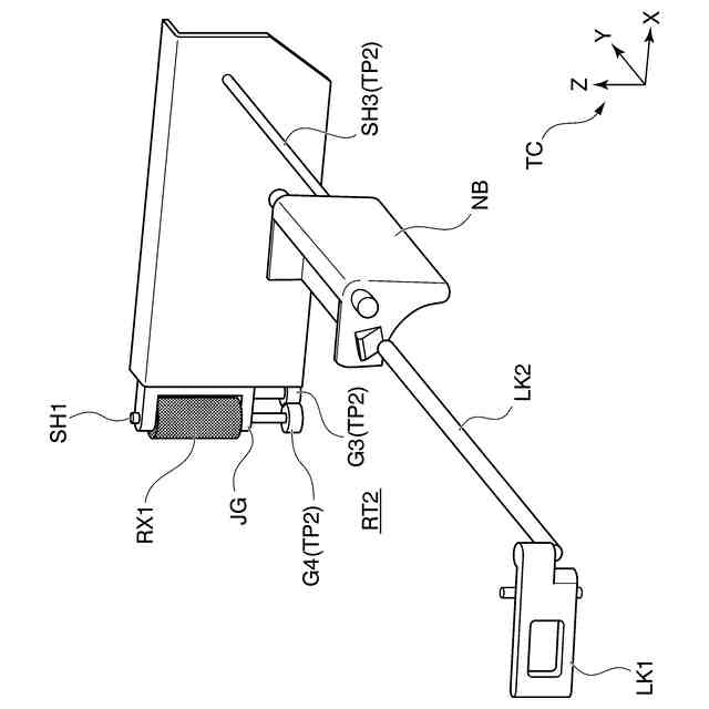
第1実施形態の変形例1に係る回転部RT2の構成の一例を示す斜視図である。
図8に示した回転部RT2を別の方向から見た斜視図である。
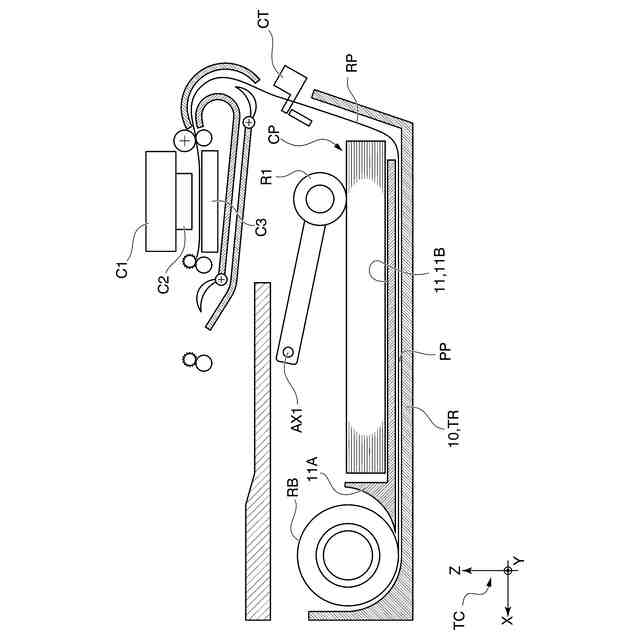
第1実施形態の変形例2に係る逆搬送部RC及び回転部RT3それぞれの構成の一例を示す側面断面図である。
給紙ユニット20が備える操作部CN1及び回転部RT4それぞれの一例を示す斜視図である。
図11に示した操作部CN1及び回転部RT4の上面図である。
レバーである操作部CN2が給紙トレイTRに設けられている様子の一例を示す図である。
給紙トレイTRにおいてレバーである操作部CN2が最も上の位置に位置している状態の回転部RT5の一例を示す斜視図である。
給紙トレイTRにおいてレバーである操作部CN2が最も下に位置している状態の回転部RT5の一例を示す斜視図である。
操作部CN3を備えた給紙ユニット20の外観の一例を示す斜視図である。
回転部RT6の構成の一例を示す斜視図である。
図17に示した回転部RT6の正面断面図である。
給紙ユニット20が備える操作部CN4及び回転部RT7それぞれの構成の一例を示す図である。
給紙ユニット20が備える操作部CN4及び回転部RT8それぞれの構成の一例を示す図である。
図20に示した操作部CN4及び回転部RT8のそれぞれを別の方向から見た斜視図である。
【発明を実施するための形態】
【0009】
<第1実施形態>
以下、本開示の第1実施形態について、図面を参照して説明する。
【0010】
<第1実施形態に係る印刷装置の概要>
まず、第1実施形態に係る印刷装置の概要について説明する。
(【0011】以降は省略されています)
この特許をJ-PlatPat(特許庁公式サイト)で参照する
関連特許
個人
箱
12か月前
個人
収容箱
2か月前
個人
ゴミ箱
11か月前
個人
コンベア
4か月前
個人
容器
8か月前
個人
段ボール箱
6か月前
個人
段ボール箱
6か月前
個人
ゴミ収集器
6か月前
個人
宅配システム
6か月前
個人
角筒状構造体
5か月前
個人
パウチ補助具
11か月前
個人
土嚢運搬器具
8か月前
個人
バンド
1か月前
個人
楽ちんハンド
4か月前
個人
コード類収納具
7か月前
個人
包装容器
23日前
個人
お薬の締結装置
5か月前
個人
廃棄物収容容器
2か月前
個人
閉塞装置
9か月前
個人
貯蔵サイロ
6か月前
個人
蓋閉止構造
3か月前
株式会社バンダイ
物品
4日前
株式会社コロナ
梱包材
5か月前
個人
把手付米袋
4か月前
個人
蓋閉止構造
3か月前
個人
積み重ね用補助具
2か月前
個人
ゴミ処理機
8か月前
株式会社和気
包装用箱
8か月前
三甲株式会社
容器
5か月前
三甲株式会社
容器
5か月前
株式会社新弘
容器
12か月前
株式会社新弘
容器
12か月前
三甲株式会社
容器
1か月前
個人
輸送積荷用動吸振器
5か月前
株式会社イシダ
搬送装置
5か月前
個人
コード折り畳み器具
3か月前
続きを見る
他の特許を見る