TOP
|
特許
|
意匠
|
商標
特許ウォッチ
Twitter
他の特許を見る
公開番号
2025152844
公報種別
公開特許公報(A)
公開日
2025-10-10
出願番号
2024054980
出願日
2024-03-28
発明の名称
管理システム及びトイレ機器管理装置
出願人
TOTO株式会社
代理人
個人
主分類
H04Q
9/00 20060101AFI20251002BHJP(電気通信技術)
要約
【課題】ビル内の複数のトイレ機器と電気設備との一元的な管理を可能にする管理システム及びトイレ機器管理装置を提供する。
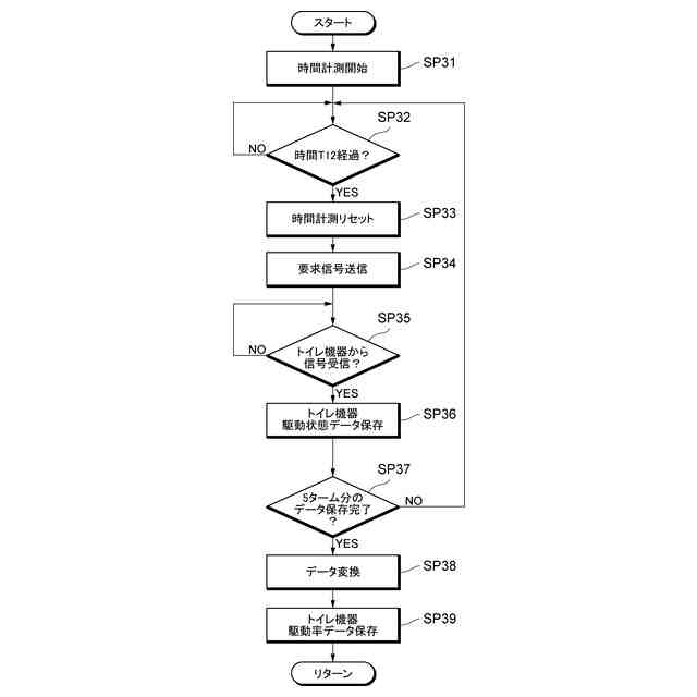
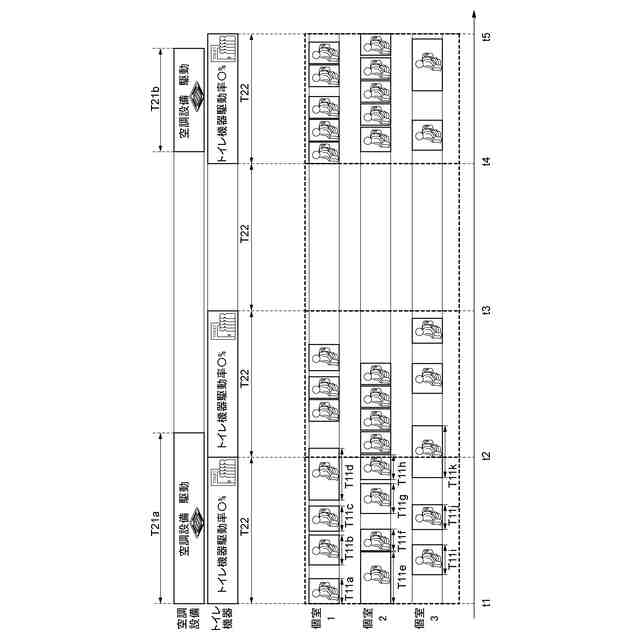
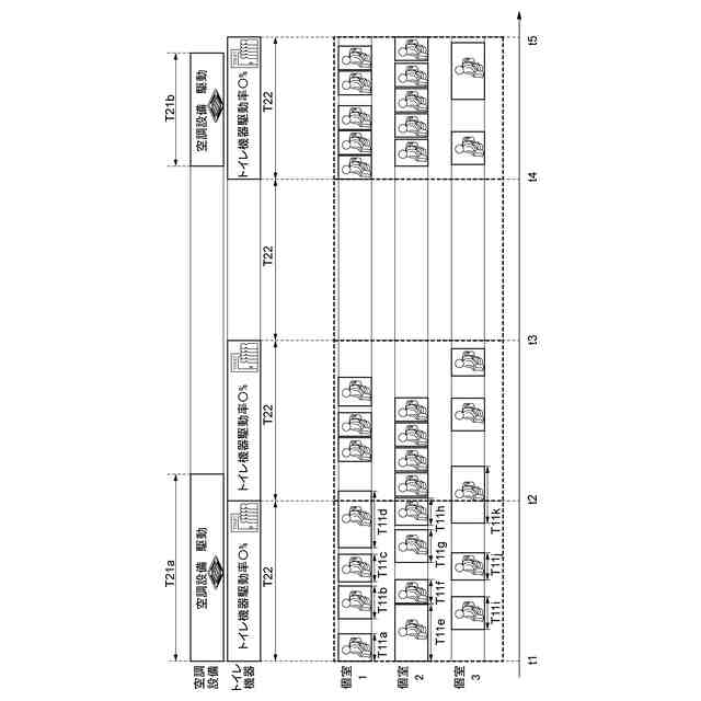
【解決手段】管理システム1は、ビル9内の複数のトイレ機器3を管理するトイレ機器管理装置27と、電気設備を管理する中央管理装置10と、を備える。トイレ機器管理装置27は、複数のトイレ機器3から受信する信号に基づいて、駆動時間T11a,T11b,・・T11kにおける複数のトイレ機器3の駆動状態を管理し、中央管理装置10は、電気設備から受信する信号に基づいて、駆動時間T21a,T21bにおける電気設備の駆動状態を管理する。中央管理装置10は、駆動時間T11a,T11b,・・T11kにおける複数のトイレ機器3の駆動状態を示す一次トイレ管理データ、又は、時間T22における複数のトイレ機器3の駆動状態を示す二次トイレ管理データを管理する。
【選択図】図3
特許請求の範囲
【請求項1】
ビル内に設置された複数の設備を管理する管理システムであって、
ビル内のトイレ空間に設置された複数のトイレ機器を管理する第1の管理手段と、
前記ビル内の前記トイレ空間以外の空間に設置された電気設備を管理する第2の管理手段と、を備え、
前記第1の管理手段は、前記複数のトイレ機器から受信する信号に基づいて、第1の時間長における前記複数のトイレ機器の駆動状態を管理し、
前記第2の管理手段は、前記電気設備から受信する信号に基づいて、前記第1の時間長よりも長い第2の時間長における前記電気設備の駆動状態を管理し、
前記第2の管理手段は、前記第1の時間長における前記複数のトイレ機器の駆動状態を示す一次トイレ管理データ、又は、前記第2の時間長における前記複数のトイレ機器の駆動状態を示す二次トイレ管理データを管理することを特徴とする管理システム。
続きを表示(約 1,000 文字)
【請求項2】
前記第1の管理手段は、前記一次トイレ管理データを前記二次トイレ管理データに変換し、該二次トイレ管理データを前記第2の管理手段に送信することを特徴とする請求項1に記載の管理システム。
【請求項3】
前記第2の管理手段は、前記一次トイレ管理データを前記二次トイレ管理データに変換することを特徴とする請求項1に記載の管理システム。
【請求項4】
前記一次トイレ管理データは、時刻に対応した前記複数のトイレ機器の駆動状態の変化を示すデータを含むことを特徴とする請求項1に記載の管理システム。
【請求項5】
前記一次トイレ管理データが含む管理項目の数は、前記二次トイレ管理データが含む管理項目の数よりも多いことを特徴とする請求項1に記載の管理システム。
【請求項6】
前記複数のトイレ機器は、使用者の局部を洗浄する便座装置を有する大便器及び/又は小便器の複数の組み合わせからなるトイレ機器群、又は、前記トイレ機器群と少なくとも1つの洗面装置との組み合わせからなるトイレシステムを含むことを特徴とする請求項1に記載の管理システム。
【請求項7】
前記トイレシステムは、自動水栓、電気温水器、及びハンドドライヤーの少なくとも1つを含むことを特徴とする請求項6に記載の管理システム。
【請求項8】
前記第1の管理手段は、前記第1の管理手段が管理する第1のスケジュールに基づいて前記複数のトイレ機器を制御する第1の管理モードと、前記第2の管理手段が管理する第2のスケジュールに基づいて前記複数のトイレ機器を制御する第2の管理モードとを有することを特徴とする請求項1に記載の管理システム。
【請求項9】
前記第1の管理手段は、第1のスケジュールを有し、該第1のスケジュールに基づいて前記複数のトイレ機器を制御し、
前記第2の管理手段は、第2のスケジュールを有し、該第2のスケジュールに基づいて前記電気設備を制御し、
前記第1の管理手段は、前記第2のスケジュールに基づいて前記第1のスケジュールを変更することを特徴とする請求項1に記載の管理システム。
【請求項10】
前記第1の管理手段は、前記複数のトイレ機器の一部の駆動と停止とを切り替えることを特徴とする請求項8又は9に記載の管理システム。
(【請求項11】以降は省略されています)
発明の詳細な説明
【技術分野】
【0001】
本開示は、管理システム及びトイレ機器管理装置に関する。
続きを表示(約 1,500 文字)
【背景技術】
【0002】
ビル内には複数の電気設備が設置されている。ビル内の環境を利用者にとって快適かつ安全なものに維持するため、これらの電気設備は、利用者の行動パターンに応じて駆動と停止とを切り替えたり、駆動状態を監視したり、不具合の有無を検知する等の管理を行うことが求められる。
【0003】
特許文献1は、ビル内の複数の電気設備を管理する管理システムを提案している。当該システムは、ビル内の領域ごとに管理制御装置を備えている。ビルの利用者、オーナ、施工者の要求を満たすため、管理制御装置は、各領域に設けられた複数の電気設備の駆動状態を一元的に管理する。
【先行技術文献】
【特許文献】
【0004】
特開平5-324655号公報
【発明の概要】
【発明が解決しようとする課題】
【0005】
特許文献1に記載された管理システムは、空調設備、照明設備、防災・防犯設備を管理対象としている(特許文献1の請求項1参照)。近年、これらが主に設置されるオフィス空間に限らず、ビル内のより広い範囲に設置されている電気設備を一元的に管理するシステムが求められており、その検討が進められている。
【0006】
上記課題に鑑み、本開示は、ビル内のトイレ空間に設置された複数のトイレ機器と、ビル内のトイレ空間以外の空間に設置された電気設備との一元的な管理を可能にする管理システム及びトイレ機器管理装置を提供することを目的とする。
【課題を解決するための手段】
【0007】
上記課題を解決するために、本開示の第1の態様に係る管理システムは、ビル内に設置された複数の設備を管理する管理システムであって、ビル内のトイレ空間に設置された複数のトイレ機器を管理する第1の管理手段と、ビル内のトイレ空間以外の空間に設置された電気設備を管理する第2の管理手段と、を備え、第1の管理手段は、複数のトイレ機器から受信する信号に基づいて、第1の時間長における複数のトイレ機器の駆動状態を管理し、第2の管理手段は、電気設備から受信する信号に基づいて、第1の時間長よりも長い第2の時間長における電気設備の駆動状態を管理し、第2の管理手段は、第1の時間長における複数のトイレ機器の駆動状態を示す一次トイレ管理データ、又は、第2の時間長における複数のトイレ機器の駆動状態を示す二次トイレ管理データを管理する。
【0008】
一般的に、ビル内に設置された空調設備、照明設備、防災設備、防犯設備等の電気設備は、数時間から数日間といった比較的長い時間長でその駆動状態を切り替えられる。一方、大便器、小便器、温水洗浄便座、自動水栓、ハンドドライヤー等のトイレ機器の駆動状態は、数秒から数分といった比較的短い時間長で変化することが殆どである。
【0009】
第1の態様の構成によれば、第1の管理手段により比較的短い第1の時間長でトイレ機器を管理しつつ、第2の管理手段により比較的長い第2の時間長で電気設備を管理する。このため、トイレ機器、電気設備を、それぞれの駆動の特性に応じた時間長で管理を行うことが可能になる。
【0010】
さらに、第1の態様の構成によれば、第2の管理手段は、第1の時間長における複数のトイレ機器の駆動状態を示す一次トイレ管理データ、又は、第2の時間長における複数のトイレ機器の駆動状態を示す二次トイレ管理データを管理する。このため、第2の管理手段において、トイレ機器の駆動状態と電気設備の駆動状態とを一元的に管理することが可能になる。
(【0011】以降は省略されています)
この特許をJ-PlatPat(特許庁公式サイト)で参照する
関連特許
TOTO株式会社
洗面器
2か月前
TOTO株式会社
洗面器
2か月前
TOTO株式会社
水栓装置
21日前
TOTO株式会社
構造部材
1か月前
TOTO株式会社
構造部材
1か月前
TOTO株式会社
構造部材
2か月前
TOTO株式会社
構造部材
2か月前
TOTO株式会社
吐水装置
2か月前
TOTO株式会社
吐水装置
2か月前
TOTO株式会社
吐水装置
2か月前
TOTO株式会社
水栓装置
今日
TOTO株式会社
水洗大便器
2か月前
TOTO株式会社
水洗大便器
2か月前
TOTO株式会社
水洗大便器
2か月前
TOTO株式会社
水洗大便器
2か月前
TOTO株式会社
トイレ装置
2か月前
TOTO株式会社
トイレ装置
2か月前
TOTO株式会社
水まわり部材
2か月前
TOTO株式会社
静電チャック
6日前
TOTO株式会社
静電チャック
2か月前
TOTO株式会社
浴室システム
2か月前
TOTO株式会社
排水システム
2か月前
TOTO株式会社
浴室システム
2か月前
TOTO株式会社
静電チャック
6日前
TOTO株式会社
排水システム
2か月前
TOTO株式会社
浴室システム
1か月前
TOTO株式会社
静電チャック
7日前
TOTO株式会社
水まわり部材
2か月前
TOTO株式会社
浴室システム
1か月前
TOTO株式会社
浴室システム
1か月前
TOTO株式会社
静電チャック
7日前
TOTO株式会社
静電チャック
2か月前
TOTO株式会社
静電チャック
2か月前
TOTO株式会社
静電チャック
2か月前
TOTO株式会社
ミスト発生装置
2か月前
TOTO株式会社
水洗大便器装置
2か月前
続きを見る
他の特許を見る