TOP
|
特許
|
意匠
|
商標
特許ウォッチ
Twitter
他の特許を見る
10個以上の画像は省略されています。
公開番号
2025152691
公報種別
公開特許公報(A)
公開日
2025-10-10
出願番号
2024054716
出願日
2024-03-28
発明の名称
電力変換装置及び駆動システム
出願人
株式会社デンソー
代理人
個人
,
個人
主分類
H02M
7/48 20070101AFI20251002BHJP(電力の発電,変換,配電)
要約
【課題】通電経路や電流センサの異常を検出することができる電力変換装置及び駆動システムを提供する。
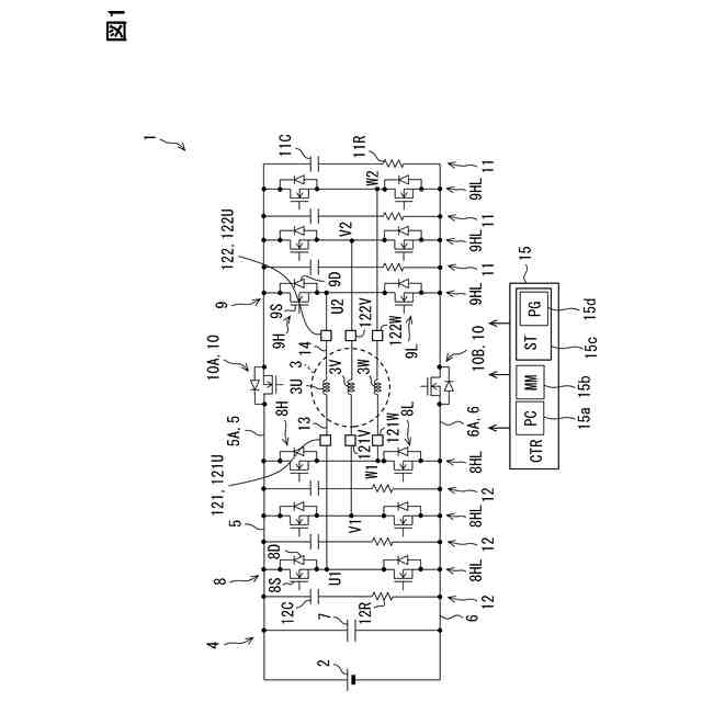
【解決手段】電力変換回路4は、インバータ8,9を有している。インバータ8は、出力線13を介して巻線3U,3V,3Wの一端に接続されている。インバータ9は、出力線13を介して巻線3U,3V,3Wの他端に接続されている。第1電流センサ121は、出力線13に流れる電流を検出する。第2電流センサ121は、出力線14に流れる電流を検出する。制御部15は、電流センサ121,122の検出値I1,I2を用いて、電流センサ121,122に異常が発生したことを検出する。制御部15は、第1検出値I1及び第2検出値I2のうち一方を用いて回転電機3の制御を行う。
【選択図】図1
特許請求の範囲
【請求項1】
回転電機(3)に供給される電力を変換する電力変換装置(4)であって、
第1経路(13)を介して前記回転電機の巻線の一端に接続される第1インバータ(8)と、
第2経路(14)を介して前記巻線の他端に接続される第2インバータ(9)と、
複数相の少なくとも1相である対象相において、前記第1経路に流れる電流を検出する第1電流センサ(121)と、
前記対象相において、前記第2経路に流れる電流を検出する第2電流センサ(122)と、
を備えている電力変換装置。
続きを表示(約 1,000 文字)
【請求項2】
前記第1電流センサは、前記対象相である3相のそれぞれにおいて、前記第1経路に流れる電流を検出し、
前記第2電流センサは、前記対象相である3相のそれぞれにおいて、前記第2経路に流れる電流を検出する、請求項1に記載の電力変換装置。
【請求項3】
前記第1電流センサの検出結果及び前記第2電流センサの検出結果を用いて、前記第1電流センサ及び前記第2電流センサのうち少なくとも一方の電流センサに異常が発生したか否かを判定する異常判定部(S103)、を備えている請求項1又は2に記載の電力変換装置。
【請求項4】
3相のうち1相において前記第1電流センサ及び前記第2電流センサのうち少なくとも一方の電流センサに異常が発生したと前記異常判定部により判断された場合に、残り2相のそれぞれでの前記第1電流センサの検出結果及び前記第2電流センサの検出結果の少なくとも一方を用いて、前記1相において前記第1電流センサ及び前記第2電流センサのいずれに異常が発生したのかを特定する異常特定部(S108~S110)、を備えている請求項3に記載の電力変換装置。
【請求項5】
前記巻線を介さずに前記第1インバータと前記第2インバータとをつなぐ直接経路(5,6)、を備えている請求項1又は2に記載の電力変換装置。
【請求項6】
前記直接経路に設けられ、閉状態で電源部(2)と前記第2インバータとを接続し、開状態で前記電源部と前記第2インバータとの接続を遮断する切替スイッチ(10)、を備えている請求項5に記載の電力変換装置。
【請求項7】
回転電機(3)と、
前記回転電機に供給される電力を変換する電力変換装置(4)と、
を備え、前記電力変換装置により前記回転電機を駆動させる駆動システム(1)であって、
第1経路(13)を介して前記回転電機の巻線の一端に接続される第1インバータ(8)と、
第2経路(14)を介して前記巻線の他端に接続される第2インバータ(9)と、
複数相の少なくとも1相である対象相において、前記第1経路に流れる電流を検出する第1電流センサ(121)と、
前記対象相において、前記第2経路に流れる電流を検出する第2電流センサ(122)と、
を備えている駆動システム。
発明の詳細な説明
【技術分野】
【0001】
この明細書における開示は、電力変換装置及び駆動システムに関する。
続きを表示(約 1,600 文字)
【背景技術】
【0002】
特許文献1は、回転電機の巻線の一端に接続される第1インバータと、巻線の他端に接続される第2インバータと、を備えた電力変換装置を開示している。第1インバータと巻線とを接続する接続経路には、電流センサが設けられている。電流センサは、3相の接続経路のそれぞれに1個ずつ設けられている。先行技術文献の記載内容は、この明細書における技術的要素の説明として、参照により援用される。
【先行技術文献】
【特許文献】
【0003】
特開2022-177342号公報
【発明の概要】
【発明が解決しようとする課題】
【0004】
しかしながら、上記特許文献1では、巻線などの通電経路や電流センサに異常が発生しても、通電経路や電流センサの異常を検出できないことが懸念される。上記した観点において、または言及されていない他の観点において、電力変換モジュールにはさらなる改良が求められている。
【0005】
開示されるひとつの目的は、通電経路や電流センサの異常を検出することができる電力変換装置及び駆動システムを提供することにある。
【課題を解決するための手段】
【0006】
開示のひとつの態様は、
回転電機(3)に供給される電力を変換する電力変換装置(4)であって、
第1経路(13)を介して回転電機の巻線の一端に接続される第1インバータ(8)と、
第2経路(14)を介して巻線の他端に接続される第2インバータ(9)と、
複数相の少なくとも1相である対象相において、第1経路に流れる電流を検出する第1電流センサ(121)と、
対象相において、第2経路に流れる電流を検出する第2電流センサ(122)と、
を備えている電力変換装置である。
【0007】
上記電力変換装置によれば、対象相において、第1電流センサが第1経路に流れる電流を検出し、第2電流センサが第2経路に流れる電流を検出する。この構成では、巻線等の通電経路や、第1電流センサ、第2電流センサに異常が発生したか否かを、第1電流センサの検出結果や第2電流センサの検出結果を用いて判定可能である。したがって、通電経路や電流センサの異常を検出することができる。
【0008】
開示のひとつの態様は、
回転電機(3)と、
回転電機に供給される電力を変換する電力変換装置(4)と、
を備え、電力変換装置により回転電機を駆動させる駆動システム(1)であって、
第1経路(13)を介して回転電機の巻線の一端に接続される第1インバータ(8)と、
第2経路(14)を介して巻線の他端に接続される第2インバータ(9)と、
複数相の少なくとも1相である対象相において、第1経路に流れる電流を検出する第1電流センサ(121)と、
対象相において、第2経路に流れる電流を検出する第2電流センサ(122)と、
を備えている駆動システムである。
【0009】
上記駆動システムによれば、上記電力変換装置と同様に、通電経路や電流センサの異常を検出することができる。
【0010】
この明細書における開示された複数の態様は、それぞれの目的を達成するために、互いに異なる技術的手段を採用する。請求の範囲およびこの項に記載した括弧内の符号は、後述する実施形態の部分との対応関係を例示的に示すものであって、技術的範囲を限定することを意図するものではない。この明細書に開示される目的、特徴、および効果は、後続の詳細な説明、および添付の図面を参照することによってより明確になる。
【図面の簡単な説明】
(【0011】以降は省略されています)
この特許をJ-PlatPat(特許庁公式サイト)で参照する
関連特許
株式会社デンソー
接合体
23日前
株式会社デンソー
車載器
9日前
株式会社デンソーエレクトロニクス
発音装置
13日前
株式会社デンソー
電子装置
4日前
株式会社デンソー
ステータ
24日前
株式会社デンソー
電子装置
3日前
株式会社デンソー
ステータ
24日前
株式会社デンソー
反力装置
3日前
株式会社デンソー
ステータ
9日前
株式会社デンソー
ステータ
9日前
株式会社デンソーエレクトロニクス
発音装置
1か月前
株式会社デンソー
太陽電池
25日前
株式会社デンソー
電子装置
13日前
株式会社デンソー
ねじ部材
9日前
株式会社デンソー
平滑回路
1か月前
株式会社デンソー
光学部材
1か月前
株式会社デンソーテン
インバータ
3日前
株式会社デンソー
レーダ装置
2日前
株式会社デンソー
回転体装置
1か月前
株式会社デンソー
レーダ装置
13日前
株式会社デンソー
農業用装置
5日前
株式会社デンソー
半導体装置
9日前
株式会社デンソー
電力変換装置
9日前
株式会社デンソー
電子制御装置
13日前
株式会社デンソー
制御システム
16日前
株式会社デンソー
電波吸収装置
13日前
株式会社デンソー
ステータコア
16日前
株式会社デンソーテン
車載映像装置
9日前
株式会社デンソー
運転支援装置
4日前
株式会社デンソーエアクール
換気空調装置
10日前
株式会社デンソー
電圧検出回路
5日前
株式会社デンソー
衝突予測装置
4日前
株式会社デンソー
フィルタ回路
17日前
株式会社デンソー
電気化学セル
13日前
株式会社デンソー
電子制御装置
9日前
株式会社デンソー
通信システム
13日前
続きを見る
他の特許を見る