TOP
|
特許
|
意匠
|
商標
特許ウォッチ
Twitter
他の特許を見る
公開番号
2025152207
公報種別
公開特許公報(A)
公開日
2025-10-09
出願番号
2024053992
出願日
2024-03-28
発明の名称
プログラムおよびサーバ
出願人
ブラザー工業株式会社
代理人
弁理士法人コスモス国際特許商標事務所
主分類
G06Q
50/10 20120101AFI20251002BHJP(計算;計数)
要約
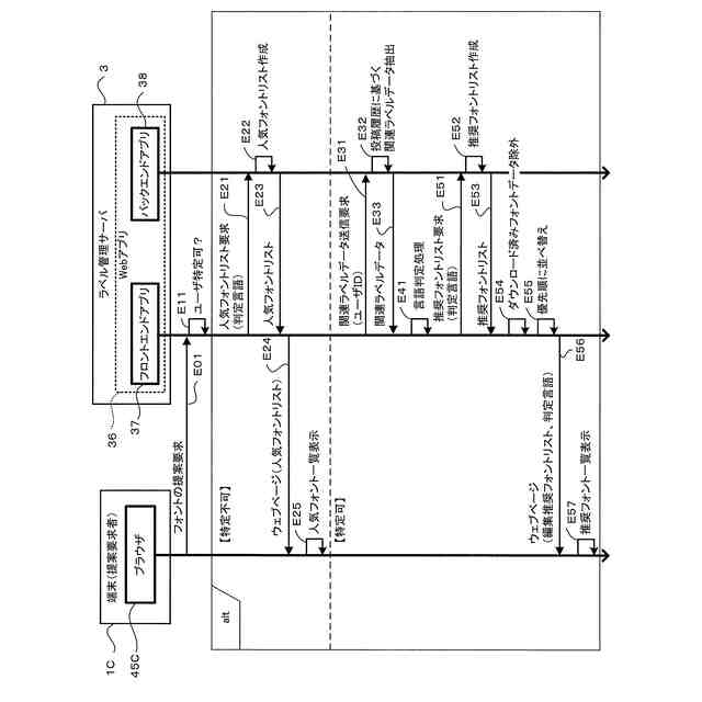
【課題】ラベルデータの利用を図るシステムにおいて、個々のユーザに対して好適なフォントを提案すること。
【解決手段】Webアプリ36が組み込まれたラベル管理サーバ3は、インターネット9を介して端末1と接続できる。ラベル管理サーバ3は、複数のラベルデータを登録可能なラベルDB6と、複数のフォントデータを登録可能なフォントDB7とにアクセス可能である。Webアプリ36は、フォントの提案要求があった場合に(E01)、特定されているユーザに関連する関連ラベルデータをラベルDB6から抽出し(E32)、抽出された関連ラベルデータに含まれるテキストオブジェクトに基づいて、言語を判定する(E41)。Webアプリ36は、フォントDB7に登録されているフォントデータの中から、判定した言語に対応するフォントデータを端末1に表示させ、提案する(E56)。
【選択図】図9
特許請求の範囲
【請求項1】
サーバのコンピュータによって実行可能なプログラムであって、前記サーバは、ラベルデータベースと、フォントデータベースと、にアクセス可能であり、前記ラベルデータベースには、複数のラベルデータを登録可能であり、前記ラベルデータには、テキストオブジェクトを含めることが可能であり、前記フォントデータベースには、複数のフォントデータを登録可能であり、
前記コンピュータに、
前記フォントデータベースに登録されている前記フォントデータの1つが指定されたダウンロード要求があった場合に、指定された前記フォントデータを、前記ダウンロード要求の要求元のデバイスに送信する送信処理を実行させ、
前記コンピュータにさらに、
フォントの提案要求があり、ユーザが特定されている場合に、
前記ラベルデータベースに登録されている前記ラベルデータのうち、特定されている前記ユーザに関連する前記ラベルデータである関連ラベルデータを抽出し、抽出された前記関連ラベルデータに含まれるテキストオブジェクトに基づいて、言語を判定する判定処理と、
前記フォントデータベースに登録されている前記フォントデータのうち、前記判定処理にて判定された言語に対応する前記フォントデータを、前記提案要求の要求元のデバイスに提案する提案処理と、
を実行させる、
ように構成されるプログラム。
続きを表示(約 2,300 文字)
【請求項2】
請求項1に記載するプログラムにおいて、
前記コンピュータに、
ラベルデータが指定された投稿指示を受け付けた場合に、前記投稿指示の要求元のデバイスから、前記投稿指示に関連付けてアップロードされた前記ラベルデータを、前記ラベルデータを投稿するユーザを示す投稿ユーザ情報と関連付けて、前記ラベルデータベースに登録する登録処理を実行させ、
前記判定処理では、
前記ラベルデータベースに登録されている前記ラベルデータのうち、特定されている前記ユーザに対応する前記投稿ユーザ情報が関連付けられた前記ラベルデータを前記関連ラベルデータとして抽出し、抽出された前記関連ラベルデータに含まれるテキストオブジェクトに基づいて、言語を判定する、
ように構成されるプログラム。
【請求項3】
請求項2に記載するプログラムにおいて、
前記判定処理では、
テキストオブジェクトが含まれる前記関連ラベルデータのうち、所定の期間内に前記ラベルデータベースに登録された前記関連ラベルデータを判定対象とし、判定対象の前記関連ラベルデータに含まれるテキストオブジェクトに基づいて、言語を判定する、
ように構成されるプログラム。
【請求項4】
請求項2に記載するプログラムにおいて、
前記判定処理では、
テキストオブジェクトが含まれる前記関連ラベルデータのうち、前記ラベルデータベースへの登録が新しい順に所定個数の前記関連ラベルデータを判定対象とし、判定対象の前記関連ラベルデータに含まれるテキストオブジェクトに基づいて、言語を判定する、
ように構成されるプログラム。
【請求項5】
請求項1に記載するプログラムにおいて、
前記コンピュータに、
前記ラベルデータベースに登録されている前記ラベルデータの1つが指定された閲覧要求を受け付けた場合に、指定された前記ラベルデータの内容を示す内容情報を、前記閲覧要求の要求元のデバイスに送信する閲覧処理を実行させ、
前記判定処理では、
前記ラベルデータベースに登録されている前記ラベルデータのうち、特定されている前記ユーザによって前記閲覧要求に指定されたことがある前記ラベルデータを前記関連ラベルデータとして抽出し、抽出された前記関連ラベルデータに含まれるテキストオブジェクトに基づいて、言語を判定する、
ように構成されるプログラム。
【請求項6】
請求項5に記載するプログラムにおいて、
前記判定処理では、
テキストオブジェクトが含まれる前記関連ラベルデータのうち、所定の期間内に、特定されている前記ユーザによって前記閲覧要求に指定されたことがある前記関連ラベルデータを判定対象とし、判定対象の前記関連ラベルデータに含まれるテキストオブジェクトに基づいて、言語を判定する、
ように構成されるプログラム。
【請求項7】
請求項5に記載するプログラムにおいて、
前記判定処理では、
テキストオブジェクトが含まれる前記関連ラベルデータのうち、特定されている前記ユーザによって前記閲覧要求に指定された日時が新しい順に所定個数の前記関連ラベルデータを判定対象とし、判定対象の前記関連ラベルデータに含まれるテキストオブジェクトに基づいて、言語を判定する、
ように構成されるプログラム。
【請求項8】
請求項1に記載するプログラムにおいて、
前記判定処理では、
前記ラベルデータベースから、テキストオブジェクトが含まれる前記関連ラベルデータが抽出された場合には、抽出された前記関連ラベルデータに含まれるテキストオブジェクトに基づいて、言語を判定し、
前記ラベルデータベースから、テキストオブジェクトが含まれる前記関連ラベルデータが抽出されなければ、前記提案要求の要求元の前記デバイスに設定されている言語に基づいて、言語を判定する、
ように構成されるプログラム。
【請求項9】
請求項1に記載するプログラムにおいて、
前記提案処理では、
前記判定処理にて判定された言語に対応する前記フォントデータを、表示のための優先順に従って、前記提案要求の要求元のデバイスに表示させることで、前記判定処理にて判定された言語に対応する前記フォントデータを、前記提案要求の要求元のデバイスに提案する、
ように構成されるプログラム。
【請求項10】
請求項1に記載するプログラムにおいて、
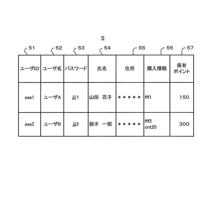
前記サーバは、購入データベースにアクセス可能であり、前記購入データベースには、ユーザごとに、ダウンロードしたフォントデータを示す購入情報が登録されており、
前記コンピュータに、
前記フォントデータベースに登録されている前記フォントデータの1つが指定された前記ダウンロード要求であって、ユーザが特定されている前記ダウンロード要求を受け付けた場合に、前記送信処理と、更新処理と、を実行させ、前記更新処理では、特定されているユーザに対応する前記購入情報に、前記送信処理にて送信された前記フォントデータを含めるよう前記購入データベースを更新し、
前記提案処理では、
特定されているユーザに対応する前記購入情報に含まれる前記フォントデータを、提案対象から除外する、
ように構成されるプログラム。
(【請求項11】以降は省略されています)
発明の詳細な説明
【技術分野】
【0001】
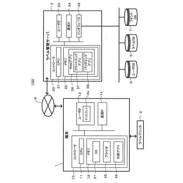
本明細書に開示される技術分野は、ラベルデータの利用を図るシステムに用いられるプログラムおよびサーバに関する。
続きを表示(約 2,200 文字)
【背景技術】
【0002】
従来、コンテンツデータの利用を図るシステムとして、コンテンツデータを保存するサーバをインターネット上に用意し、ユーザのデバイスからコンテンツデータが投稿、すなわちそのサーバにアップロードされ、そのコンテンツデータが別のユーザのデバイスにダウンロードされるシステムが知られている。
【0003】
上述したようなシステムを開示した文献としては、例えば特許文献1がある。特許文献1に開示されるポイント管理システムでは、ユーザAのPCから写真データがWWWサーバにアップロードされ、ユーザBのPCによってその写真データが購入されてWWWサーバからダウンロードされると、購入者であるユーザBに購入額に応じたポイントが加算され、さらに投稿者であるユーザAにも、写真データのアップロード時あるいは写真データのダウンロード時に、写真データのデータサイズに応じたポイントが加算される。
【先行技術文献】
【特許文献】
【0004】
特開2002-99746号公報
【発明の概要】
【発明が解決しようとする課題】
【0005】
近年、コンテンツデータとして、ラベルプリンタでのラベルの印刷に用いられるラベルデータの、利用を図るシステムがある。このようなシステムでは、ラベルデータを提供する他、ラベルのデザインのバリエーションを増やすため、ラベルデータに利用可能な様々なフォントデータを提供する場合がある。フォントデータに示されるフォントは、全ての言語に対応することは難しく、対応可能な言語が限られるものが多い。そのため、個々のユーザに対して好適なフォントを提案する仕組みが望まれる。
【課題を解決するための手段】
【0006】
上述した課題の解決を目的としてなされたプログラムは、サーバのコンピュータによって実行可能なプログラムであって、前記サーバは、ラベルデータベースと、フォントデータベースと、にアクセス可能であり、前記ラベルデータベースには、複数のラベルデータを登録可能であり、前記ラベルデータには、テキストオブジェクトを含めることが可能であり、前記フォントデータベースには、複数のフォントデータを登録可能であり、前記コンピュータに、前記フォントデータベースに登録されている前記フォントデータの1つが指定されたダウンロード要求があった場合に、指定された前記フォントデータを、前記ダウンロード要求の要求元のデバイスに送信する送信処理を実行させ、前記コンピュータにさらに、フォントの提案要求があり、ユーザが特定されている場合に、前記ラベルデータベースに登録されている前記ラベルデータのうち、特定されている前記ユーザに関連する前記ラベルデータである関連ラベルデータを抽出し、抽出された前記関連ラベルデータに含まれるテキストオブジェクトに基づいて、言語を判定する判定処理と、前記フォントデータベースに登録されている前記フォントデータのうち、前記判定処理にて判定された言語に対応する前記フォントデータを、前記提案要求の要求元のデバイスに提案する提案処理と、を実行させる、ように構成されている。
【0007】
上記構成を有するプログラムは、ラベルデータベースに登録されているラベルデータの中から、特定されているユーザに関連する関連ラベルデータをラベルデータベースから抽出し、抽出された関連ラベルデータに含まれるテキストオブジェクトに基づいて、言語を判定する。プログラムは、フォントデータベースに登録されているフォントデータの中から、判定した言語に対応するフォントデータを提案する。これによれば、プログラムは、そのユーザに適したフォントを提案し易くなる。
【0008】
上記プログラムの機能を実現するためのサーバ、システム、装置、制御方法、および、当該プログラムを格納するコンピュータにて読取可能な記憶媒体も、新規で有用である。
【発明の効果】
【0009】
本明細書に開示される技術によれば、ラベルデータの利用を図るシステムにおいて、個々のユーザに対して好適なフォントを提案できる技術が実現される。
【図面の簡単な説明】
【0010】
第1実施形態のラベルデータ共有システムを概略的に示す説明図である。
ユーザデータベースの一例を説明する図である。
ラベルデータベースの一例を説明する図である。
フォントデータベースの一例を説明する図である。
投稿処理の一例を示すシーケンス図である。
画面遷移の一例を説明する図である。
ダウンロード印刷処理の手順の一例を示すシーケンス図である。
コンテンツ購入処理の手順の一例を示すシーケンス図である。
推奨フォント提案処理の一例を説明するシーケンス図である。
言語判定処理の一例を説明するフローチャートである。
第2実施形態のラベルデータ共有システムにて実行される推奨フォント提案処理の手順の一例を示すシーケンス図である。
【発明を実施するための形態】
(【0011】以降は省略されています)
この特許をJ-PlatPat(特許庁公式サイト)で参照する
関連特許
ブラザー工業株式会社
固定具
3日前
ブラザー工業株式会社
ホルダ
1日前
ブラザー工業株式会社
ボビン
3日前
ブラザー工業株式会社
空調機
2日前
ブラザー工業株式会社
ミシン
1日前
ブラザー工業株式会社
ミシン
1日前
ブラザー工業株式会社
印刷媒体
1日前
ブラザー工業株式会社
縫製装置
3日前
ブラザー工業株式会社
印刷装置
3日前
ブラザー工業株式会社
塗工装置
1日前
ブラザー工業株式会社
結紮装置
2日前
ブラザー工業株式会社
印刷媒体
1日前
ブラザー工業株式会社
印刷媒体
1日前
ブラザー工業株式会社
塗布装置
1日前
ブラザー工業株式会社
結紮装置
2日前
ブラザー工業株式会社
回収装置
1日前
ブラザー工業株式会社
塗工装置
1日前
ブラザー工業株式会社
塗工装置
1日前
ブラザー工業株式会社
制御装置
2日前
ブラザー工業株式会社
制御装置
2日前
ブラザー工業株式会社
糸巻回装置
3日前
ブラザー工業株式会社
糸巻回装置
3日前
ブラザー工業株式会社
画像形成装置
2日前
ブラザー工業株式会社
画像形成装置
3日前
ブラザー工業株式会社
画像形成装置
1日前
ブラザー工業株式会社
画像形成装置
3日前
ブラザー工業株式会社
画像形成装置
2日前
ブラザー工業株式会社
画像読取装置
2日前
ブラザー工業株式会社
画像形成装置
3日前
ブラザー工業株式会社
画像形成装置
2日前
ブラザー工業株式会社
画像形成装置
3日前
ブラザー工業株式会社
画像形成装置
3日前
ブラザー工業株式会社
画像形成装置
2日前
ブラザー工業株式会社
画像読取装置
2日前
ブラザー工業株式会社
画像形成装置
3日前
ブラザー工業株式会社
画像形成装置
3日前
続きを見る
他の特許を見る