TOP
|
特許
|
意匠
|
商標
特許ウォッチ
Twitter
他の特許を見る
公開番号
2025149456
公報種別
公開特許公報(A)
公開日
2025-10-08
出願番号
2024050116
出願日
2024-03-26
発明の名称
画像形成装置
出願人
ブラザー工業株式会社
代理人
個人
,
個人
主分類
G03G
15/00 20060101AFI20251001BHJP(写真;映画;光波以外の波を使用する類似技術;電子写真;ホログラフイ)
要約
【課題】グリッド電流に基づくフィードバック制御を行わずに速やかにパッチ画像を形成して濃度補正を行う。
【解決手段】電源基板は、第1帯電ワイヤ、第1グリッド電極および第1現像ローラに電圧を印加する。制御部は、ベルトにトナーのパッチ画像を形成して濃度補正を実行する場合に、第1電圧変更処理を実行してパッチ画像を形成する。第1電圧変更処理は、第1現像ローラに、通常印刷時に第1現像ローラに印加する印刷現像電圧Vg0
-1
より第1値|ΔVbu|だけ大きいパッチ現像電圧を印加する。また、第1電圧変更処理は、第1グリッド電極に、通常印刷時に第1グリッド電極に印加する印刷グリッド電圧より、第1値|ΔVbu|よりも大きい第2値|ΔVbu|×αだけ大きいパッチグリッド電圧を印加する。また、第1電圧変更処理は、第1帯電ワイヤに、通常印刷時と同じ帯電電圧Vwc0を印加する。
【選択図】図4
特許請求の範囲
【請求項1】
第1感光ドラムと、
前記第1感光ドラムに向かい合う第1帯電器であって、第1帯電ワイヤおよび第1グリッド電極を有する第1帯電器と、
前記第1感光ドラムに向かい合う第1現像ローラと、
前記第1感光ドラムに向かい合うベルトと、
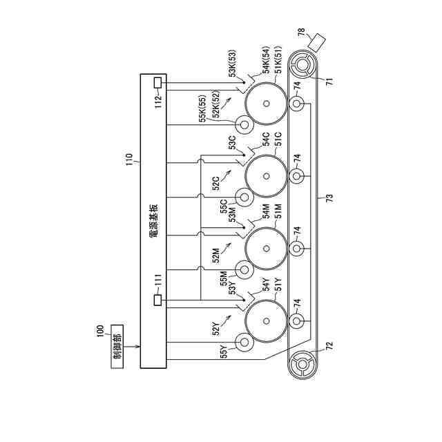
前記第1帯電ワイヤ、前記第1グリッド電極および前記第1現像ローラに電圧を印加する電源基板と、
制御部とを備え、
前記制御部は、
前記ベルトにトナーのパッチ画像を形成して濃度補正を実行する場合に、
前記第1現像ローラに、通常印刷時に第1現像ローラに印加する印刷現像電圧より第1値だけ大きいパッチ現像電圧を印加し、
前記第1グリッド電極に、通常印刷時に第1グリッド電極に印加する印刷グリッド電圧より、第1値よりも大きい第2値だけ大きいパッチグリッド電圧を印加し、
前記第1帯電ワイヤに、通常印刷時と同じ帯電電圧を印加する、
第1電圧変更処理を実行してパッチ画像を形成することを特徴とする画像形成装置。
続きを表示(約 1,700 文字)
【請求項2】
前記制御部は、
前記濃度補正を実行する場合に、第1電圧変更処理に加え、
前記第1現像ローラに、前記印刷現像電圧より第3値だけ小さいパッチ現像電圧を印加し、前記第1グリッド電極に、前記印刷グリッド電圧に対して、第3値よりも大きい第4値だけ小さいパッチグリッド電圧を印加する第2電圧変更処理を実行することを特徴とする請求項1に記載の画像形成装置。
【請求項3】
前記制御部は、
前記パッチ現像電圧Vbpと前記印刷現像電圧Vb0の差|Vbp-Vb0|に1より大きい所定の係数αを乗じた値|Vbp-Vb0|×αを、前記印刷グリッド電圧Vg0に足した値を、前記パッチグリッド電圧として印加することを特徴とする請求項1に記載の画像形成装置。
【請求項4】
第2感光ドラムと、
前記第2感光ドラムを帯電させる第2帯電器であって、第2帯電ワイヤおよび第2グリッド電極を有する第2帯電器と、
前記第2感光ドラムに向かい合って配置された第2現像ローラと、をさらに備え、
前記ベルトは、前記第1感光ドラムおよび前記第2感光ドラムに向かい合って配置され、
前記電源基板は、
前記第2帯電ワイヤ、前記第2グリッド電極および前記第2現像ローラに電圧を印加し、
前記第1帯電ワイヤおよび前記第2帯電ワイヤに共通の帯電電圧を印加する第1回路を有することを特徴とする請求項1に記載の画像形成装置。
【請求項5】
前記第1帯電ワイヤと前記第2帯電ワイヤに同じ電圧を印加した場合に、前記第1グリッド電極に流れる電流は、前記第2グリッド電極に流れる電流よりも小さく、
前記制御部は、印刷を実行するときに、
前記第1グリッド電極に、前記第1現像ローラに印加する印刷現像電圧よりも所定の電圧差ΔVだけ大きい印刷グリッド電圧を印加し、
前記第2グリッド電極に、前記第2現像ローラに印加する印刷現像電圧に前記所定の電圧差ΔVを足した値よりも小さい印刷グリッド電圧を印加することを特徴とする請求項4に記載の画像形成装置。
【請求項6】
第3感光ドラムと、
前記第3感光ドラムを帯電させる第3帯電器であって、第3帯電ワイヤおよび第3グリッド電極を有する第3帯電器と、
前記第3感光ドラムに向かい合って配置された第3現像ローラと、をさらに備え、
前記電源基板は、前記第3帯電ワイヤに、第1帯電ワイヤおよび前記第2帯電ワイヤとは独立して帯電電圧を印加可能な第2回路を有することを特徴とする請求項4または請求項5に記載の画像形成装置。
【請求項7】
前記制御部は、前記第3感光ドラムを用いて前記ベルトにトナーのパッチ画像を形成して濃度補正を実行する場合に、
前記第3現像ローラに印加するパッチ現像電圧の変化に応じて前記第3帯電ワイヤに印加する帯電電圧を変化させることを特徴とする請求項6に記載の画像形成装置。
【請求項8】
第1感光ドラムと、
前記第1感光ドラムに向かい合う第1帯電器であって、第1帯電ワイヤおよび第1グリッド電極を有する第1帯電器と、
前記第1感光ドラムに向かい合う第1現像ローラと、
前記第1感光ドラムに向かい合うベルトと、
前記第1帯電ワイヤ、前記第1グリッド電極および前記第1現像ローラに電圧を印加する電源基板と、
制御部とを備え、
前記制御部は、
前記ベルトにトナーのパッチ画像を形成して濃度補正を実行する場合に、
前記第1現像ローラに、通常印刷時に第1現像ローラに印加する印刷現像電圧より第3値だけ小さいパッチ現像電圧を印加し、
前記第1グリッド電極に、通常印刷時に第1グリッド電極に印加する印刷グリッド電圧より、第3値よりも大きい第4値だけ小さいパッチグリッド電圧を印加し、
前記第1帯電ワイヤに、通常印刷時と同じ帯電電圧を印加して、
パッチ画像を形成する第2電圧変更処理を実行することを特徴とする画像形成装置。
発明の詳細な説明
【技術分野】
【0001】
本開示は、画像形成装置に関する。
続きを表示(約 1,700 文字)
【背景技術】
【0002】
従来、画像形成装置が複数色のトナーのそれぞれに対応した複数の帯電器を備える場合に、すべての帯電ワイヤに印加する電圧を、1つの高圧電源から印加するようにして、部品点数の削減を図った技術が知られている。この技術では、グリッド電流を一定に維持するようにグリッド電流に基づくフィードバック制御で定電流制御を実行することで、感光ドラムの表面電位が所定値になるようにしている(特許文献1)。
【0003】
また、複数色のトナーで画像を形成するカラーの画像形成装置において、ベルトに複数色のトナーのパッチを、異なる複数の濃度で形成し、これらのパッチを読み取ることで、濃度補正をする技術が知られている(特許文献2)。
【先行技術文献】
【特許文献】
【0004】
特開2012-032531号公報
特開2002-258547号公報
【発明の概要】
【発明が解決しようとする課題】
【0005】
ところで、濃度補正の際には、現像電圧およびグリッド電圧を変更してパッチ画像の濃度を変更する必要があるが、特許文献1のようなグリッド電流を一定にするフィードバック制御を、濃度補正のパッチ画像の形成において行うと、濃度補正に時間が掛かるという問題がある。
【0006】
そこで、本開示は、グリッド電流に基づくフィードバック制御を行わずに速やかにパッチ画像を形成して濃度補正を行うことができる画像形成装置を提供することを目的とする。
【課題を解決するための手段】
【0007】
前記した課題を解決する画像形成装置は、第1感光ドラムと、第1帯電器と、第1現像ローラと、ベルトと、電源基板と、制御部とを備える。
第1帯電器は、第1感光ドラムに向かい合う。第1帯電器は、第1帯電ワイヤおよび第1グリッド電極を有する。
第1現像ローラは、第1感光ドラムに向かい合う。
ベルトは、第1感光ドラムに向かい合う。
電源基板は、第1帯電ワイヤ、第1グリッド電極および第1現像ローラに電圧を印加する。
制御部は、ベルトにトナーのパッチ画像を形成して濃度補正を実行する場合に、第1電圧変更処理を実行してパッチ画像を形成する。第1電圧変更処理は、第1現像ローラに、通常印刷時に第1現像ローラに印加する印刷現像電圧より第1値だけ大きいパッチ現像電圧を印加する。また、第1電圧変更処理は、第1グリッド電極に、通常印刷時に第1グリッド電極に印加する印刷グリッド電圧より、第1値よりも大きい第2値だけ大きいパッチグリッド電圧を印加する。また、第1電圧変更処理は、第1帯電ワイヤに、通常印刷時と同じ帯電電圧を印加する。
【0008】
濃度補正の際に、第1現像ローラに印加するパッチ現像電圧を、通常印刷時の印刷現像電圧より第1値だけ大きくする場合に、第1グリッド電極に、通常印刷時の印刷グリッド電圧より第2値だけ大きいパッチグリッド電圧を印加するようにすることで、グリッド電流に基づくフィードバック制御を行わずに、速やかにパッチ画像を形成して濃度補正を行うことができる。
【0009】
制御部は、濃度補正を実行する場合に、第1電圧変更処理に加え、第2電圧変更処理を実行してもよい。第2電圧変更処理は、第1現像ローラに、印刷現像電圧より第3値だけ小さいパッチ現像電圧を印加し、第1グリッド電極に、印刷グリッド電圧に対して、第3値よりも大きい第4値だけ小さいパッチグリッド電圧を印加する。
【0010】
濃度補正の際に、通常印刷時よりも大きいパッチ現像電圧を印加してパッチ画像を形成する第1電圧変更処理に加え、通常印刷時よりも小さいパッチ現像電圧を印加してパッチ画像を形成する第2電圧変更処理を実行することで、大きな現像電圧の変化による濃度の変化を検出することができ、正確に濃度補正をすることができる。
(【0011】以降は省略されています)
この特許をJ-PlatPat(特許庁公式サイト)で参照する
関連特許
ブラザー工業株式会社
印刷装置
16日前
ブラザー工業株式会社
印刷装置
28日前
ブラザー工業株式会社
電子機器
10日前
ブラザー工業株式会社
水塗布装置
2日前
ブラザー工業株式会社
水塗布装置
2日前
ブラザー工業株式会社
水塗布装置
2日前
ブラザー工業株式会社
水塗布装置
2日前
ブラザー工業株式会社
画像形成装置
15日前
ブラザー工業株式会社
画像形成装置
15日前
ブラザー工業株式会社
画像形成装置
15日前
ブラザー工業株式会社
画像形成装置
15日前
ブラザー工業株式会社
画像形成装置
7日前
ブラザー工業株式会社
シート給送装置
9日前
ブラザー工業株式会社
サポートプログラム
15日前
ブラザー工業株式会社
サポートプログラム
15日前
ブラザー工業株式会社
プリンタおよびプログラム
17日前
ブラザー工業株式会社
定着装置及び画像形成装置
7日前
ブラザー工業株式会社
プリンタおよびプログラム
17日前
ブラザー工業株式会社
インクジェット記録方法及び印刷物
1か月前
ブラザー工業株式会社
印刷管理システム、サーバ、印刷管理方法
2日前
ブラザー工業株式会社
プログラム、電子装置、方法、及び印刷システム
今日
ブラザー工業株式会社
プログラム、データ処理装置、および、データ処理方法
17日前
ブラザー工業株式会社
情報処理プログラム、情報処理装置、及び情報処理方法
2日前
ブラザー工業株式会社
プリンタ
1か月前
ブラザー工業株式会社
通信システム、サーバ、および、コンピュータプログラム
15日前
ブラザー工業株式会社
カセット
1か月前
ブラザー工業株式会社
画像形成装置
21日前
ブラザー工業株式会社
ラベル巻付装置
1か月前
ブラザー工業株式会社
現像カートリッジ
今日
ブラザー工業株式会社
サポートプログラム
今日
ブラザー工業株式会社
サポートプログラム
今日
ブラザー工業株式会社
コンピュータプログラム、データ処理装置、および、シートの製造方法
2日前
ブラザー工業株式会社
タンクセット及び液体消費装置
7日前
ブラザー工業株式会社
情報処理プログラム、情報処理装置、情報処理方法、印刷プログラム、印刷装置、及び印刷方法
17日前
ブラザー工業株式会社
記録装置、記録装置用消耗品、及び情報処理方法
1か月前
個人
表示装置
1か月前
続きを見る
他の特許を見る