TOP
|
特許
|
意匠
|
商標
特許ウォッチ
Twitter
他の特許を見る
10個以上の画像は省略されています。
公開番号
2025152140
公報種別
公開特許公報(A)
公開日
2025-10-09
出願番号
2024053896
出願日
2024-03-28
発明の名称
熱伝導体、ヒートスプレッダおよび放熱構造体
出願人
ノリタケ株式会社
代理人
個人
,
個人
主分類
H01L
23/36 20060101AFI20251002BHJP(基本的電気素子)
要約
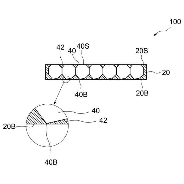
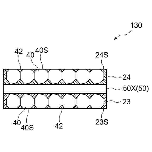
【課題】隣接するダイヤモンド同士の熱流路を形成でき、他の部材と接合したときに他の部材を変形させにくい、熱伝導体を提供する。
【解決手段】本発明の熱伝導体100は、1層に並べられた複数のダイヤモンド40と、ダイヤモンド40を固定する金属42とを含むダイヤモンド含有金属層20を有し、ダイヤモンド40が、八面体以上の多面体であり、ダイヤモンド含有金属層20から突き出しておらず、かつ、隣接するダイヤモンド40と面接触している。ダイヤモンド含有金属層20の一方の面20Sは、平滑化された面である。また、ダイヤモンド40のダイヤモンド含有金属層20の他方の面20B側の端部40Bが、頂点または稜線であるか、ダイヤモンド含有金属層20の他方の面20Bは、平滑化された面であり、ダイヤモンド40の他方の面20B側の平滑化前の端部が、頂点または稜線である。
【選択図】 図1
特許請求の範囲
【請求項1】
1層に並べられた複数のダイヤモンドと、前記ダイヤモンドを固定する金属とを含むダイヤモンド含有金属層を有する熱伝導体であって、
下記(I)と、下記(II)と、下記(III-1)または(III-2)とを満たす熱伝導体。
(I)前記ダイヤモンドが、八面体以上の多面体であり、前記ダイヤモンド含有金属層から突き出しておらず、かつ、隣接するダイヤモンドと面接触している。
(II)前記ダイヤモンド含有金属層の一方の面は、前記ダイヤモンドの前記ダイヤモンド含有金属層の一方の面側の端部が、前記ダイヤモンド含有金属層の一方の面と同一面になるように平滑化された面である。
(III-1)前記ダイヤモンドの前記ダイヤモンド含有金属層の他方の面側の端部が、前記ダイヤモンドの頂点または稜線である。
(III-2)前記ダイヤモンド含有金属層の他方の面は、前記ダイヤモンドの前記他方の面側の端部が前記他方の面と同一面になるように平滑化された面であり、前記ダイヤモンドの前記他方の面側の平滑化前の端部が、頂点または稜線である。
続きを表示(約 900 文字)
【請求項2】
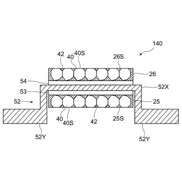
前記ダイヤモンド含有金属層が、その頂点または稜線を下にして1層に並べた、八面体以上の多面体である複数のダイヤモンドを前記金属で固着した層の少なくとも上側の面を平滑化したものである、請求項1に記載の熱伝導体。
【請求項3】
前記ダイヤモンド含有金属層の一方の面における、前記ダイヤモンドの露出面積の割合が30%以上である、請求項1に記載の熱伝導体。
【請求項4】
前記(I)と、前記(II)と、前記(III-2)とを満たし、
前記ダイヤモンド含有金属層の前記他方の面における前記ダイヤモンドの露出面積の割合が30%以上である、請求項1に記載の熱伝導体。
【請求項5】
前記ダイヤモンドが、切頭八面体の頂点もしくは稜線の一部が切り取られた形状、または、六・八面体の頂点もしくは稜線の一部が切り取られた形状であり、
前記ダイヤモンドは、(i)切り取られた部分の面を1つ有し、前記切り取られた部分の面が前記ダイヤモンド含有金属層の一方の面と同一面であるか、または、(ii)切り取られた部分の面を2つ有し、一方の前記切り取られた部分の面が前記ダイヤモンド含有金属層の一方の面と同一面であり、他方の前記切り取られ部分の面が前記ダイヤモンド含有金属層の前記他方の面と同一面である、請求項1に記載の熱伝導体。
【請求項6】
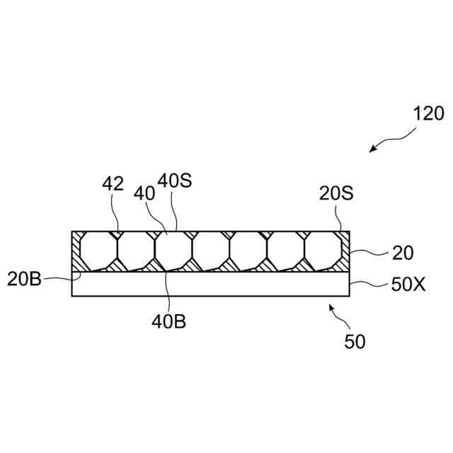
平面部を有する熱伝導性部材と、
前記平面部の少なくとも一方の面側に配置された前記ダイヤモンド含有金属層とを有し、
前記ダイヤモンド含有金属層は、前記ダイヤモンド含有金属層の一方の面が、前記平面部が位置する側と反対側となるように配置されている、請求項1に記載の熱伝導体。
【請求項7】
請求項1~6のいずれかに記載の熱伝導体からなる、ヒートスプレッダ。
【請求項8】
熱源体の上に配置され、熱的に接合される、請求項7に記載のヒートスプレッダと、
前記ヒートスプレッダの上に配置され、熱的に接合された、ヒートシンクとを備える、放熱構造体。
発明の詳細な説明
【技術分野】
【0001】
本発明は、熱伝導体およびヒートスプレッダに関するものである。また、前記ヒートスプレッダを備えた放熱構造体に関するものである。
続きを表示(約 2,600 文字)
【背景技術】
【0002】
ヒートシンク、ヒートスプレッダの性能を向上させるために熱伝導性に優れたダイヤモンドを使用することが知られている。例えば、特許文献1には、絶縁体層と、該絶縁体層の両側に配置された高熱伝導体層とを備え、前記絶縁体層が、接合層と、前記高熱伝導体層に突出されている絶縁性高熱伝導硬質粒子とを有する絶縁伝熱構造体において、前記接合層の面内方向の一方向で前記絶縁性高熱伝導硬質粒子を等間隔に複数配置した粒子群が、前記面内方向の前記一方向は異なる方向に等間隔で複数配置されていることを特徴とする絶縁伝熱構造体が開示されており、前記絶縁性高熱伝導硬質粒子の一つとして、ダイヤモンドが記載されている。
【先行技術文献】
【特許文献】
【0003】
特開2007-214492号公報
【発明の概要】
【発明が解決しようとする課題】
【0004】
熱源とヒートシンクの間にダイヤモンドが配置された層を備える構造とすることにより、熱源からのヒートシンクへの熱流路(縦ルート)の改善はなされる。しかし、特許文献1の構造体は、ダイヤモンドが間隔を空けて配置されており、ダイヤモンド間(横ルート)の熱移動がないため、十分にダイヤモンドの伝熱性能を使い切れているとはいえなかった。
【0005】
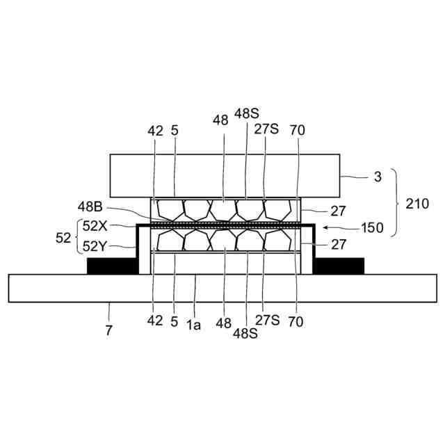
また、ヒートシンクとヒートスプレッダは、一般的に、熱伝導グリスや放熱ギャップフィラーといった接着剤によって接合されている。図11に示すように、ヒートシンク3とヒートスプレッダ14を接合する際に、ヒートシンク3やヒートスプレッダ14の表面の凹部60に熱伝導グリスや放熱ギャップフィラー等の接着剤5が詰まり、凹部60の空隙を埋めることで空気ポケット(エアギャップ)を埋めて、熱がしっかり伝わるようにされている。しかし、ダイヤモンドは硬い材料であるため、ヒートスプレッダ14の表面にダイヤモンド4bが突き出していると、ヒートシンク3と接合するときに、ヒートシンク3がダイヤモンド4bの先端に押されていびつな穴3Hができる可能性があった。そして、ダイヤモンド4bに押されたヒートシンク3に穴3Hができるときに、接着剤5が押し出され、穴3Hの形状もいびつな故に接着剤5が不十分となるおそれがあった。また、これにより、空気ポケットができる可能性があり、熱伝導率が低下するおそれがあった。
【0006】
かかる状況下、本発明は、隣接するダイヤモンド同士の熱流路を形成でき、他の部材と接合したときに他の部材を変形させにくい、熱伝導体およびヒートスプレッダを提供することを目的とする。また、前記ヒートスプレッダを備えた放熱構造体を提供することを目的とする。
【課題を解決するための手段】
【0007】
本発明の熱伝導体は、1層に並べられた複数のダイヤモンドと、前記ダイヤモンドを固定する金属とを含むダイヤモンド含有金属層を有する熱伝導体であって、下記(I)と、下記(II)と、下記(III-1)または(III-2)とを満たす。
(I)前記ダイヤモンドが、八面体以上の多面体であり、前記ダイヤモンド含有金属層から突き出しておらず、かつ、隣接するダイヤモンドと面接触している。
(II)前記ダイヤモンド含有金属層の一方の面は、前記ダイヤモンドの前記ダイヤモンド含有金属層の一方の面側の端部が、前記ダイヤモンド含有金属層の一方の面と同一面になるように平滑化された面である。
(III-1)前記ダイヤモンドの前記ダイヤモンド含有金属層の他方の面側の端部が、前記ダイヤモンドの頂点または稜線である。
(III-2)前記ダイヤモンド含有金属層の他方の面は、前記ダイヤモンドの前記他方の面側の端部が前記他方の面と同一面になるように平滑化された面であり、前記ダイヤモンドの前記他方の面側の平滑化前の端部が、頂点または稜線である。
【0008】
このような構造のダイヤモンド含有金属層は、その頂点または稜線を下にして1層に並べた、八面体以上の多面体である複数のダイヤモンドを前記金属で固着した層の少なくとも上側の面を平滑化することで得ることができる。
【0009】
このように、八面体以上のダイヤモンドを1層に配置した構成とすることで、薄くできるとともに、隣接するダイヤモンドを面接触させつつ、ダイヤモンドの露出面積を増やすことで、熱源体からの熱流路(縦ルート)に加えて、ダイヤモンド間の熱流路(横ルート)が形成され、より広く熱を拡散することができ、ダイヤモンドの伝熱性能を十分に発揮することができる。
【0010】
また、他の部材と接合したときに、他の部材にダメージを与えにくいものとできる。例えば、ヒートシンクおよび熱源体と組み合わせる場合、硬いダイヤモンドの方を相手側(ヒートシンクおよび熱源体)の表面形状に合わせる形になることから、相手側へダイヤモンドの硬さによる予期せぬダメージ(凹部形成)を与えないで済むようになる。ダイヤモンドは熱による変形が少ないが相手側はその限りではないことから、ダイヤモンドで相手側へダメージ(凹部形成)を与えた場合、熱による変形が無いタイミングでは空気ギャップが無い状態であったとしても、熱による変形が生じた際に、ダメージ(凹部形成)部分の変形により空気ギャップが発生する可能性がある。しかし、本発明の熱伝導体は、予期せぬダメージ(凹部形成)を与える可能性が低いため、熱による変形が無いタイミングで熱伝導グリスや放熱ギャップフィラー等の接着剤を用いて空気ギャップを埋めることで、熱による変形が生じても埋めが維持される期待値が高い。具体的には、図10に示すように、本発明の熱伝導体からなるヒートスプレッダ12をヒートシンク3に押し付け接合する場合には、ダイヤモンド4aによってヒートシンク3に予期せぬ穴が発生することが起こりにくい。また、ヒートシンク3が熱膨張しても、不規則な膨張が少なくなり、ヒートシンク3とヒートスプレッダ12の間の接着剤5がやや足りない状況でも、空気ギャップが発生しにくい。よって、縦方向の高い伝熱性を熱による変形が始まっても維持できる可能性を高くすることができる。
(【0011】以降は省略されています)
この特許をJ-PlatPat(特許庁公式サイト)で参照する
関連特許
ノリタケ株式会社
焼成冷却システム
1か月前
ノリタケ株式会社
電動式コンクリートカッター
26日前
ノリタケ株式会社
導電性組成物とこれを用いた複合体
1か月前
東ソー株式会社
絶縁電線
1か月前
APB株式会社
蓄電セル
1か月前
日機装株式会社
加圧装置
3日前
ローム株式会社
半導体装置
1か月前
日新イオン機器株式会社
イオン源
3日前
マクセル株式会社
電源装置
1か月前
株式会社東芝
端子台
1か月前
三菱電機株式会社
回路遮断器
26日前
富士電機株式会社
電磁接触器
18日前
株式会社GSユアサ
蓄電装置
1か月前
株式会社GSユアサ
蓄電装置
18日前
株式会社GSユアサ
蓄電装置
1か月前
株式会社GSユアサ
蓄電装置
1か月前
大電株式会社
電線又はケーブル
10日前
株式会社トクミ
ケーブル
4日前
トヨタ自動車株式会社
蓄電装置
1か月前
トヨタ自動車株式会社
バッテリ
1か月前
北道電設株式会社
配電具カバー
1か月前
株式会社東芝
電子源
3日前
個人
電源ボックス及び電子機器
3日前
トヨタ自動車株式会社
蓄電装置
10日前
日新イオン機器株式会社
基板処理装置
1か月前
日本特殊陶業株式会社
保持装置
1か月前
ホシデン株式会社
複合コネクタ
12日前
トヨタ自動車株式会社
冷却構造
1か月前
住友電装株式会社
コネクタ
1か月前
ローム株式会社
半導体モジュール
19日前
日本無線株式会社
レーダアンテナ
1か月前
日亜化学工業株式会社
半導体レーザ素子
1か月前
トヨタ自動車株式会社
密閉型電池
1か月前
株式会社レゾナック
冷却器
26日前
株式会社デンソー
電子装置
1か月前
ローム株式会社
半導体装置
1か月前
続きを見る
他の特許を見る