TOP
|
特許
|
意匠
|
商標
特許ウォッチ
Twitter
他の特許を見る
10個以上の画像は省略されています。
公開番号
2025151226
公報種別
公開特許公報(A)
公開日
2025-10-09
出願番号
2024052543
出願日
2024-03-27
発明の名称
シート材反転移載装置及びシート材の反転移載方法
出願人
グンゼ株式会社
代理人
弁理士法人矢野内外国特許事務所
主分類
B25J
15/06 20060101AFI20251002BHJP(手工具;可搬型動力工具;手工具用の柄;作業場設備;マニプレータ)
要約
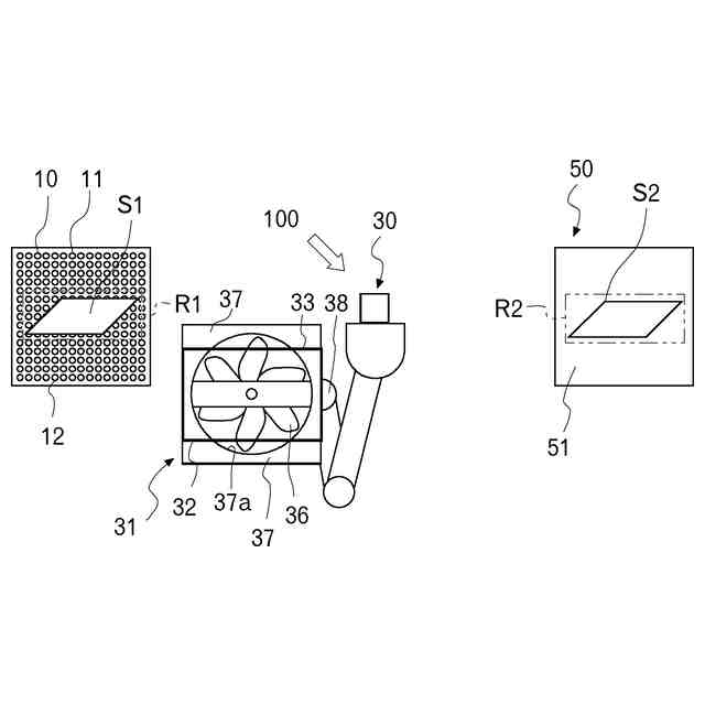
【課題】任意の位置に配置されたシートを吸着固定して反転させることができ、所定の位置に精度よく移載することができるシート材反転移載装置及びシート材の反転移載方法を提供する。
【解決手段】載置プレート10を支持する支持ユニット20と、載置プレート10を搬出して反転させる搬出ユニット30と、を備え、搬出ユニット30は、固定部材31を有し、固定部材31は、把持部32と、回転羽根36とを有し、搬出ユニット30は、固定部材31を載置プレート10の鉛直下方側に移動させて載置プレート10を把持部32で固定し、回転羽根36を回転させて、載置プレート10の下方空間に負圧を発生させて、第一の生地S1を吸着して固定し、搬出ユニット30により、載置プレート10を搬出して、載置プレート10を反転させて、載置プレート10が第二の位置R2に移動したときに、回転羽根36を停止して、第一の生地S1を開放する。
【選択図】図1
特許請求の範囲
【請求項1】
可撓性を有するシート材を載置する載置面に吸引孔が設けられる載置プレートと、
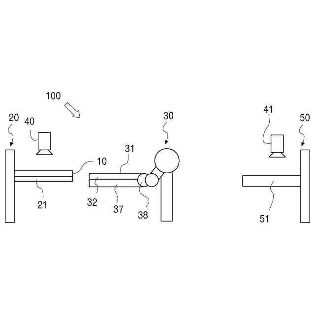
前記載置プレートを支持する支持ユニットと、
前記支持ユニットに支持された前記載置プレートを、前記支持ユニットから搬出して、前記載置プレートを反転させる搬出ユニットと、を備え、
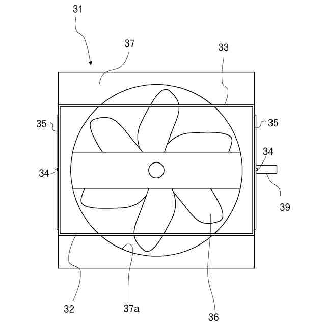
前記搬出ユニットは、前記載置プレートを把持して固定する固定部材を有し、
前記固定部材は、前記載置プレートを把持する把持部と、前記固定部材の中央部に配置された回転羽根と、を有し、
前記搬出ユニットは、前記固定部材を、前記支持ユニットに支持されている前記載置プレートの鉛直下方側に移動させて前記載置プレートを前記把持部で把持することで固定し、
前記回転羽根を回転させて、前記載置プレートの下方空間に負圧を発生させて、前記載置プレートの載置面に載置されたシート材を吸着して固定し、
前記搬出ユニットにより、前記支持ユニットから前記載置プレートを搬出して、前記載置プレートを反転させて、前記載置プレートを所定位置に移動して、
前記載置プレートが所定位置に移動したときに、前記回転羽根を停止して、前記載置プレートから前記シート材を開放する、
シート材反転移載装置。
続きを表示(約 1,000 文字)
【請求項2】
前記支持ユニットに支持された前記載置プレートに載置された前記シート材を撮像するカメラを備え、
前記カメラによって撮像した画像から、前記シート材の位置を算出し、算出した位置と前記所定位置から前記搬出ユニットの搬出経路を決定する、
ことを特徴とする請求項1に記載のシート材反転移載装置。
【請求項3】
前記所定位置は、別のシート材が配置された位置から算出され、前記別のシート材上の所定位置に前記シート材を重ね合わせる、
ことを特徴とする請求項1または請求項2に記載のシート材反転移載装置。
【請求項4】
前記載置プレートは、上面に前記載置面を形成する載置板と、前記載置板の下面端部を囲うように載置板に取り付けられた枠を有し、
前記載置板に設けられた前記吸引孔は、平面視において前記シート材の外形範囲よりも広い範囲に形成される、
ことを特徴とする請求項1または請求項2に記載のシート材反転移載装置。
【請求項5】
前記シート材を前記所定位置に開放した後、前記搬出ユニットにより前記載置プレートを前記支持ユニットに戻す、
ことを特徴とする請求項1または請求項2に記載のシート材反転移載装置。
【請求項6】
前記支持ユニットは、前記載置プレートを支持する支持部材を有し、
前記支持部材は、前記搬出ユニットの把持部を挿入可能な切欠き部を有する、
ことを特徴とする請求項1または請求項2に記載のシート材反転移載装置。
【請求項7】
可撓性を有するシート材を所定の位置に移動させて、反転させた状態で開放するシート材の反転移載方法であって、
可撓性を有するシート材を載置プレートに載置して、載置面に設けられた吸引孔からの吸引力によって前記シート材を固定する工程と、
前記固定されたシート材を載置した前記載置プレートを反転する工程と、
前記反転させた載置プレートを所定位置に搬出する工程と、
前記所定位置において前記シート材を開放する工程とを備え、
前記固定する工程において、回転羽根を回転させて、前記載置プレートの下方空間に負圧を発生させて、前記載置プレートの載置面に載置されたシート材を吸着して固定し、
前記開放する工程において、前記回転羽根を停止して、前記載置プレートから前記シート材を開放する
ことを特徴とするシート材の反転移載方法。
発明の詳細な説明
【技術分野】
【0001】
本発明は、可撓性を有するシート材を、所定の位置に移動させて、反転させた状態で開放するシート材反転移載装置及びシート材の反転移載方法の技術に関する。
続きを表示(約 2,100 文字)
【背景技術】
【0002】
従来、作業台に載置されたシート材を反転させて、所定位置に移載する方法として、反転テーブルを有する装置を用いた反転移載方法が知られている。従来技術においては、載置されたシート材をカメラで撮像して、撮像データから位置データを算出する。次に上方にある吸引プレートを下降させて、シート材上面を吸引固定した後、上方に持ち上げて算出した位置データに基づきシート材の位置を補正した後、反転テーブルの上面の所定位置にシート材を移載する。次に、反転テーブルに移載されたシート材を吸引固定し、その状態で反転テーブルを反転させて、吸引固定を解除し、シート材を所定の位置に反転、移載している(例えば、特許文献1参照)。
【0003】
例えば、衣服の製造において、第一の生地を第二の生地に重ね合わせる場合、作業者が第一の生地と第二の生地を所定位置に配置して、第一の生地または第二の生地を180度反転して、生地同士を重ね合わせる。この場合、反転する生地は、吸着プレートの吸着力によって固定され、180度回転後に生地の固定を解除して、相手の生地に重ね合わせる。しかし、ランダムに載置された第一の生地を所定の位置に載置されている第二の生地に重ね合わせる場合、各生地の位置関係が一定ではないため、上述の方法では、生地同士を所定位置で重ね合わせることができなかった。
【0004】
そこで、ランダムに載置されている第二の生地をカメラで撮像して位置データを算出し、算出したデータに基づき、一方の生地位置を補正する補正機構と、生地位置を補正した生地を反転させる機構を別に設けて、生地を反転して重ね合わせる装置が公知となっている(例えば、特許文献1参照)。しかし、このような移載装置においては、生地の移載に際して各生地の位置補正を行う必要があり、生地を受け渡す回数が多くなるため生産性の向上を図ることができなかった。
【先行技術文献】
【特許文献】
【0005】
特許第6033028号公報
【発明の概要】
【発明が解決しようとする課題】
【0006】
また、生地の受け渡しの回数を減らすために、第一の生地を載置した吸着プレート自体を補正データに基づいて所定位置に反転、載置すればよいが、ホースを介してブロア等に接続された吸着プレートの吸引力が弱く、反転時に第一の生地が落下する課題があった。
【0007】
シート剛性が低い生地などの可撓性を有するシートは、吸引されていない箇所(または吸引力が弱い箇所)が撓みやすく、それが原因でシートが落下することがあり、シート剛性が高いシートに比べ、吸引力を強くする必要がある。しかし、吸引力を強くするために、ブロア等を大型化したり、ホース径を大きくしたりすると、吸着プレート自体をロボット等で取り出し、反転する場合、装置の大型化が避けられず、更に吸着プレートに接続されたホース等の取り回しによる制約から可動領域が制限され、多品種の生産性が低くなるという課題があった。
【0008】
そこで、本発明は以上の如き状況に鑑みてなされたものであり、任意の位置に配置されたシートを吸着固定して反転させることができ、所定の位置に精度よく移載することができるシート材反転移載装置及びシート材の反転移載方法を提供することを課題とする。
【課題を解決するための手段】
【0009】
本発明の解決しようとする課題は以上の如くであり、次にこの課題を解決するための手段を説明する。
【0010】
即ち、本願に開示するシート材反転移載装置は、可撓性を有するシート材を載置する載置面に吸引孔が設けられる載置プレートと、
前記載置プレートを支持する支持ユニットと、
前記支持ユニットに支持された前記載置プレートを、前記支持ユニットから搬出して、前記載置プレートを反転させる搬出ユニットと、を備え、
前記搬出ユニットは、前記載置プレートを把持して固定する固定部材を有し、
前記固定部材は、前記載置プレートを
把持する把持部と、前記固定部材の中央部に配置された回転羽根と、を有し、
前記搬出ユニットは、前記固定部材を、前記支持ユニットに支持されている前記載置プレートの鉛直下方側に移動させて前記載置プレートを前記把持部で把持することで固定し、
前記回転羽根を回転させて、前記載置プレートの下方空間に負圧を発生させて、前記載置プレートの載置面に載置されたシート材を吸着して固定し、
前記搬出ユニットにより、前記支持ユニットから前記載置プレートを搬出して、前記載置プレートを反転させて、前記載置プレートを所定位置に移動して、
前記載置プレートが所定位置に移動したときに、前記回転羽根を停止して、前記載置プレートから前記シート材を開放するものである。
(【0011】以降は省略されています)
この特許をJ-PlatPat(特許庁公式サイト)で参照する
関連特許
グンゼ株式会社
導電性フィルム、及び、導電性フィルムの製造方法
6日前
グンゼ株式会社
シート材反転移載装置及びシート材の反転移載方法
1か月前
グンゼ株式会社
抗菌性フィルム
13日前
グンゼ株式会社
青果物の包装袋に用いるフィルム
今日
個人
フラワーホッチキス。
1か月前
個人
手持ち挟持具
15日前
川崎重工業株式会社
ロボット
1か月前
トヨタ自動車株式会社
学習装置
今日
株式会社不二越
ロボット
1か月前
株式会社竹中工務店
補助セット
1か月前
川崎重工業株式会社
ハンド
1か月前
株式会社マキタ
ハンマドリル
24日前
株式会社マキタ
ハンマドリル
24日前
工機ホールディングス株式会社
作業機
1か月前
トヨタ自動車株式会社
ロボット
1か月前
川崎重工業株式会社
塗装システム
1か月前
株式会社安川電機
ロボット
21日前
株式会社三共コーポレーション
工具保持具
15日前
トヨタ自動車株式会社
軌道生成装置
1か月前
株式会社不二越
垂直多関節ロボット
今日
アネックスツール株式会社
ドライバービット
1か月前
工機ホールディングス株式会社
作業機
1か月前
トヨタ自動車株式会社
ロボットハンド
21日前
ワールド技研株式会社
ロボットセル装置
1か月前
株式会社不二越
ロボットに用いる伝送路
1か月前
株式会社マキタ
現場用作業機
1か月前
株式会社マキタ
回転打撃工具
1か月前
川崎重工業株式会社
ワーク搬送ロボット
1か月前
トヨタ自動車株式会社
ロボットの制御装置
1か月前
セイコーエプソン株式会社
ロボット
1か月前
山九株式会社
レンチ保持治具
1か月前
ニデックインスツルメンツ株式会社
産業用ロボット
13日前
学校法人立命館
ロボットハンド制御システム
1か月前
株式会社マキタ
作業機
27日前
株式会社マキタ
電動工具
今日
川崎重工業株式会社
ロボット
1か月前
続きを見る
他の特許を見る