TOP
|
特許
|
意匠
|
商標
特許ウォッチ
Twitter
他の特許を見る
10個以上の画像は省略されています。
公開番号
2025150997
公報種別
公開特許公報(A)
公開日
2025-10-09
出願番号
2024052196
出願日
2024-03-27
発明の名称
加速器システム、粒子線治療システム、加速器の制御方法及び粒子線治療システムの制御方法
出願人
株式会社日立ハイテク
代理人
弁理士法人ウィルフォート国際特許事務所
主分類
H05H
13/04 20060101AFI20251002BHJP(他に分類されない電気技術)
要約
【課題】荷電粒子ビームの出射効率の低下を抑制することが可能な加速器システムを提供する。
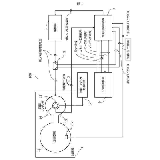
【解決手段】加速器1は、入力された高周波電圧を用いて共振周波数に応じた加速用高周波電圧を励起する加速空胴11と、加速空胴11の共振周波数を変調する回転コンデンサ13とを備え、入射された荷電粒子ビームを加速用高周波電圧によって加速し出射する。加速電圧モニタ12は、加速用高周波電圧を検出する。高周波制御装置3は、検出された加速用高周波電圧の周波数に基づいて、入力高周波電圧を共振周波数の変化に追従されるように変調しつつ、加速器1に対する荷電粒子ビームの入射及び出射を制御する。
【選択図】図1
特許請求の範囲
【請求項1】
入力された入力高周波電圧を用いて共振周波数に応じた加速用高周波電圧を励起する加速空胴と、前記共振周波数を時間的に変化させる変調器とを備え、入射された荷電粒子ビームを前記加速用高周波電圧によって加速して出射する加速器と、
前記加速用高周波電圧を検出する電圧検出部と、
前記検出された加速用高周波電圧の周波数に基づいて、前記入力高周波電圧の周波数を前記共振周波数の変化に追従されるように変調しつつ、前記加速器に対する前記荷電粒子ビームの入射及び出射を制御する高周波制御装置と、を有する加速器システム。
続きを表示(約 1,200 文字)
【請求項2】
前記高周波制御装置は、前記加速用高周波電圧の周波数が所定の入射周波数に到達した場合に、前記荷電粒子ビームを入射する、請求項1に記載の加速器システム。
【請求項3】
前記入射周波数は、前記荷電粒子ビームを構成する荷電粒子の種類に応じて異なる、請求項2に記載の加速器システム。
【請求項4】
前記高周波制御装置は、前記加速用高周波電圧の周波数が所定の出射周波数に到達した場合に、前記荷電粒子ビームを出射する、請求項1乃至3のいずれか1項に記載の加速器システム。
【請求項5】
前記出射周波数は、前記共振周波数の周期である運転周期ごとに設定される、請求項4に記載の加速器システム。
【請求項6】
前記変調器は、前記加速空胴に接続され、互いに対向する電極対の一方を回転させて前記電極対が重なり合う重畳面積を変化させることにより静電容量を変化させて、前記共振周波数を時間的に変化させる回転コンデンサであり、
前記加速器は、前記電極対の回転角度を検出する角度検出部と、をさらに備え、
前記高周波制御装置は、前記検出された回転角度に基づいて、前記入力高周波電圧の変調を開始する開始タイミングを制御する、請求項1乃至5のいずれか1項に記載の加速器システム。
【請求項7】
前記角度検出部は、前記回転角度の変化に応じたパルス信号を出力するロータリーエンコーダであり、
前記高周波制御装置は、前記回転角度が基準値の時点から前記パルス信号をカウントしたカウント値が所定値に到達した場合、前記入力高周波電圧の変調を開始する、請求項6に記載の加速器システム。
【請求項8】
請求項1乃至7のいずれか1項に記載の加速器システムと、
前記加速器システムから出射された荷電粒子ビームを患者に照射する照射装置と、を備えた粒子線治療システム。
【請求項9】
前記荷電粒子ビームの照射線量を計測する線量モニタと、
前記患者内の複数の照射位置に対して順番に前記荷電粒子ビームを照射するように制御する上位制御装置と、をさらに備え、
前記上位制御装置は、前記照射位置のいずれかに照射した照射量が目標値に到達すると、前記荷電粒子ビームを照射する前記照射位置を変更する、請求項8に記載の粒子線治療システム。
【請求項10】
前記高周波制御装置は、エネルギー変更指令が入力されると、前記加速器から出射する荷電粒子ビームのエネルギーを変更し、
前記上位制御装置は、所定のエネルギーを有する前記荷電粒子ビームの照射が完了すると前記エネルギー変更指令を前記高周波制御装置に出力する、請求項9に記載の粒子線治療システム。
(【請求項11】以降は省略されています)
発明の詳細な説明
【技術分野】
【0001】
本開示は、加速器システム、粒子線治療システム、加速器の制御方法及び粒子線治療システムの制御方法に関する。
続きを表示(約 1,800 文字)
【背景技術】
【0002】
荷電粒子ビームを加速して出射する加速器として、強度が時間的に一定の主磁場の中で、周波数を時間的に変調させた加速用高周波電圧を荷電粒子ビームに印加することで、その荷電粒子ビームを加速する円形加速器が注目されている。この種の円形加速器は、超電導コイルを用いて主磁場を生成することができるため、小型化及び低コスト化に有利であり、特に粒子線治療システムなどに適用されている。
【0003】
加速用高周波電圧は、加速用高周波電圧を励起する加速空胴と接続された変調器を用いて加速空胴の共振周波数を変調する。変調器として、例えば、回転コンデンサが挙げられる。回転コンデンサは、コンデンサを構成する電極が等速回転することで、加速空胴の共振周波数を変化させる。この共振周波数の変化に追従した高周波電圧を加速空胴に供給することで、荷電粒子ビームを安定に加速できる。
【0004】
また、加速空胴の共振周波数は、荷電粒子ビームの入射、加速及び出射などの加速器の運転における各段階において、その各段階における荷電粒子ビームのエネルギーに応じた値に制御される必要がある。そのため、加速空胴に供給する加速用高周波電圧を制御するうえで、加速空胴の共振周波数を把握することが重要である。加速空胴の共振周波数を直接測定することは困難であるが、加速空胴の共振周波数を変調する回転コンデンサが等速回転するため、共振周波数の時間的な変化を予測できる。このため、通常、加速器の運転の開始を指示するマスタトリガ信号が入力された時点からの経過時間に応じて、加速空胴の共振周波数が判断されている。
【0005】
しかしながら、回転コンデンサの回転数には、回転コンデンサを回転させるモータや回転コンデンサの組立公差による偏心などに起因するゆらぎが生じる。この揺らぎに伴い、加速空胴の共振周波数にもゆらぎが生じる。このため、マスタトリガ信号の入力時点からの経過時間では、共振周波数を正確に把握することができず、加速器の運転における各段階の荷電粒子ビームのエネルギーが理想的な値からずれてしまい、荷電粒子ビームの加速及び出射効率の低下を招く恐れがある。
【0006】
これに対して特許文献1には、回転コンデンサの静電容量又は回転角度などを検知して、荷電粒子ビームを入射する入射タイミングを制御する加速器が開示されている。
【先行技術文献】
【特許文献】
【0007】
特許6385625号
【発明の概要】
【発明が解決しようとする課題】
【0008】
特許文献1に記載の技術では、荷電粒子ビームの入射から出射までの間に共振周波数の増減方向が変化しないように、荷電粒子ビームの入射タイミングを静電容量などに基づいて判断しているだけであり、回転コンデンサの回転数のゆらぎについては全く考慮されていない。このため、荷電粒子ビームの出射タイミングについては、荷電粒子ビームの入射からの時間に基づいて制御しており、出射時における荷電粒子ビームのエネルギーが回転コンデンサの回転数のゆらぎによって理想的な値からずれてしまい、荷電粒子ビームの加速効率及び出射効率の低下を抑制することができない。
【0009】
本開示の目的は、荷電粒子ビームの加速効率及び出射効率の低下を抑制することが可能な加速器システム、粒子線治療システム、加速器の制御方法及び粒子線治療システムの制御方法を提供することにある。
【課題を解決するための手段】
【0010】
本開示の一態様に従う加速器システムは、入力された入力高周波電圧を用いて共振周波数に応じた加速用高周波電圧を励起する加速空胴と、前記共振周波数を時間的に変化させる変調器とを備え、入射された荷電粒子ビームを前記加速用高周波電圧によって加速して出射する加速器と、前記加速用高周波電圧を検出する電圧検出部と、前記検出された加速用高周波電圧の周波数に基づいて、前記入力高周波電圧の周波数を前記共振周波数の変化に追従されるように変調しつつ、前記加速器に対する前記荷電粒子ビームの入射及び出射を制御する高周波制御装置と、を有する。
【発明の効果】
(【0011】以降は省略されています)
この特許をJ-PlatPat(特許庁公式サイト)で参照する
関連特許
株式会社日立ハイテク
真空処理装置
12日前
株式会社日立ハイテク
半導体処理装置
12日前
株式会社日立ハイテク
検体処理システム
12日前
株式会社日立ハイテク
診断装置および診断方法
6日前
株式会社日立ハイテク
検体搬送装置、検体分析システム、及び検体前処理装置
12日前
株式会社日立ハイテク
フリッカ値算出及び電源高調波解析装置、分析装置、フリッカ値算出及び電源高調波解析方法
1日前
株式会社日立ハイテク
T細胞受容体(TCR)またはB細胞受容体(BCR)レパトアおよび遺伝子発現の同時解析を可能にするNGSライブラリ調製方法
12日前
個人
電子部品の実装方法
1か月前
愛知電機株式会社
装柱金具
27日前
個人
非衝突型ガウス加速器
2か月前
日本精機株式会社
回路基板
1か月前
個人
電気式バーナー
19日前
イビデン株式会社
配線基板
28日前
個人
節電材料
3か月前
日本放送協会
基板固定装置
1か月前
アイホン株式会社
電気機器
1か月前
アイホン株式会社
電気機器
2か月前
キヤノン株式会社
電子機器
1か月前
メクテック株式会社
配線基板
2か月前
個人
静電気中和除去装置
6日前
東レ株式会社
霧化状活性液体供給装置
2か月前
マクセル株式会社
配列用マスク
3か月前
イビデン株式会社
配線基板
2か月前
FDK株式会社
基板
1か月前
株式会社デンソー
電子装置
28日前
株式会社レクザム
剥離装置
27日前
イビデン株式会社
配線基板
2か月前
サクサ株式会社
筐体の壁掛け構造
2か月前
サクサ株式会社
開き角度規制構造
26日前
イビデン株式会社
プリント配線板
1か月前
イビデン株式会社
プリント配線板
3か月前
シャープ株式会社
加熱機器
12日前
オムロン株式会社
端子折り曲げ治具
1か月前
カシン工業株式会社
PTC発熱装置
3か月前
日産自動車株式会社
電子機器
3か月前
富士フイルム株式会社
積層体
28日前
続きを見る
他の特許を見る