TOP
|
特許
|
意匠
|
商標
特許ウォッチ
Twitter
他の特許を見る
10個以上の画像は省略されています。
公開番号
2025150965
公報種別
公開特許公報(A)
公開日
2025-10-09
出願番号
2024052145
出願日
2024-03-27
発明の名称
圧電振動デバイス及び圧電振動デバイスの製造方法
出願人
株式会社大真空
代理人
個人
,
個人
主分類
H01L
23/28 20060101AFI20251002BHJP(基本的電気素子)
要約
【課題】フィラー粒子を主成分とするモールド部に対してレーザーによって刻印された部分の視認性を向上させた圧電振動デバイス及び圧電振動デバイスの製造方法を提供することを目的とする。
【解決手段】基板11と、基板11に搭載される振動子2と、基板11に搭載される集積回路素子10と、少なくとも複数の球状のフィラー粒子12aと熱硬化性樹脂12bとの混合物によって構成され、少なくとも振動子2を覆うモールド部12と、を有する圧電振動デバイス1である。モールド部12は、異なる粒径のフィラー粒子12aを含む複数のフィラー粒子12aが熱硬化性樹脂12bによって結合され、表面にレーザーLの照射によって形成された溝部13を有する。溝部13は、モールド部12に含まれるフィラー粒子12aのうち最大のフィラー粒子12aの粒径の0.9倍以上の溝幅Wを有する。
【選択図】図6
特許請求の範囲
【請求項1】
基板と、
前記基板に搭載される圧電振動子と、
前記基板に搭載される電子部品と、
少なくとも複数のフィラー粒子と絶縁性樹脂との混合物によって構成され、少なくとも前記圧電振動子を覆うモールド部と、を有する圧電振動デバイスであって、
前記モールド部は、
異なる粒径のフィラー粒子を含む複数のフィラー粒子が絶縁性樹脂によって結合され、表面にレーザーの照射によって形成された溝部を有し、
前記溝部は、
前記モールド部に含まれる前記フィラー粒子のうち最大のフィラー粒子の粒径の0.9倍以上の溝幅を有する、
圧電振動デバイス。
続きを表示(約 750 文字)
【請求項2】
請求項1に記載の圧電振動デバイスにおいて、
前記溝部は、
前記溝幅以下の溝深さを有する、
圧電振動デバイス。
【請求項3】
請求項1に記載の圧電振動デバイスにおいて、
前記溝部は、
前記モールド部に含まれる前記フィラー粒子のうち最大のフィラー粒子の粒径の0.5倍以下の溝深さを有する、
圧電振動デバイス。
【請求項4】
基板と、前記基板に搭載される圧電振動子と、前記基板に搭載される電子部品と、少なくとも前記圧電振動子を覆うモールド部と、を有し、前記モールド部にレーザーの照射によって溝部が形成された圧電振動デバイスの製造方法であって、
少なくとも異なる粒径のフィラー粒子を含む複数のフィラー粒子と絶縁性樹脂との混合物によって、少なくとも前記圧電振動子を覆うことにより前記モールド部を形成するモールド工程と、
前記モールド部の表面よりもレーザーの光源側にレーザーの焦点を合わせて、前記モールド部に含まれる前記フィラー粒子のうち最大のフィラー粒子の粒径の0.9倍以上の溝幅を有する溝部を形成する溝部形成工程と、を有し、
前記溝部形成工程において、前記モールド部の表面に照射される前記レーザーの照射径は、
前記溝幅の0.5倍以上且つ1倍未満である、
圧電振動デバイスの製造方法。
【請求項5】
請求項4に記載の圧電振動デバイスの製造方法において、
前記溝部形成工程において、前記レーザーは、
前記モールド部の表面に垂直な方向に見て、照射径の一部が重なるように前記モールド部の表面に照射される、
圧電振動デバイスの製造方法。
発明の詳細な説明
【技術分野】
【0001】
この発明は、圧電振動デバイス及び圧電振動デバイスの製造方法に関する。
続きを表示(約 1,900 文字)
【背景技術】
【0002】
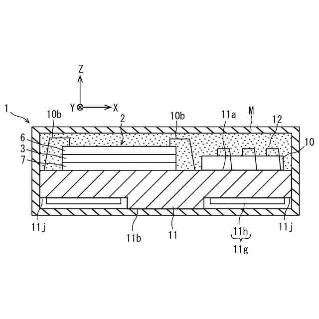
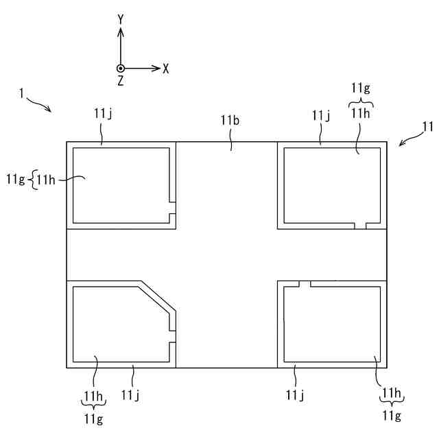
基板上に前記圧電素子と集積回路素子とを実装した圧電振動デバイスは、各種電子機器の小型化に伴い、パッケージの小型化が求められている。そこで、前記基板上に積層構造の前記圧電振動子と前記集積回路素子を実装した圧電振動デバイスが知られている。前記圧電振動デバイスは、下面に外部接続端子が形成され、上面に前記外部接続端子と電気的に接続されている配線電極が形成された基板と、前記基板の上面に配置され、前記配線電極に電気的に接続される圧電振動子及び前記集積回路素子と、前記圧電振動子を覆うモールド部と、を備えている。
【0003】
このように小型化された圧電振動デバイスにおいて、種類等を識別するために、レーザーによって前記モールド部に文字等を刻印する技術が知られている。特許文献1には、基板を覆うソルダーレジストにレーザーによる加熱によって文字等を表示するための凸部を加工する。前記ソルダーレジストは、熱によって容易に変形、変色させることができる絶縁性樹脂によって構成されている。よって、レーザーが照射されたソルダーレジストは、レーザーの熱によって発泡し、表面が盛り上がるとともに変色する。表面が盛り上がり、且つ変色した部分は、文字等として認識される。
【先行技術文献】
【特許文献】
【0004】
特開2014-123682号公報
【発明の概要】
【発明が解決しようとする課題】
【0005】
一方、圧電振動子を覆うモールド部は、前記圧電振動子を絶縁するだけでなく、衝撃等から保護している。強度が求められる前記モールド部は、粒状のシリカガラスであるフィラー粒子と絶縁性樹脂とによって構成されている。前記フィラー粒子は、前記絶縁性樹脂によって結合されている。つまり、前記モールド部は、前記フィラー粒子を主成分として構成されている。前記フィラー粒子は、耐熱性が高く、レーザーの熱によって変形および変色しない。よって、前記モールド部は、レーザー加工によって刻印された部分の視認性が低い場合があった。
【0006】
本発明は、フィラー粒子を主成分とするモールド部に対してレーザーによって刻印された部分の視認性を向上させた圧電振動デバイス及び圧電振動デバイスの製造方法を提供することを目的とする。
【課題を解決するための手段】
【0007】
本発明者らは、フィラー粒子を主成分とするモールド部に対してレーザーによって刻印された部分の視認性を向上させた圧電振動デバイスについて検討した。鋭意検討の結果、本発明者らは、以下のような構成に想到した。
【0008】
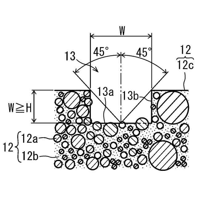
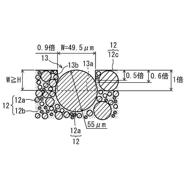
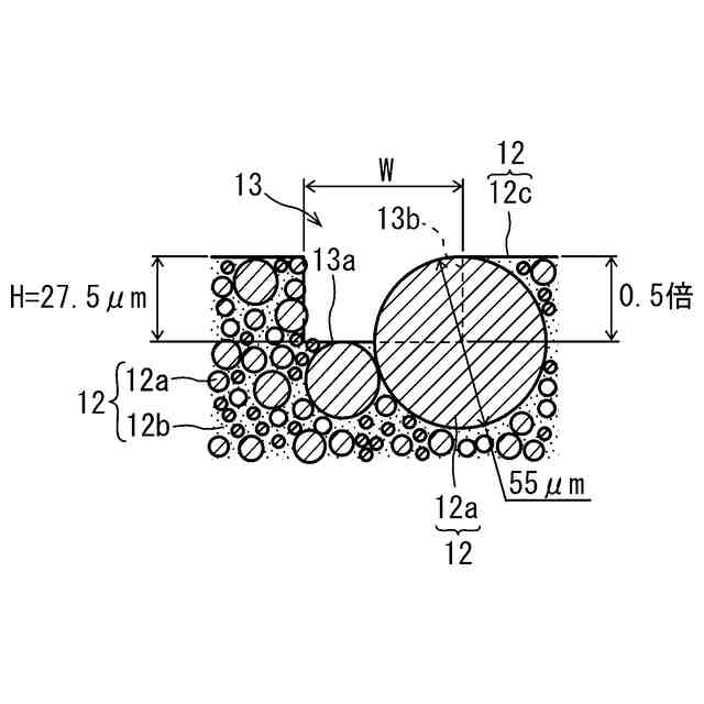
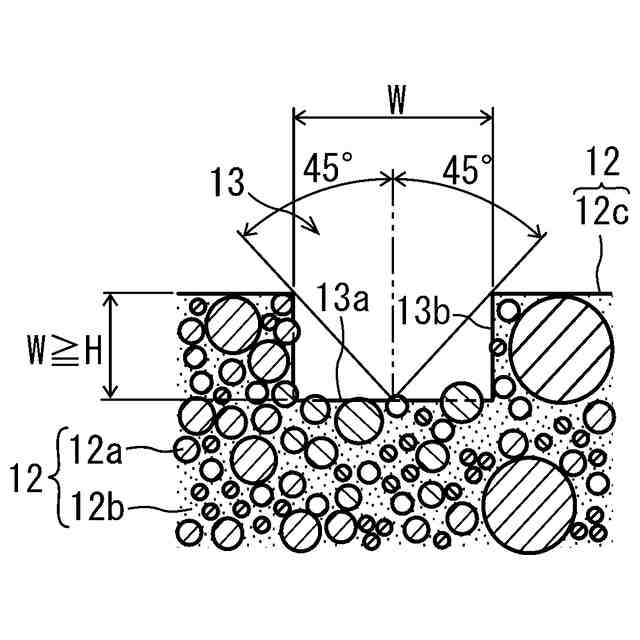
基板と、前記基板に搭載される圧電振動子と、前記基板に搭載される電子部品と、複数の球状のフィラー粒子と絶縁性樹脂との混合物によって構成され、少なくとも前記圧電振動子を覆うモールド部と、を有する圧電振動デバイスである。前記モールド部は、異なる粒径のフィラー粒子を含む複数のフィラー粒子が絶縁性樹脂によって結合され、表面にレーザーの照射によって形成された溝部を有する。前記溝部は、前記モールド部に含まれる前記フィラー粒子のうち最大のフィラー粒子の粒径の0.9倍以上の溝幅を有する。
【0009】
上述の構成では、圧電振動デバイスは、レーザーの照射によって前記モールド部に溝部が形成される。前記モールド部において、前記レーザーが照射された部分に位置する絶縁性樹脂は、前記モールド部に含まれる前記フィラー粒子のうち最大のフィラー粒子の粒径の0.9倍以上の溝幅及び所定の溝深さの範囲で昇華される。前記溝部内に全体が含まれるフィラー粒子は、絶縁性樹脂の昇華によって隣り合うフィラー粒子から離れて、前記溝部内から離脱する。これにより、前記溝部は、前記モールド部の表面よりもへこんだ部分が形成される。
【0010】
前記溝部内に一部が含まれないフィラー粒子は、前記絶縁性樹脂による隣り合うフィラー粒子との結合部分のうち少なくとも一部が昇華することなく残る。よって、前記フィラー粒子は、前記溝部内に留まる。この際、前記溝部が前記モールド部に含まれるフィラー粒子のうち最大径のフィラー粒子の粒径の0.9倍の溝幅を有し、前記フィラー粒子が前記溝部の中央に位置し、且つ前記フィラー粒子の頂部が前記モールド部の表面と同一平面上に位置している場合、前記モールド部の表面から前記溝部の壁面位置における前記フィラー粒子の表面までの深さは、前記フィラー粒子の半径の約0.6倍になる。
(【0011】以降は省略されています)
この特許をJ-PlatPat(特許庁公式サイト)で参照する
関連特許
株式会社大真空
恒温槽型圧電発振器
3か月前
株式会社大真空
圧電振動デバイス及び圧電振動デバイスの製造方法
1か月前
東ソー株式会社
絶縁電線
1か月前
APB株式会社
蓄電セル
1か月前
個人
フレキシブル電気化学素子
1か月前
日新イオン機器株式会社
イオン源
1か月前
ローム株式会社
半導体装置
1か月前
マクセル株式会社
電源装置
25日前
株式会社東芝
端子台
25日前
株式会社ユーシン
操作装置
1か月前
株式会社GSユアサ
蓄電設備
1か月前
株式会社GSユアサ
蓄電設備
1か月前
三菱電機株式会社
回路遮断器
12日前
株式会社GSユアサ
蓄電装置
26日前
富士電機株式会社
電磁接触器
4日前
株式会社GSユアサ
蓄電装置
26日前
株式会社GSユアサ
蓄電装置
18日前
株式会社GSユアサ
蓄電装置
4日前
オムロン株式会社
電磁継電器
1か月前
株式会社ホロン
冷陰極電子源
1か月前
太陽誘電株式会社
コイル部品
1か月前
トヨタ自動車株式会社
蓄電装置
1か月前
日本特殊陶業株式会社
保持装置
17日前
トヨタ自動車株式会社
冷却構造
1か月前
日本特殊陶業株式会社
保持装置
1か月前
トヨタ自動車株式会社
蓄電装置
26日前
日東電工株式会社
積層体
1か月前
トヨタ自動車株式会社
バッテリ
1か月前
日新イオン機器株式会社
基板処理装置
28日前
ノリタケ株式会社
熱伝導シート
1か月前
トヨタ自動車株式会社
バッテリ
1か月前
北道電設株式会社
配電具カバー
1か月前
サクサ株式会社
電池の固定構造
1か月前
東レエンジニアリング株式会社
実装装置
1か月前
日本製紙株式会社
導電性フィルム
1か月前
日亜化学工業株式会社
半導体レーザ素子
28日前
続きを見る
他の特許を見る