TOP
|
特許
|
意匠
|
商標
特許ウォッチ
Twitter
他の特許を見る
公開番号
2025150924
公報種別
公開特許公報(A)
公開日
2025-10-09
出願番号
2024052087
出願日
2024-03-27
発明の名称
ドレンコック
出願人
日野自動車株式会社
代理人
個人
,
個人
,
個人
主分類
F16K
5/04 20060101AFI20251002BHJP(機械要素または単位;機械または装置の効果的機能を生じ維持するための一般的手段)
要約
【課題】信頼性を向上可能なドレンコックを提供する。
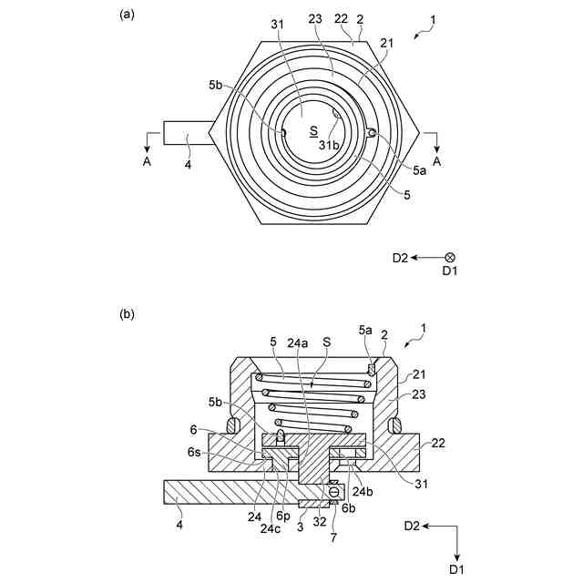
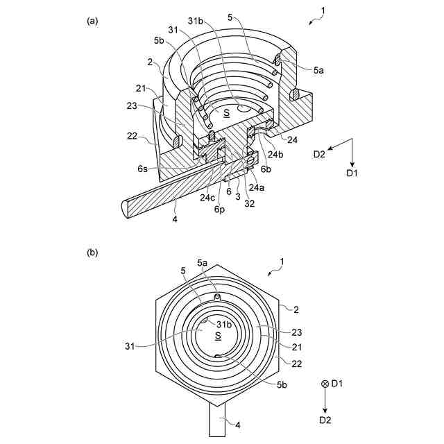
【解決手段】ドレンコック1は、底部24を有すると共に空間Sを形成するボディー2と、空間S内に位置し、底部24に沿って延在する第1部分31と底部24を貫通して空間S外に延在する第2部分32とを含むロッド3と、ロッド3の第2部分32に設けられ、第2部分32の延在方向に交差する方向に延在するレバー4と、空間S内に配置されると共にボディー2及び第1部分31に係止され、第1部分31を底部24に向けて付勢するコイルスプリンと、を備える。底部24には第1排出口24bが設けられ、第1部分31には第2排出口31bが設けられている。第2排出口31bは、レバー4の回転操作に応じて第1部分31が回転したときに、第1排出口24bに連通するように第1部分31に設けられている。
【選択図】図2
特許請求の範囲
【請求項1】
車両用エアタンクの下面に取り付けられ、前記車両用エアタンクからドレンを排出するためのドレンコックであって、
前記下面に取り付けられ、底部を有すると共に空間を形成するボディーと、
前記空間内に位置し、前記底部に沿って延在する第1部分と、前記第1部分から前記底部を貫通して前記空間外に延在する第2部分と、を含むロッドと、
前記ロッドの前記第2部分に設けられ、前記第2部分の延在方向である第1方向に交差する方向に延在するレバーと、
前記空間内に配置されると共に前記ボディー及び前記第1部分に係止され、前記第1部分を前記底部に向けて付勢する弾性部材と、
を備え、
前記底部には、前記ドレンを排出するための第1排出口が設けられており、
前記第1部分には、前記ドレンを排出するための第2排出口が設けられており、
前記第2排出口は、前記第1部分が前記第1方向に沿う回転軸の周りに回転したときに前記第1排出口に連通するように前記第1部分に設けられており、
前記レバーは、当該レバーを前記回転軸の周りに回転したときに、前記第2部分を介して前記第1部分を前記弾性部材の弾性力に抗して前記回転軸の周りに回転可能なように、前記第2部分に取り付けられている、
ドレンコック。
続きを表示(約 340 文字)
【請求項2】
前記第1方向からみて前記第2部分を囲うように、前記底部と前記第1部分との間に介在されたパッキンを備え、
前記パッキンには、前記ドレンを排出するための第3排出口が設けられており、
前記パッキンは、前記第3排出口が前記第1排出口に連通した状態において前記底部に係止されている、
請求項1に記載のドレンコック。
【請求項3】
前記パッキンは、前記第1方向からみて前記第2部分を囲うように円環状に形成され、
前記パッキンにおける前記底部に臨む面には、前記第3排出口を囲むように、当該パッキンの径方向に延在するリップ及び当該パッキンの周方向に延在するリップが突設されている、
請求項2に記載のドレンコック。
発明の詳細な説明
【技術分野】
【0001】
本発明は、ドレンコックに関する。
続きを表示(約 2,100 文字)
【背景技術】
【0002】
特許文献1には、トラックのエアブレーキ、エアサスペンション等のエア機器に圧縮空気を供給するためのエアタンクに設けられたドレンコックを備える水抜き構造が記載されている。この水抜き構造では、ドレンコックはエアタンクの下部に設けられており、当該ドレンコックを手動により開放することにより、エアタンクのドレンを排出できるようにされている。
【先行技術文献】
【特許文献】
【0003】
特開平9-188243号公報
【発明の概要】
【発明が解決しようとする課題】
【0004】
ところで、ドレンコックとしては、エアタンクの下面に設けれ、底部を有する空間を形成するボディーと、ボディーの底部に貫設されたロッドと、底部とロッドとの間に隙間を封止するためのパッキンと、パッキンを底部側に付勢するためのスプリングと、ロッドの先端に設けられた操作リングと、を備えるものが知られている。
【0005】
このようなドレンコックを使用する際には、例えば、操作リングを把持しつつ、ロッドの延在方向に交差する方向に操作リング引っ張ることにより、ロッドを傾斜させる。これにより、傾斜したロッドによって、てこの原理を利用し、スプリングの付勢力に抗しつつパッキンに隙間を生じさせ、ロッドとボディーの底部との隙間からドレンを排出させる。
【0006】
このようなドレンコックにあっては、次のような問題点が生じ得る。すなわち、当該車両が寒冷地で使用される場合、操作リングに水や雪がかかって着氷し、氷塊が発生する場合がある。この場合、車両の走行に応じて氷塊が振れ回り、意図せずにロッドが傾斜させられて、エア漏れが生じ得る。また、当該車両が不整地等で使用される場合、車両の走行に応じて跳ね上げられた砂や泥が、ボディーの底部とロッドとの隙間に入り込み、ロッドが常に傾斜した状態となることで、エア漏れが生じ得る。したがって、ドレンコックにあっては、エア漏れを抑制して信頼性の向上を図ることが望まれている。
【0007】
本発明は、信頼性を向上可能なドレンコックを提供することを目的とする。
【課題を解決するための手段】
【0008】
本発明に係るドレンコックは、車両用エアタンクの下面に取り付けられ、車両用エアタンクからドレンを排出するためのドレンコックであって、下面に取り付けられ、底部を有すると共に空間を形成するボディーと、空間内に位置し、底部に沿って延在する第1部分と、第1部分から底部を貫通して空間外に延在する第2部分と、を含むロッドと、ロッドの第2部分に設けられ、第2部分の延在方向である第1方向に交差する方向に延在するレバーと、空間内に配置されると共にボディー及び第1部分に係止され、第1部分を底部に向けて付勢する弾性部材と、を備え、底部には、ドレンを排出するための第1排出口が設けられており、第1部分には、ドレンを排出するための第2排出口が設けられており、第2排出口は、第1部分が第1方向に沿う回転軸の周りに回転したときに第1排出口に連通するように第1部分に設けられており、レバーは、当該レバーを回転軸の周りに回転したときに、第2部分を介して第1部分を弾性部材の弾性力に抗して回転軸の周りに回転可能なように、第2部分に取り付けられている。
【0009】
このドレンコックでは、車両用エアタンクの下面に設けられたボディーの底部に対して、ロッドが貫設されている。ロッドは、ボディーの底部に沿って延在する第1部分と、第1部分からボディーの底部を貫通するように第1方向に延在する第2部分と、を含む。ロッドの第1部分は、弾性部材によってボディーの底部に付勢されている。また、ロッドの第2部分には、当該第2部分の延在方向(ロッドの突出方向)である第1方向に交差する方向に延在するレバーが取り付けられている。ボディーの底部には第1排出口が設けられ、ロッドの第1部分には、第1部分が第1方向に沿った回転軸の周りに回転させられたときに第1排出口に連通する第2排出口が設けられている。
【0010】
したがって、レバーを当該回転軸の周りに回転させることにより、弾性部材の弾性力に抗してロッドを回転させ、ロッドの第1部分の第2排出口とボディーの底部の第1排出口とを連通させることで、第1排出口及び第2排出口を介して車両用エアタンク内のドレンを排出させることができる。このように、このドレンコックによれば、ドレンの排出に際して、操作リングが不要であるため、操作リングに氷塊が発生することが避けられる。また、ロッドを傾斜させることが不要であるため、ボディーの底部とロッドとの間に、ロッドが傾斜する分の隙間を形成する必要がない。よって、当該隙間に砂や泥等の異物が入り込むことが避けられる。これらの結果、このドレンコックによれば、エア漏れが抑制され、信頼性が向上される。
(【0011】以降は省略されています)
この特許をJ-PlatPat(特許庁公式サイト)で参照する
関連特許
個人
留め具
7日前
個人
鍋虫ねじ
1か月前
個人
紛体用仕切弁
1か月前
個人
ホース保持具
6か月前
個人
回転伝達機構
2か月前
個人
トーションバー
6か月前
個人
差動歯車用歯形
3か月前
個人
ジョイント
1か月前
個人
給排気装置
14日前
個人
地震の揺れ回避装置
2か月前
株式会社不二工機
電磁弁
5か月前
個人
ボルトナットセット
7か月前
個人
回転式配管用支持具
8か月前
個人
ナット
1か月前
株式会社不二工機
電磁弁
3か月前
株式会社オンダ製作所
継手
8か月前
個人
吐出量監視装置
1か月前
株式会社三協丸筒
枠体
6か月前
株式会社ミクニ
弁装置
8か月前
株式会社ミクニ
弁装置
8か月前
個人
ベルトテンショナ
7か月前
カヤバ株式会社
ダンパ
3か月前
カヤバ株式会社
ダンパ
3か月前
カヤバ株式会社
緩衝器
7か月前
カヤバ株式会社
緩衝器
13日前
カヤバ株式会社
緩衝器
3か月前
柿沼金属精機株式会社
分岐管
2か月前
カヤバ株式会社
緩衝器
3か月前
株式会社不二工機
電磁弁
1か月前
株式会社不二工機
電動弁
14日前
個人
固着具と固着具の固定方法
8か月前
個人
固着具と固着具の固定方法
5か月前
個人
固着具と固着具の固定方法
5か月前
日東精工株式会社
樹脂被覆ねじ
7か月前
個人
固着具と固着具の固定方法
5か月前
株式会社フジキン
ボールバルブ
4か月前
続きを見る
他の特許を見る