TOP
|
特許
|
意匠
|
商標
特許ウォッチ
Twitter
他の特許を見る
公開番号
2025150524
公報種別
公開特許公報(A)
公開日
2025-10-09
出願番号
2024051433
出願日
2024-03-27
発明の名称
熱成形シート積層用フィルム、熱成形シート、及び熱成形体
出願人
アールエム東セロ株式会社
,
株式会社エフピコ
代理人
個人
,
個人
,
個人
主分類
C08J
5/18 20060101AFI20251002BHJP(有機高分子化合物;その製造または化学的加工;それに基づく組成物)
要約
【課題】樹脂シートへのラミネート適性、及び耐熱性が良好であり、かつ環境負荷を低減できる熱成形シート積層用フィルム、熱成形シート、及び熱成形体を提供することを課題とする。
【解決手段】下記1)~4)を満足し、植物由来ポリオレフィン樹脂を含む無延伸フィルムからなる、熱成形シート積層用フィルムである。また、該熱成形シート積層用フィルムを用いた熱成形シート、及び該熱成形シートからなる熱成形体である。
1)熱成形シート積層用フィルムのバイオマス度が10~96%。
2)熱成形シート積層用フィルムの厚みが20~100μm。
3)熱成形シート積層用フィルムの流れ方向(MD方向)の引張弾性率が700MPa以上。
4)熱成形シート積層用フィルムの10N/10cm荷重下にて100℃で10分加熱した際の寸法変化率が縦方向(MD)で15%以下。
【選択図】なし
特許請求の範囲
【請求項1】
下記1)~4)を満足し、
植物由来ポリオレフィン樹脂を含む無延伸フィルムからなる、熱成形シート積層用フィルム。
1)熱成形シート積層用フィルムのバイオマス度が10~96%。
2)熱成形シート積層用フィルムの厚みが20~100μm。
3)熱成形シート積層用フィルムの流れ方向(MD方向)の引張弾性率が700MPa以上。
4)熱成形シート積層用フィルムの10N/10cm荷重下にて100℃で10分加熱した際の寸法変化率が縦方向(MD)で15%以下。
続きを表示(約 250 文字)
【請求項2】
植物由来ポリオレフィン樹脂は、融点が130℃以上の植物由来ポリエチレン樹脂である、請求項1に記載の熱成形シート積層用フィルム。
【請求項3】
請求項1又は2に記載の熱成形シート積層用フィルムと、
ポリプロピレン系シート、ポリエチレン系シート、ポリスチレン系シート、及びポリエチレンテレフタレート系シートの少なくともいずれか1つの樹脂シートと、を積層した熱成形シート。
【請求項4】
請求項3の熱成形シートを熱成形して得られる熱成形体。
発明の詳細な説明
【技術分野】
【0001】
本発明は、熱成形シート積層用フィルム、該熱成形シート積層用フィルムを用いた熱成形シート、及び該熱成形シートからなる熱成形体に関する。
続きを表示(約 2,000 文字)
【背景技術】
【0002】
コンビニエンスストアなどで販売されている食品の容器として使用されている、弁当容器、トレー、丼容器などの食品容器には、ポリスチレン系発泡シートが使用されている。上記食品容器は、店頭で或いは家庭で電子レンジにそのまま入れて加熱する形態の容器、所謂レンジアップ容器として使用されるケースが増えつつあり、かかるポリスチレン系発泡シートとして、剛性、軽量性、断熱性などが求められるようになってきた。
このような要求に対して、ポリスチレン系発泡シートに、耐油性、耐熱性を向上させるため、無延伸ポリプロピレン系フィルムを積層することが知られている(特許文献1)。
【0003】
ところで、近年、植物由来のポリオレフィン樹脂が開発されており、環境負荷を低減する観点から、石油由来のポリオレフィン樹脂に代えて、植物由来のポリオレフィン樹脂を用いることが検討されている。
例えば、下記の特許文献2には、樹脂成形体を形成する樹脂組成物として、ポリプロピレン系樹脂と植物由来ポリエチレンを含有する樹脂組成物及び樹脂成形体が記載されている。また、下記の特許文献3には、容器内側が石油由来のオレフィン系樹脂、外側が石油由来のオレフィン系樹脂とバイオマス由来のオレフィン系樹脂の層からなる樹脂容器が記載されている。
【先行技術文献】
【特許文献】
【0004】
特許第5824271号
特開2021-31563号公報
特開2023-84266号公報
【発明の概要】
【発明が解決しようとする課題】
【0005】
特許文献2には、植物由来ポリエチレンを含有する樹脂組成物からなる層と他の樹脂組成物からなる層と積層した樹脂成形体が記載されているが、これらの層を積層する際に良好な外観とするための植物由来ポリエチレンを含有する樹脂組成物からなる層の条件については検討されていなかった。また、特許文献3に記載の樹脂容器についても、オレフィン系樹脂からなる層と積層することが記載されているが、オレフィン系樹脂と積層する際に良好な外観とするための石油由来のオレフィン系樹脂とバイオマス由来のオレフィン系樹脂の層の条件については検討されていなかった。
【0006】
そこで本発明は、他フィルムまたは樹脂シートへのラミネート適性、及び耐熱性が良好であり、かつ環境負荷を低減できる熱成形シート積層用フィルム、該熱成形シート積層用フィルムを用いた熱成形シート、及び該熱成形シートからなる熱成形体を提供することを課題とする。
【課題を解決するための手段】
【0007】
本発明者らは、鋭意検討の結果、熱成形シート積層用フィルムのバイオマス度、厚み、流れ方向(MD方向)の引張弾性率、100℃での寸法変化率を所定の範囲とし、植物由来ポリオレフィン樹脂を含む無延伸フィルムからなる、熱成形シート積層用フィルムにより、上記課題が解決できることを見出し、本発明を完成させた。本発明の要旨は、以下の[1]~[4]である。
【0008】
[1]下記1)~4)を満足し、植物由来ポリオレフィン樹脂を含む無延伸フィルムからなる、熱成形シート積層用フィルム。
1)熱成形シート積層用フィルムのバイオマス度が10~96%。
2)熱成形シート積層用フィルムの厚みが20~100μm。
3)熱成形シート積層用フィルムの流れ方向(MD方向)の引張弾性率が700MPa以上。
4)熱成形シート積層用フィルムの10N/10cm荷重下にて100℃で10分加熱した際の寸法変化率が縦方向(MD)で15%以下。
[2]植物由来ポリオレフィン樹脂は、融点が130℃以上の植物由来ポリエチレン樹脂である、[1]に記載の熱成形シート積層用フィルム。
[3][1]又は[2]に記載の熱成形シート積層用フィルムと、ポリプロピレン系シート、ポリエチレン系シート、ポリスチレン系シート、及びポリエチレンテレフタレート系シートの少なくともいずれか1つの樹脂シートと、を積層した熱成形シート。
[4][3]の熱成形シートを熱成形して得られる熱成形体。
【発明の効果】
【0009】
本発明によれば、他フィルムまたは樹脂シートへのラミネート適性、及び耐熱性が良好であり、かつ環境負荷を低減できる熱成形シート積層用フィルム、該熱成形シート積層用フィルムを用いた熱成形シート、及び該熱成形シートからなる熱成形体を提供することができる。
【図面の簡単な説明】
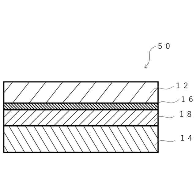
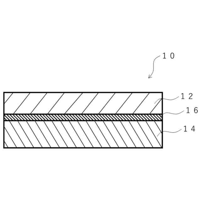
【0010】
本発明の熱成形シートの一実施形態を模式的に示す断面図である。
本発明の熱成形シートの別の一実施形態を模式的に示す断面図である。
【発明を実施するための形態】
(【0011】以降は省略されています)
この特許をJ-PlatPat(特許庁公式サイト)で参照する
関連特許
ユニチカ株式会社
透明シート
11日前
株式会社カネカ
硬化性組成物
3か月前
ユニチカ株式会社
透明シート
1か月前
株式会社コバヤシ
成形体
8日前
東レ株式会社
熱硬化性樹脂組成物
1か月前
丸住製紙株式会社
変性パルプ
11日前
東レ株式会社
ポリエステルフィルム
3か月前
東レ株式会社
ポリエステルフィルム
15日前
東レ株式会社
引抜成形品の製造方法
1か月前
住友精化株式会社
吸水剤の製造方法
21日前
横浜ゴム株式会社
重荷重タイヤ
7日前
花王株式会社
樹脂組成物
3か月前
東レ株式会社
ポリプロピレンフィルム
7日前
東ソー株式会社
樹脂組成物および蓋材
29日前
東ソー株式会社
樹脂組成物および蓋材
29日前
東レ株式会社
ポリオレフィン微多孔膜
2か月前
アイカ工業株式会社
光硬化性樹脂組成物
7日前
株式会社コバヤシ
光硬化性組成物
2か月前
日本特殊陶業株式会社
樹脂成形体
21日前
UBE株式会社
衝撃吸収材
11日前
株式会社スリーボンド
硬化性樹脂組成物
7日前
株式会社カネカ
シーリング材
今日
三洋化成工業株式会社
熱成形用樹脂組成物
3日前
ノリタケ株式会社
担体構造体
1日前
株式会社カネカ
硬化性組成物
1か月前
株式会社カネカ
硬化性組成物
21日前
住友化学株式会社
樹脂組成物
7日前
株式会社大阪ソーダ
熱可塑性材料用組成物
3か月前
東レ株式会社
ポリエステル組成物の製造方法
14日前
アキレス株式会社
燻蒸用生分解性樹脂シート
2か月前
ユニチカ株式会社
ポリアミド系樹脂フィルム
7日前
株式会社スリーボンド
湿気硬化型樹脂組成物
今日
東亞合成株式会社
硬化性組成物
3か月前
デンカ株式会社
磁性ビーズの製造方法
7日前
ハイモ株式会社
油中水型エマルジョン重合体
7日前
株式会社サンエー化研
フィルム
今日
続きを見る
他の特許を見る