TOP
|
特許
|
意匠
|
商標
特許ウォッチ
Twitter
他の特許を見る
公開番号
2025150394
公報種別
公開特許公報(A)
公開日
2025-10-09
出願番号
2024051244
出願日
2024-03-27
発明の名称
包装袋及びそれに内容物が充填された物品
出願人
株式会社サンエー化研
代理人
個人
,
個人
主分類
B65D
30/16 20060101AFI20251002BHJP(運搬;包装;貯蔵;薄板状または線条材料の取扱い)
要約
【課題】内容物を下部から充填できるとともに、輸送・販売時においてもコンパクトな状態に維持でき、使用時には自立可能な包装袋及びそれに内容物が充填された物品を提供する。
【解決手段】本発明に係る包装袋1は、対向して配置された2枚の側面シート11,12により形成され、下方が開口している袋体10と、袋体10の下部における2枚の側面シート11、12の間に配置され、逆V字状に折り畳まれた底面シート20とを有し、底面シート20は、一方の側面シート11とのみシールされ、他方の側面シート12とは開口部23を形成しており、底面シート20の逆V字状に折り畳まれることで対向する内側表面21b,22bはシールされており、内側表面21b,22b間の100℃におけるシール強度が、0.5N/15mm以上である。
【選択図】図2
特許請求の範囲
【請求項1】
対向して配置された第一の側面シート11及び第二の側面シート12により形成され、下方が開口している袋体10と、
前記袋体10の下部における前記第一の側面シート11及び前記第二の側面シート12の間に配置され、逆V字状に折り畳まれた底面シート20と
を有する包装袋1であって、
前記底面シート20の前記第一の側面シート11と対向する第一の領域21の外側表面21aと、前記第一の側面シート11との間は、シールされており、
前記底面シート20の前記第二の側面シート12と対向する第二の領域22の外側表面22aと、前記第二の側面シート12との間は、少なくとも一部がシールされておらず、前記袋体10内外を連通させる開口部23を形成しており、
前記底面シート20が逆V字状に折り畳まれることで対向する、前記第一の領域21の内側表面21bと、前記第二の領域22の内側表面22bとの間は、シールされており、
前記内側表面21bと前記内側表面22bとの間の100℃におけるシール強度が、0.5N/15mm以上である
包装袋1。
続きを表示(約 680 文字)
【請求項2】
前記内側表面21bと前記内側表面22bとの間の25℃におけるシール強度が、0.5~30N/15mmである
請求項1に記載の包装袋1。
【請求項3】
前記内側表面21b及び前記内側表面22bを構成する層は、いずれもポリ塩化ビニリデンで形成されている
請求項1に記載の包装袋1。
【請求項4】
前記内側表面21bと前記内側表面22bとの間の下端部に、シールされていない領域20xを有する
請求項1に記載の包装袋1。
【請求項5】
前記外側表面21aと前記第一の側面シート11との間の下端部に、シールされていない領域11xを有する
請求項1に記載の包装袋1。
【請求項6】
前記外側表面22aは、前記第二の側面シート12とヒートシール可能である
請求項1に記載の包装袋1。
【請求項7】
請求項1~6のいずれか1項に記載の包装袋1と、前記袋体10内に充填された内容物2とを有し、
前記外側表面22aと前記第二の側面シート12との間がシールされて、前記袋体10の内部が密閉されている
物品。
【請求項8】
前記外側表面22aと前記第二の側面シート12との間の下端部に、シールされていない領域12xを有する
請求項7に記載の物品。
【請求項9】
前記内側表面21bと前記内側表面22bとの間のシールを剥離させることで自立させることが可能である
請求項7に記載の物品。
発明の詳細な説明
【技術分野】
【0001】
本発明は、自立可能な包装袋及びそれに内容物が充填された物品に関する。
続きを表示(約 2,200 文字)
【背景技術】
【0002】
底材を有する自立可能な包装袋はスタンドパウチとも呼ばれ、内容積を大きく確保できる点で平袋に比べて有利である。一方、包装袋の上部に、内容物を取り出すスパウトや、後から内容物を投入できるチャックシールを有する場合などは、包装袋の上部や側部から内容物を充填することが難しいので、包装袋の下部から内容物を充填する必要がある。しかし、スタンドパウチの場合は、包装袋の底部に底材が存在するため、底部から内容物を充填しようとすると、充填ノズルと底材が干渉してしまうという問題があった。
【0003】
特許文献1には、第一側面シートと、第二側面シートと、底面シートと、を備え、前記底面シートが断面視V字状に折り込まれた状態で前記第一側面シートと前記第二側面シートの間に配され、周縁に接合部を備えた包装袋において、V字状の前記底面シートは、前記第一側面シートと対向する第一底面シートと前記第二側面シートと対向する第二底面シートが連続してなり、前記第一底面シートの下部には前記第一側面シートの下部と接合された底部接合部を備え、前記第二底面シートには前記第二側面シートと未接合とされ包装袋内を開放する開口部を備え、前記底面シートには前記第一底面シートと前記第二底面シートが対向する外面同士が接合された底面シート接合部を備えることを特徴とする包装袋が記載されている。
【先行技術文献】
【特許文献】
【0004】
特開2019-18907号公報
【発明の概要】
【発明が解決しようとする課題】
【0005】
内容物として食材を包装袋に充填した場合、内容物が充填された包装袋を加熱殺菌する必要がある。ところが、特許文献1に記載された包装袋は、内容物が充填された包装袋を加熱殺菌した際に、底面シート接合部が剥離するように構成されている。そうすると、内容物が充填された包装袋を輸送・販売する時には、既に底面シート接合部が剥離しており、包装袋をコンパクトな状態に維持することができないという問題があった。
【0006】
そこで、本発明は、内容物を下部から充填できるとともに、輸送・販売時においてもコンパクトな状態に維持でき、使用時には自立可能な包装袋及びそれに内容物が充填された物品を提供することを目的とする。
【課題を解決するための手段】
【0007】
本発明は、
対向して配置された第一の側面シート11及び第二の側面シート12により形成され、下方が開口している袋体10と、
前記袋体10の下部における前記第一の側面シート11及び前記第二の側面シート12の間に配置され、逆V字状に折り畳まれた底面シート20と
を有する包装袋1であって、
前記底面シート20の前記第一の側面シート11と対向する第一の領域21の外側表面21aと、前記第一の側面シート11との間は、シールされており、
前記底面シート20の前記第二の側面シート12と対向する第二の領域22の外側表面22aと、前記第二の側面シート12との間は、少なくとも一部がシールされておらず、前記袋体10内外を連通させる開口部23を形成しており、
前記底面シート20が逆V字状に折り畳まれることで対向する、前記第一の領域21の内側表面21bと、前記第二の領域22の内側表面22bとの間は、シールされており、
前記内側表面21bと前記内側表面22bとの間の100℃におけるシール強度が、0.5N/15mm以上である
包装袋1である。
【0008】
本発明は、
前記の包装袋1と、前記袋体10内に充填された内容物2とを有し、
前記外側表面22aと前記第二の側面シート12との間がシールされて、前記袋体10の内部が密閉されている
物品である。
【発明の効果】
【0009】
本発明によれば、内容物を下部から充填できるとともに、輸送・販売時においてもコンパクトな状態に維持でき、使用時には自立可能な包装袋及びそれに内容物が充填された物品を提供することができる。
【図面の簡単な説明】
【0010】
本発明に係る包装袋1の構成を示す分解斜視図である。
本発明に係る包装袋1を示す平面図であり、(a)は第一の側面シート11側から見た平面図であり、(b)は第二の側面シート12側から見た平面図である。
本発明に係る包装袋1の下部の構造を示す拡大側面断面図である。
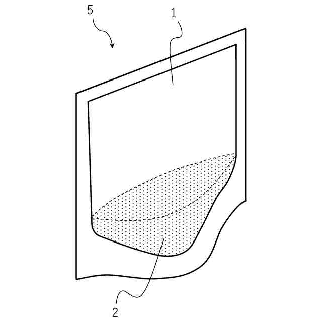
本発明に係る包装袋1に内容物2を充填して密閉した物品5を、第二の側面シート12側から見た平面図である。
本発明に係る包装袋1に内容物2を充填して密閉した物品5の下部の構造を示す拡大断面図であり、(a)は底面シート20が逆V字状に折り畳まれてシールされている状態を示し、(b)は当該シールを剥離させて自立させた状態を示す。
本発明に係る包装袋1に内容物2を充填して密閉した物品5を自立させた状態を示す斜視図である。
【発明を実施するための形態】
(【0011】以降は省略されています)
この特許をJ-PlatPat(特許庁公式サイト)で参照する
関連特許
個人
箱
12か月前
個人
収容箱
2か月前
個人
ゴミ箱
11か月前
個人
コンベア
4か月前
個人
容器
8か月前
個人
段ボール箱
6か月前
個人
段ボール箱
6か月前
個人
ゴミ収集器
6か月前
個人
宅配システム
6か月前
個人
角筒状構造体
5か月前
個人
パウチ補助具
11か月前
個人
土嚢運搬器具
8か月前
個人
バンド
1か月前
個人
楽ちんハンド
4か月前
個人
コード類収納具
7か月前
個人
包装容器
22日前
個人
お薬の締結装置
5か月前
個人
廃棄物収容容器
2か月前
個人
閉塞装置
9か月前
個人
貯蔵サイロ
6か月前
個人
蓋閉止構造
3か月前
株式会社バンダイ
物品
3日前
株式会社コロナ
梱包材
5か月前
個人
把手付米袋
4か月前
個人
蓋閉止構造
3か月前
個人
積み重ね用補助具
2か月前
個人
ゴミ処理機
8か月前
株式会社和気
包装用箱
8か月前
三甲株式会社
容器
5か月前
三甲株式会社
容器
5か月前
株式会社新弘
容器
12か月前
株式会社新弘
容器
12か月前
三甲株式会社
容器
1か月前
個人
輸送積荷用動吸振器
5か月前
株式会社イシダ
搬送装置
5か月前
個人
コード折り畳み器具
3か月前
続きを見る
他の特許を見る