TOP
|
特許
|
意匠
|
商標
特許ウォッチ
Twitter
他の特許を見る
10個以上の画像は省略されています。
公開番号
2025150376
公報種別
公開特許公報(A)
公開日
2025-10-09
出願番号
2024051218
出願日
2024-03-27
発明の名称
緩衝材、梱包材及び梱包品
出願人
セイコーエプソン株式会社
代理人
個人
,
個人
主分類
B65D
81/113 20060101AFI20251002BHJP(運搬;包装;貯蔵;薄板状または線条材料の取扱い)
要約
【課題】緩衝材の破損を防ぎ易いうえ、緩衝材の大型化を抑制できる緩衝材、梱包材及び梱包品を提供する。
【解決手段】緩衝材30は、被梱包物70が有する突状の端部(一例として突部82)を保護する。緩衝材30は、緩衝部材50と、補強部材60と、を有する。緩衝部材50は、被梱包物70の端部を覆うように収容可能な凹部51を有する。緩衝部材50は、柔軟性を有する第1材料により形成される。補強部材60は、凹部51に収容され、第1材料よりも硬質な第2材料により形成される。補強部材60は、凹部51が被梱包物70の端部を収容した際に、被梱包物70の端部の突出方向Z1において、被梱包物70の端部と緩衝部材50との間に位置する。
【選択図】図10
特許請求の範囲
【請求項1】
突状の端部を有する被梱包物の前記端部を保護する緩衝材であって、
前記被梱包物の前記端部を覆うように収容可能な凹部を有し、柔軟性を有する第1材料により形成される緩衝部材と、
前記凹部に収容され、前記第1材料よりも硬質な第2材料により形成される補強部材と、を有し、
前記補強部材は、前記凹部が前記被梱包物の前記端部を収容した際に、前記被梱包物の前記端部の突出方向において、前記被梱包物の前記端部と前記緩衝部材との間に位置することを特徴とする緩衝材。
続きを表示(約 870 文字)
【請求項2】
請求項1に記載の緩衝材において、
前記補強部材は、前記突状の端部と対向する面を有し、前記凹部の深さ方向に対して前記面が交差する向きに配置され、且つ前記突状の端部が前記補強部材の前記面に対して投影された投影面積よりも大きな面積を有する板材であることを特徴とする緩衝材。
【請求項3】
請求項1に記載の緩衝材において、
前記補強部材は、前記凹部に圧入された状態で収容されることを特徴とする緩衝材。
【請求項4】
請求項2に記載の緩衝材において、
前記補強部材は、前記凹部に対して前記凹部の内周面に対して全周の一部で圧入されることを特徴とする緩衝材。
【請求項5】
請求項1に記載の緩衝材において、
前記第1材料及び前記第2材料は、独立気泡構造を有する樹脂材料であることを特徴とする緩衝材。
【請求項6】
請求項5に記載の緩衝材において、
前記第1材料の発泡倍率は、1.2以上且つ5倍以下の範囲内の値であり、
前記第2材料の発泡倍率は、20以上且つ80倍以下の範囲内の値であることを特徴とする緩衝材。
【請求項7】
請求項1に記載の緩衝材において、
前記補強部材が導電性を有することを特徴とする緩衝材。
【請求項8】
請求項1に記載の緩衝材において、
前記第1材料は、ポリプロピレン発泡樹脂材料であり、
発泡倍率が1.2倍以上且つ5倍以下の範囲内の値を有することを特徴とする、緩衝材。
【請求項9】
請求項1に記載の緩衝材において、
前記凹部の内側は第1の色で形成され、
前記補強部材は、前記第1の色と異なる第2の色で形成されていることを特徴とする緩衝材。
【請求項10】
請求項1に記載の緩衝材において、
前記補強部材は切り欠きを有することを特徴とする緩衝材。
(【請求項11】以降は省略されています)
発明の詳細な説明
【技術分野】
【0001】
本発明は、緩衝材、梱包材及び梱包品に関する。
続きを表示(約 2,400 文字)
【背景技術】
【0002】
例えば、特許文献1には、緩衝材は、製品を衝撃から保護する梱包材(緩衝材の一例に相当)が開示されている。製品は、例えばは、単票専用のプリンターと、ロール紙に挿通する芯棒とである。プリンターを、その両端をカバーする一対の梱包材で挟んだ状態で包装箱中に挿入して梱包する梱包品が開示されている。この梱包品は、両梱包材に予め軸受け孔を形成しておいて、その中に、ロール紙に挿通する芯棒を挿入支持した状態で、包装箱中に内蔵する構成である。
【先行技術文献】
【特許文献】
【0003】
特開平7-61659号公報
【発明の概要】
【発明が解決しようとする課題】
【0004】
しかしながら、特許文献1に記載された梱包材では、例えば、梱包品を誤って落下させ場合、芯棒による梱包材の貫通や破損を招く虞がある。そのため、芯棒による梱包材の貫通や破損を防ぐため、梱包材の厚さを少なくとも芯棒の軸方向に厚くする必要がある。その結果、製品の梱包サイズが大きくなってしまうという課題がある。また、芯棒のような棒状の被梱包物に限らず、突部や突起等の突状の端部を有する被梱包物を緩衝材で保護する構成であれば、梱包品の落下時に、被梱包物の突状の端部が緩衝材を貫通したり破損させたりする虞がある。そのため、梱包材の厚さを厚くする必要があり、梱包品のサイズが大きくなってしまうという同様の課題がある。
【課題を解決するための手段】
【0005】
上記課題を解決する緩衝材は、突状の端部を有する被梱包物の前記端部を保護する緩衝材であって、前記被梱包物の前記端部を覆うように収容可能な凹部を有し、柔軟性を有する第1材料により形成される緩衝部材と、前記凹部に収容され、前記第1材料よりも硬質な第2材料により形成される補強部材と、を有し、前記補強部材は、前記凹部が前記被梱包物の前記端部を収容した際に、前記被梱包物の前記端部の突出方向において、前記被梱包物の前記端部と前記緩衝部材との間に位置する。
【0006】
上記課題を解決する梱包材は、上記緩衝材と、前記緩衝材を収容する梱包箱と、を備える。
上記課題を解決する梱包品は、上記梱包材と、前記被梱包物と、を備える。
【図面の簡単な説明】
【0007】
図1は、一実施形態における梱包品の一例を示す斜視図である。
図2は、梱包品の箱の蓋を開けた状態を示す斜視図である。
図3は、記録装置の模式斜視図である。
図4は、梱包材と被梱包物の一例を示す斜視図である。
図5は、梱包材と被梱包物の一例を示す分解斜視図である。
図6は、被梱包物を示す斜視図である。
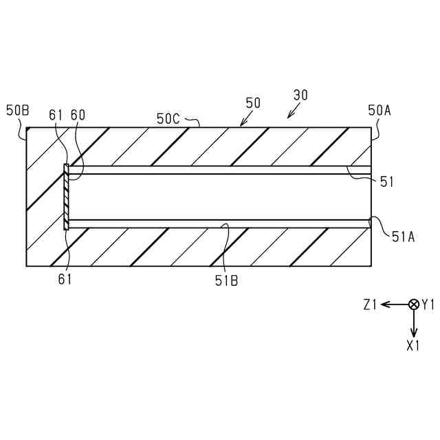
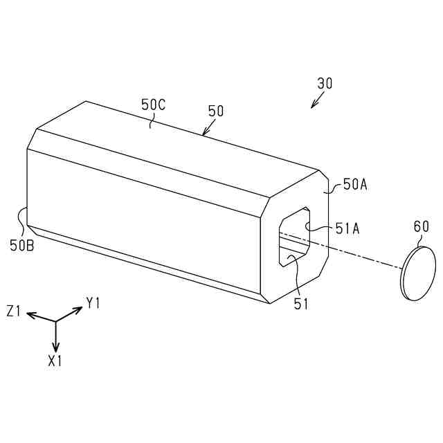
図7は、緩衝材を示す分解斜視図である。
図8は、緩衝材を示す側断面図である。
図9は、緩衝部材と補強部材との寸法を示す平面図である。
図10は、被梱包物の端部を覆う緩衝材を示す側断面図である。
図11は、落下衝撃を受ける梱包品を示す模式図である。
図12は、比較例の緩衝材が梱包品の落下衝撃時に受ける応力を示す模式断面図である。
図13は、実施例の緩衝材が梱包品の落下衝撃時に受ける応力を示す模式断面図である。
図14は、変更例における被梱包物の端部を覆う緩衝材を示す側断面図である。
図15は、補強部材の変更例を示す斜視図である。
【発明を実施するための形態】
【0008】
以下、緩衝材、梱包材及び梱包品の実施形態について、図1~図13を参照して説明する。まず図1、図2を参照して、梱包品及び梱包材の全体概要を説明する。
<梱包品10及び梱包材30の全体概要>
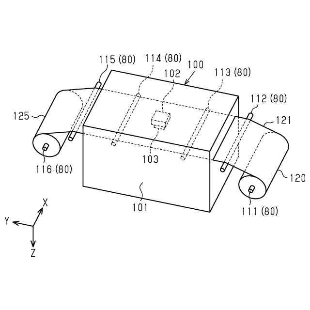
図1は、梱包品10を示す。図2は、梱包箱40の蓋42が開けられた状態にある梱包品10を示す。図1、図2に示すように、梱包品10は、梱包材20と、被梱包物70と、を備える。梱包品10は、被梱包物70が梱包材20により梱包されることによって構成される。梱包材20は、緩衝材30と、緩衝材30を収容する梱包箱40とを備える。梱包箱40は、被梱包物70を収容する。緩衝材30は、梱包箱40と、被梱包物70との間に介装される。つまり、被梱包物70は、緩衝材30を介して梱包箱40に収容されている。
【0009】
以下では、説明の便宜上、梱包箱40に固定された梱包箱座標系を導入する。梱包箱座標系は、互いに直交する、XW軸、YW軸、及びZW軸を有する3軸の座標系である。ZW軸は、梱包箱40に収容された棒状の部材80の長手方向と平行なZW方向に延在する。ZW方向は、棒状の部材80の軸線方向において1つの端部72に向かう方向である。XW軸は、ZW方向に直交するXW方向に延在する。YW軸は、ZW方向及びXW方向に直交するYW方向に延在する。なお、XW軸、YW軸、及び、ZW軸は、互いに直交することに限定されず、互いに交差するものであればよい。また、以下では、XW方向の反対の方向を-XW方向、YW方向の反対の方向を-YW方向、ZW方向の反対の方向を-ZW方向とそれぞれ記す。
【0010】
図1,図2に示すように、梱包材20は、被梱包物70を収容可能な梱包箱40と、梱包箱40に収容された被梱包物70の端部72を保護するための緩衝材30と、を備える。被梱包物70は、本体71と、突状の端部72とを有する。梱包箱40は、箱本体41と、蓋42とを備える。蓋42は、箱本体41と接続されている。
(【0011】以降は省略されています)
この特許をJ-PlatPat(特許庁公式サイト)で参照する
関連特許
個人
箱
12か月前
個人
収容箱
2か月前
個人
ゴミ箱
11か月前
個人
コンベア
4か月前
個人
容器
8か月前
個人
段ボール箱
6か月前
個人
段ボール箱
6か月前
個人
ゴミ収集器
6か月前
個人
宅配システム
6か月前
個人
角筒状構造体
5か月前
個人
パウチ補助具
11か月前
個人
土嚢運搬器具
7か月前
個人
バンド
1か月前
個人
楽ちんハンド
4か月前
個人
コード類収納具
7か月前
個人
包装容器
21日前
個人
お薬の締結装置
5か月前
個人
廃棄物収容容器
2か月前
個人
閉塞装置
9か月前
個人
貯蔵サイロ
6か月前
個人
蓋閉止構造
3か月前
株式会社バンダイ
物品
2日前
株式会社コロナ
梱包材
5か月前
個人
把手付米袋
4か月前
個人
蓋閉止構造
3か月前
個人
積み重ね用補助具
2か月前
個人
ゴミ処理機
8か月前
株式会社和気
包装用箱
8か月前
三甲株式会社
容器
5か月前
三甲株式会社
容器
5か月前
株式会社新弘
容器
11か月前
株式会社新弘
容器
11か月前
三甲株式会社
容器
1か月前
個人
輸送積荷用動吸振器
5か月前
株式会社イシダ
搬送装置
5か月前
個人
コード折り畳み器具
3か月前
続きを見る
他の特許を見る