TOP
|
特許
|
意匠
|
商標
特許ウォッチ
Twitter
他の特許を見る
10個以上の画像は省略されています。
公開番号
2025150322
公報種別
公開特許公報(A)
公開日
2025-10-09
出願番号
2024051142
出願日
2024-03-27
発明の名称
生産管理システム、生産管理方法及び生産管理プログラム
出願人
株式会社アマダ
代理人
弁理士法人きさらぎ国際特許事務所
主分類
G06Q
10/087 20230101AFI20251002BHJP(計算;計数)
要約
【課題】精度よく管理品を手配できる生産管理システム、生産シミュレーション装置、生産シミュレーション方法及び生産シミュレーションプログラム。
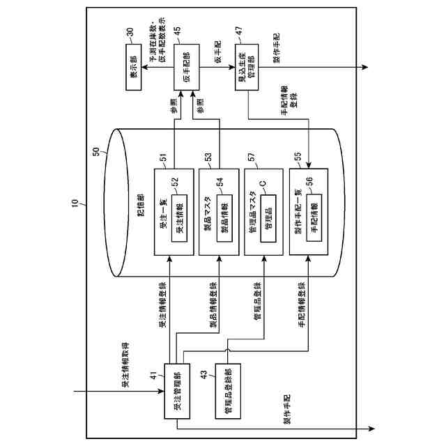
【解決手段】製品及び部品の在庫数を含む製品マスタと、見込生産を行う対象の前記製品及び前記部品の少なくとも一方を管理品として登録する管理品マスタとを格納する記憶部と、少なくとも前記製品マスタを参照して前記管理品の仮手配数を設定可能な制御部とを備え、前記制御部は、前記仮手配数を考慮した前記管理品の予測在庫数を算出するように構成され、かつ、前記製品マスタが更新された場合に前記予測在庫数を自動的に再度算出して表示するように構成されている。
【選択図】図1
特許請求の範囲
【請求項1】
製品及び部品の在庫数を含む製品マスタと、見込生産を行う対象の前記製品及び前記部品の少なくとも一方を管理品として登録する管理品マスタとを格納する記憶部と、
前記管理品の仮手配数を設定可能な制御部と
を備え、
前記制御部は、前記仮手配数を考慮した前記管理品の予測在庫数を算出するように構成され、かつ、前記製品マスタ及び前記仮手配数の少なくとも一方が変更された場合に前記予測在庫数を自動的に再度算出して表示するように構成されている
生産管理システム。
続きを表示(約 1,300 文字)
【請求項2】
前記制御部は、少なくとも前記製品マスタを参照して前記仮手配数を自動的に算出可能に構成されている
請求項1に記載の生産管理システム。
【請求項3】
前記管理品マスタは、前記管理品の安全在庫数を登録可能に構成されており、
前記制御部は、前記仮手配数を算出する前の前記予測在庫数が前記管理品の前記安全在庫数を下回る場合に、前記予測在庫数が前記安全在庫数以上になる最小の数を前記仮手配数として算出するように構成されている
請求項2に記載の生産管理システム。
【請求項4】
前記制御部は、前記管理品の手配ロット数の倍数のうち、前記予測在庫数が前記安全在庫数以上になる最小の数を前記仮手配数として算出するように構成されている
請求項3に記載の生産管理システム。
【請求項5】
前記管理品の使用数及び前記予測在庫数を、母材から得られる前記部品の数を分母とする分数で管理可能に構成されている
請求項1~4のいずれか1項に記載の生産管理システム。
【請求項6】
前記予測在庫数を表示可能な表示部を備え、
前記表示部は、前記仮手配数を算出する前の前記予測在庫数と共に、前記仮手配数を考慮した前記予測在庫数を同時に表示可能に構成されている
請求項1~4のいずれか1項に記載の生産管理システム。
【請求項7】
前記制御部は、受注管理部と、前記仮手配数を設定可能な仮手配部と、見込生産管理部とを含み、
前記受注管理部は、前記管理品及び前記管理品の構成部品以外の前記製品及び部品の製作手配をするように構成されており、
前記仮手配部は、前記管理品及び前記管理品の前記構成部品の仮手配が可能に構成されており、
前記見込生産管理部は、仮手配された前記管理品及び前記管理品の前記構成部品の前記製作手配をするように構成されている
請求項1~4のいずれか1項に記載の生産管理システム。
【請求項8】
製品及び部品の在庫数を含む製品マスタと、見込生産を行う対象の前記製品及び前記部品の少なくとも一方を管理品として登録する管理品マスタとを格納する記憶部と、前記管理品の仮手配数を設定可能な制御部とを備える生産管理装置が前記仮手配数を考慮した前記管理品の予測在庫数を算出し、前記製品マスタ及び前記仮手配数の少なくとも一方が変更された場合に前記予測在庫数を自動的に再度算出する
生産管理方法。
【請求項9】
製品及び部品の在庫数を含む製品マスタと、見込生産を行う対象の前記製品及び前記部品の少なくとも一方を管理品として登録する管理品マスタとを格納する記憶部と、前記管理品の仮手配数を設定可能な制御部とを備える生産管理装置に前記仮手配数を考慮した前記管理品の予測在庫数を算出させ、前記製品マスタ及び前記仮手配数の少なくとも一方が変更された場合に前記予測在庫数を自動的に再度算出させる
生産管理プログラム。
発明の詳細な説明
【技術分野】
【0001】
本発明は、生産管理システム、生産管理方法及び生産管理プログラムに関する。
続きを表示(約 1,400 文字)
【背景技術】
【0002】
従来、MRP(資材所要量計画)計算用の部品表を作成する部品表構築部と、最終製品・部品の生産計画、確定所要情報、確定手配情報を入力として読み込む計画読込部と、部品表構築部で構築した部品表と、計画読込部で読み込んだ計画を利用して、処理対象計画に対応する世代情報を検索する世代検索部とを含む生産管理システムが知られている(例えば、特許文献1)。
【0003】
特許文献1に記載の生産管理システムにおいて、部品表構築部は、製造・調達の対象となる品目の情報を記述した品目情報と、ある時点での安全在庫量、リードタイム、及びまとめ数量などの手配属性、及び、ロットまとめ、個別、定量発注等の手配方式が変わる品目の変更後の情報を世代毎に記述した品目世代情報と、品目間の親子構成関係を記述した構成情報とを読み込み、部品表を作成するよう構成されている。
【0004】
また、特許文献1に記載の生産管理システムは、世代検索部で求められた品目世代情報に従って所要展開を行い、その際、世代の交代が起こった場合には、時系列在庫の引き継ぎを行ってから引き継ぎ後の時系列在庫量を基点として新しい品目情報の定義内容で資材所要展開を行い、必要な手配オーダを生成するMRP計算部を含んでいる。
【先行技術文献】
【特許文献】
【0005】
特許第3022423号公報
【発明の概要】
【発明が解決しようとする課題】
【0006】
特許文献1に記載の生産管理システムは、各所要を処理する時点で、その所要日をもとに適用すべき品目世代情報を検索し、検索した品目世代情報を使って時系列在庫計算を行い、手配日、手配量を算出して、手配オーダを生成するよう構成されている。
【0007】
しかしながら、特許文献1の生産管理システムは、各所要を処理する時点での品目世代情報を使って在庫計算を行い、手配オーダを生成するため、品目世代情報が後から更新された場合や、品目情報が世代品目情報にない情報に急遽変更された場合等に、新たな品目情報に基づいて時系列在庫や手配量が再計算されず、手配オーダも更新することができないという問題がある。
【0008】
また、自動的に手配量を算出して手配オーダが生成されてしまうため、手動による手配数の設定や、手配量反映前後の時系列在庫の変化等を目視による確認等ができないため、生産計画をユーザの裁量でシミュレーションすることができず、また、正確な手配ができているかユーザが確認することもできないという問題がある。
【0009】
本発明の一態様は、精度よく管理品を手配できる生産管理システム、生産管理方法及び生産管理プログラムである。
【課題を解決するための手段】
【0010】
本発明の一態様に係る生産管理システムは、製品及び部品の在庫数を含む製品マスタと、見込生産を行う対象の前記製品及び前記部品の少なくとも一方を管理品として登録する管理品マスタとを格納する記憶部と、前記管理品の仮手配数を設定可能な制御部とを備え、前記制御部は、前記仮手配数を考慮した前記管理品の予測在庫数を算出するように構成され、かつ、前記製品マスタ及び前記仮手配数の少なくとも一方が変更された場合に前記予測在庫数を自動的に再度算出して表示するように構成されている。
(【0011】以降は省略されています)
この特許をJ-PlatPat(特許庁公式サイト)で参照する
関連特許
株式会社アマダ
無人搬送車
1か月前
株式会社アマダ
ビード形成方法
1か月前
株式会社アマダ
工作機械制御装置
1か月前
株式会社アマダ
見積り作成システム
1か月前
株式会社アマダ
金型管理装置及び加工機制御装置
1か月前
株式会社アマダ
曲げ加工システム及びロボット搬送体
6日前
株式会社アマダ
加工システム及び加工性判定システム
1か月前
株式会社アマダ
ガルバノスキャナユニット及びレーザ加工機
26日前
株式会社アマダ
プレスブレーキ制御装置及び曲げ速度算出方法
2か月前
株式会社アマダ
干渉確認システム、干渉確認方法及び曲げ加工機
27日前
株式会社アマダ
プレスブレーキ及びプレスブレーキの金型位置決め方法
1か月前
株式会社アマダ
生産管理システム、生産管理方法及び生産管理プログラム
1か月前
株式会社アマダ
タレットパンチプレス及びタレットパンチプレスの制御方法
2か月前
株式会社アマダ
制御装置、溶接加工システム、教示点判定方法及び教示点判定プログラム
27日前
株式会社アマダ
図形データ作成装置、図形データ作成方法、及び図形データ作成プログラム
4日前
株式会社アマダ
制御装置、曲げ加工システム、ロボット制御方法及びロボット制御プログラム
6日前
株式会社アマダ
制御装置、曲げ加工システム、制御プログラム作成方法及び制御プログラム作成プログラム
6日前
株式会社アマダ
生産管理システム、生産シミュレーション装置、生産シミュレーション方法及び生産シミュレーションプログラム
1か月前
個人
詐欺保険
1か月前
個人
縁伊達ポイン
1か月前
個人
5掛けポイント
25日前
個人
RFタグシート
1か月前
個人
職業自動販売機
18日前
個人
QRコードの彩色
1か月前
個人
ペルソナ認証方式
1か月前
個人
地球保全システム
2か月前
個人
自動調理装置
1か月前
個人
情報処理装置
28日前
個人
残土処理システム
1か月前
個人
農作物用途分配システム
1か月前
個人
知的財産出願支援システム
1か月前
個人
インターネットの利用構造
1か月前
個人
サービス情報提供システム
20日前
個人
タッチパネル操作指代替具
1か月前
個人
携帯端末障害問合せシステム
1か月前
個人
スケジュール調整プログラム
1か月前
続きを見る
他の特許を見る