TOP
|
特許
|
意匠
|
商標
特許ウォッチ
Twitter
他の特許を見る
公開番号
2025166390
公報種別
公開特許公報(A)
公開日
2025-11-06
出願番号
2024070389
出願日
2024-04-24
発明の名称
ガルバノスキャナユニット及びレーザ加工機
出願人
株式会社アマダ
代理人
個人
,
個人
,
個人
主分類
B23K
26/082 20140101AFI20251029BHJP(工作機械;他に分類されない金属加工)
要約
【課題】ガルバノミラーの振動周波数を高くすることができるガルバノスキャナユニットを提供する。
【解決手段】第1~第4のガルバノミラー321、323、325、327のうちの第1の組のガルバノミラーは、レーザビームを板金の面に沿った第1の軸の方向に変位させる。第1の組のガルバノミラー以外の第2の組のガルバノミラーは、レーザビームを板金の面に沿った第1の軸の方向と直交する第2の軸の方向に変位させる。第1の組のガルバノミラーを回転させる第1の組のガルバノモータは、レーザビームを第1の軸の方向の正負の方向を含めて互いに同じ方向に同じ距離だけ変位させるよう、第1の組のガルバノミラーを同時に駆動する。第2の組のガルバノミラーを回転させる第2の組のガルバノモータは、レーザビームを第2の軸の方向の正負の方向を含めて互いに同じ方向に同じ距離だけ変位させるよう、第2の組のガルバノミラーを同時に駆動する。
【選択図】図2
特許請求の範囲
【請求項1】
入射するレーザビームを反射させる第1のガルバノミラーと、
前記第1のガルバノミラーを回転させるよう駆動する第1のガルバノモータと、
前記第1のガルバノミラーで反射したレーザビームが入射して、入射するレーザビームを反射させる第2のガルバノミラーと、
前記第2のガルバノミラーを回転させるよう駆動する第2のガルバノモータと、
前記第2のガルバノミラーで反射したレーザビームが入射して、入射するレーザビームを反射させる第3のガルバノミラーと、
前記第3のガルバノミラーを回転させるよう駆動する第3のガルバノモータと、
前記第3のガルバノミラーで反射したレーザビームが入射して、入射するレーザビームを反射させる第4のガルバノミラーと、
前記第4のガルバノミラーを回転させるよう駆動する第4のガルバノモータと、
を備え、
前記第1~第4のガルバノミラーのうちの任意の2つのガルバノミラーを組とした第1の組のガルバノミラーは、加工対象の板金に照射されるレーザビームを前記板金の面に沿った第1の軸の方向に変位させるガルバノミラーであり、
前記第1~第4のガルバノミラーのうちの前記第1の組のガルバノミラー以外の2つのガルバノミラーを組とした第2の組のガルバノミラーは、前記板金に照射されるレーザビームを前記板金の面に沿った前記第1の軸の方向と直交する第2の軸の方向に変位させるガルバノミラーであり、
前記第1の組のガルバノミラーを回転させる2つのガルバノモータを組とした第1の組のガルバノモータは、前記板金に照射されるレーザビームを前記第1の軸の方向の正負の方向を含めて互いに同じ方向に同じ距離だけ変位させるよう、前記第1の組のガルバノミラーを同時に駆動し、
前記第2の組のガルバノミラーを回転させる2つのガルバノモータを組とした第2の組のガルバノモータは、前記板金に照射されるレーザビームを前記第2の軸の方向の正負の方向を含めて互いに同じ方向に同じ距離だけ変位させるよう、前記第2の組のガルバノミラーを同時に駆動する
ガルバノスキャナユニット。
続きを表示(約 1,600 文字)
【請求項2】
前記第1の組のガルバノミラーは前記第1及び第3のガルバノミラー、前記第1の組のガルバノモータは前記第1及び第3のガルバノモータであり、
前記第2の組のガルバノミラーは前記第2及び第4のガルバノミラー、前記第2の組のガルバノモータは前記第2及び第4のガルバノモータである
請求項1に記載のガルバノスキャナユニット。
【請求項3】
発散光のレーザビームをコリメート光に変換するコリメーションレンズと、
前記コリメーションレンズより射出されたレーザビームが入射され、加工対象の板金に照射されるレーザビームを振動させるガルバノスキャナユニットと、
前記ガルバノスキャナユニットより射出されたレーザビームを集束させて、前記板金に照射する集束レンズを有する加工ヘッドと、
前記板金の面に対して前記加工ヘッドを相対的に移動させる移動機構と、
前記ガルバノスキャナユニットによる前記レーザビームの振動を制御し、前記移動機構による前記加工ヘッドの相対的な移動を制御する制御装置と、
を備え、
前記ガルバノスキャナユニットは、
入射するレーザビームを反射させる第1のガルバノミラーと、
前記第1のガルバノミラーを回転させるよう駆動する第1のガルバノモータと、
前記第1のガルバノミラーで反射したレーザビームが入射して、入射するレーザビームを反射させる第2のガルバノミラーと、
前記第2のガルバノミラーを回転させるよう駆動する第2のガルバノモータと、
前記第2のガルバノミラーで反射したレーザビームが入射して、入射するレーザビームを反射させる第3のガルバノミラーと、
前記第3のガルバノミラーを回転させるよう駆動する第3のガルバノモータと、
前記第3のガルバノミラーで反射したレーザビームが入射して、入射するレーザビームを反射させる第4のガルバノミラーと、
前記第4のガルバノミラーを回転させるよう駆動する第4のガルバノモータと、
を有し、
前記第1~第4のガルバノミラーのうちの任意の2つのガルバノミラーを組とした第1の組のガルバノミラーは、前記板金に照射されるレーザビームを前記板金の面に沿った第1の軸の方向に変位させるガルバノミラーであり、
前記第1~第4のガルバノミラーのうちの前記第1の組のガルバノミラー以外の2つのガルバノミラーを組とした第2の組のガルバノミラーは、前記板金に照射されるレーザビームを前記板金の面に沿った前記第1の軸の方向と直交する第2の軸の方向に変位させるガルバノミラーであり、
前記制御装置は、
前記第1の組のガルバノミラーによって、前記板金に照射されるレーザビームを前記第1の軸の方向の正負の方向を含めて互いに同じ方向に同じ距離だけ変位させるよう、前記第1の組のガルバノミラーを回転させる2つのガルバノモータを組とした第1の組のガルバノモータを同時に制御し、
前記第2の組のガルバノミラーによって、前記板金に照射されるレーザビームを前記第2の軸の方向の正負の方向を含めて互いに同じ方向に同じ距離だけ変位させるよう、前記第2の組のガルバノミラーを回転させる2つのガルバノモータを組とした第2の組のガルバノモータを同時に制御する
レーザ加工機。
【請求項4】
前記第1の組のガルバノミラーは前記第1及び第3のガルバノミラー、前記第1の組のガルバノモータは前記第1及び第3のガルバノモータであり、
前記第2の組のガルバノミラーは前記第2及び第4のガルバノミラー、前記第2の組のガルバノモータは前記第2及び第4のガルバノモータである
請求項3に記載のレーザ加工機。
発明の詳細な説明
【技術分野】
【0001】
本発明は、ガルバノスキャナユニット及びレーザ加工機に関する。
続きを表示(約 3,000 文字)
【背景技術】
【0002】
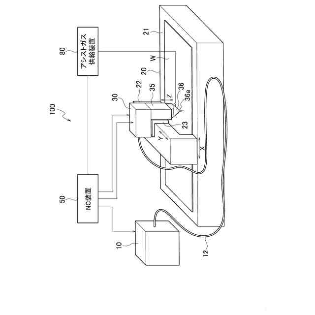
特許文献1には、加工ヘッドから射出されるレーザビームをガルバノスキャナユニットの一対のガルバノミラーによって振動させて、板金を加工するレーザ加工機が記載されている。
【先行技術文献】
【特許文献】
【0003】
特開2019-155404号公報
特開2004-230466号公報
特開2004-249364号公報
【発明の概要】
【発明が解決しようとする課題】
【0004】
近年、レーザ発振器が射出するレーザビームは高出力化している。レーザビームが高出力化すると、ガルバノミラーの耐光強度を向上させるためにガルバノミラーを大きくする必要がある。ガルバノミラーを大きくすると、ガルバノミラーを所定の角度の範囲で往復回転させるよう駆動するガルバノモータを大きくする必要がある。ガルバノミラー及びガルバノモータが大きくなると、イナーシャ(回転モーメント)が大きくなるから、最大の振動周波数が低くなる。レーザビームが高出力化すると板金の加工速度が速くなるから、本来であればレーザビームを振動させる振動周波数を高くする必要がある。
【0005】
しかしながら、ガルバノミラー及びガルバノモータのイナーシャが大きくなって最大の振動周波数が低くなるから、従来のガルバノスキャナユニットの構成では、振動周波数を高くすることができない。ガルバノミラーの振動周波数を従来よりも高くすることができるガルバノスキャナユニット、及びそれを備えるレーザ加工機の登場が望まれている。
【課題を解決するための手段】
【0006】
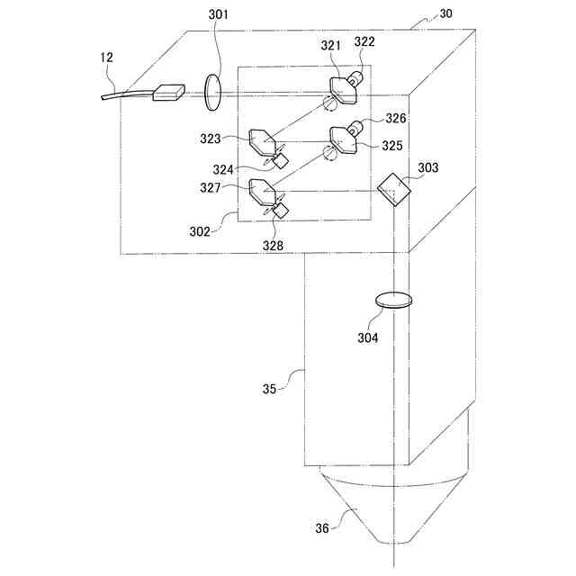
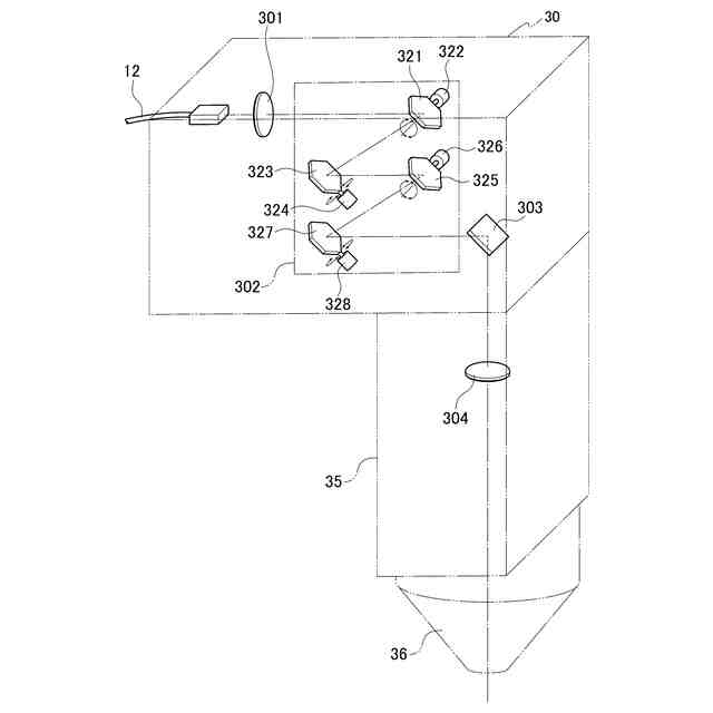
1またはそれ以上の実施形態の第1の態様は、入射するレーザビームを反射させる第1のガルバノミラーと、前記第1のガルバノミラーを回転させるよう駆動する第1のガルバノモータと、前記第1のガルバノミラーで反射したレーザビームが入射して、入射するレーザビームを反射させる第2のガルバノミラーと、前記第2のガルバノミラーを回転させるよう駆動する第2のガルバノモータと、前記第2のガルバノミラーで反射したレーザビームが入射して、入射するレーザビームを反射させる第3のガルバノミラーと、前記第3のガルバノミラーを回転させるよう駆動する第3のガルバノモータと、前記第3のガルバノミラーで反射したレーザビームが入射して、入射するレーザビームを反射させる第4のガルバノミラーと、前記第4のガルバノミラーを回転させるよう駆動する第4のガルバノモータとを備えるガルバノスキャナユニットを提供する。
【0007】
上記のように構成されたガルバノスキャナユニットにおいて、前記第1~第4のガルバノミラーのうちの任意の2つのガルバノミラーを組とした第1の組のガルバノミラーは、加工対象の板金に照射されるレーザビームを前記板金の面に沿った第1の軸の方向に変位させるガルバノミラーであり、前記第1~第4のガルバノミラーのうちの前記第1の組のガルバノミラー以外の2つのガルバノミラーを組とした第2の組のガルバノミラーは、前記板金に照射されるレーザビームを前記板金の面に沿った前記第1の軸の方向と直交する第2の軸の方向に変位させるガルバノミラーである。前記第1の組のガルバノミラーを回転させる2つのガルバノモータを組とした第1の組のガルバノモータは、前記板金に照射されるレーザビームを前記第1の軸の方向の正負の方向を含めて互いに同じ方向に同じ距離だけ変位させるよう、前記第1の組のガルバノミラーを同時に駆動する。前記第2の組のガルバノミラーを回転させる2つのガルバノモータを組とした第2の組のガルバノモータは、前記板金に照射されるレーザビームを前記第2の軸の方向の正負の方向を含めて互いに同じ方向に同じ距離だけ変位させるよう、前記第2の組のガルバノミラーを同時に駆動する。
【0008】
1またはそれ以上の実施形態の第2の態様は、発散光のレーザビームをコリメート光に変換するコリメーションレンズと、前記コリメーションレンズより射出されたレーザビームが入射され、加工対象の板金に照射されるレーザビームを振動させるガルバノスキャナユニットと、前記ガルバノスキャナユニットより射出されたレーザビームを集束させて、前記板金に照射する集束レンズを有する加工ヘッドと、前記板金の面に対して前記加工ヘッドを相対的に移動させる移動機構と、前記ガルバノスキャナユニットによる前記レーザビームの振動を制御し、前記移動機構による前記加工ヘッドの相対的な移動を制御する制御装置とを備え、前記ガルバノスキャナユニットは、入射するレーザビームを反射させる第1のガルバノミラーと、前記第1のガルバノミラーを回転させるよう駆動する第1のガルバノモータと、前記第1のガルバノミラーで反射したレーザビームが入射して、入射するレーザビームを反射させる第2のガルバノミラーと、前記第2のガルバノミラーを回転させるよう駆動する第2のガルバノモータと、前記第2のガルバノミラーで反射したレーザビームが入射して、入射するレーザビームを反射させる第3のガルバノミラーと、前記第3のガルバノミラーを回転させるよう駆動する第3のガルバノモータと、前記第3のガルバノミラーで反射したレーザビームが入射して、入射するレーザビームを反射させる第4のガルバノミラーと、前記第4のガルバノミラーを回転させるよう駆動する第4のガルバノモータとを有するレーザ加工機を提供する。
【0009】
上記のように構成されたレーザ加工機において、前記第1~第4のガルバノミラーのうちの任意の2つのガルバノミラーを組とした第1の組のガルバノミラーは、前記板金に照射されるレーザビームを前記板金の面に沿った第1の軸の方向に変位させるガルバノミラーであり、前記第1~第4のガルバノミラーのうちの前記第1の組のガルバノミラー以外の2つのガルバノミラーを組とした第2の組のガルバノミラーは、前記板金に照射されるレーザビームを前記板金の面に沿った前記第1の軸の方向と直交する第2の軸の方向に変位させるガルバノミラーである。前記制御装置は、前記第1の組のガルバノミラーによって、前記板金に照射されるレーザビームを前記第1の軸の方向の正負の方向を含めて互いに同じ方向に同じ距離だけ変位させるよう、前記第1の組のガルバノミラーを回転させる2つのガルバノモータを組とした第1の組のガルバノモータを同時に制御し、前記第2の組のガルバノミラーによって、前記板金に照射されるレーザビームを前記第2の軸の方向の正負の方向を含めて互いに同じ方向に同じ距離だけ変位させるよう、前記第2の組のガルバノミラーを回転させる2つのガルバノモータを組とした第2の組のガルバノモータを同時に制御する。
【発明の効果】
【0010】
1またはそれ以上の実施形態に係るガルバノスキャナユニット及びレーザ加工機によれば、ガルバノミラーの振動周波数を従来よりも高くすることができる。
【図面の簡単な説明】
(【0011】以降は省略されています)
この特許をJ-PlatPat(特許庁公式サイト)で参照する
関連特許
株式会社アマダ
無人搬送車
1か月前
株式会社アマダ
ビード形成方法
1か月前
株式会社アマダ
工作機械制御装置
1か月前
株式会社アマダ
見積り作成システム
1か月前
株式会社アマダ
金型管理装置及び加工機制御装置
1か月前
株式会社アマダ
加工システム及び加工性判定システム
1か月前
株式会社アマダ
曲げ加工システム及びロボット搬送体
5日前
株式会社アマダ
ガルバノスキャナユニット及びレーザ加工機
25日前
株式会社アマダ
プレスブレーキ制御装置及び曲げ速度算出方法
2か月前
株式会社アマダ
干渉確認システム、干渉確認方法及び曲げ加工機
26日前
株式会社アマダ
プレスブレーキ及びプレスブレーキの金型位置決め方法
1か月前
株式会社アマダ
生産管理システム、生産管理方法及び生産管理プログラム
1か月前
株式会社アマダ
制御装置、溶接加工システム、教示点判定方法及び教示点判定プログラム
26日前
株式会社アマダ
図形データ作成装置、図形データ作成方法、及び図形データ作成プログラム
3日前
株式会社アマダ
制御装置、曲げ加工システム、ロボット制御方法及びロボット制御プログラム
5日前
株式会社アマダ
制御装置、曲げ加工システム、制御プログラム作成方法及び制御プログラム作成プログラム
5日前
株式会社アマダ
生産管理システム、生産シミュレーション装置、生産シミュレーション方法及び生産シミュレーションプログラム
1か月前
個人
フライス盤
2か月前
日東精工株式会社
ねじ締め機
3か月前
株式会社北川鉄工所
回転装置
5か月前
日東精工株式会社
ねじ締め機
6か月前
日東精工株式会社
ねじ締め機
1か月前
日東精工株式会社
ねじ締め機
2か月前
株式会社ダイヘン
溶接電源装置
4か月前
キヤノン電子株式会社
加工装置
24日前
株式会社ダイヘン
溶接電源装置
4か月前
日東精工株式会社
ねじ締め装置
5か月前
株式会社ダイヘン
溶接電源装置
3か月前
ダイニチ工業株式会社
配膳治具
27日前
日東精工株式会社
ねじ締め装置
2か月前
株式会社FUJI
工作機械
4か月前
株式会社FUJI
工作機械
5か月前
株式会社FUJI
工作機械
1か月前
日東精工株式会社
ねじ整列トレー
19日前
個人
切削油供給装置
3か月前
株式会社FUJI
工作機械
1か月前
続きを見る
他の特許を見る