TOP
|
特許
|
意匠
|
商標
特許ウォッチ
Twitter
他の特許を見る
10個以上の画像は省略されています。
公開番号
2025149988
公報種別
公開特許公報(A)
公開日
2025-10-09
出願番号
2024050607
出願日
2024-03-27
発明の名称
電解水生成装置および運転方法
出願人
株式会社クボタ
代理人
弁理士法人森本国際特許事務所
主分類
C02F
1/461 20230101AFI20251002BHJP(水,廃水,下水または汚泥の処理)
要約
【課題】電解槽の運転開始時に環境温度が低温であっても電解開始時から適切な電解効率を保持して安定した電解処理を行える電解水生成装置の運転制御装置および運転方法を提供する。
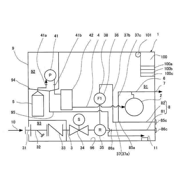
【解決手段】電解槽2または電解液供給系4に電解液を加温するヒータ部42を有し、装置筐体9の内部の環境温度を測定する温度センサ101と、温度センサ101が測定した環境温度の測定値に基づいてヒータ部42の運転を制御する制御装置100を有し、制御装置100は、電解液の加温の要否を判定する閾値温度を基準として温度センサ101の測定値によりヒータ部42の運転の要否を判定し、運転が必要であるときにヒータ部42を稼働させる。
【選択図】図1
特許請求の範囲
【請求項1】
電解液の電気分解により塩素ガスを生成し、給水中に混気して電解水を生成する電解槽と、
電解槽に給水する給水系と、
電解液を電解槽へ供給する電解液供給系と、
電解槽で生成した電解水を電解水吐出口に供給する電解水供給系を装置筐体内に収納し、
電解槽または電解液供給系に電解液を加温する電解液加温装置と、
装置筐体に設けた環境温度を測定する温度センサと、
電解液加温装置の運転を制御する制御装置を有し、
制御装置は、電解液の加温の要否を判定する閾値温度を基準として、温度センサが測定した環境温度の測定値に基づいて、電解液加温装置の運転の要否を判定し、運転が必要であるときに電解液加温装置を稼働させることを特徴とする電解水生成装置。
続きを表示(約 470 文字)
【請求項2】
電解液加温装置は、ヒータとヒータを設定温度域で稼働させる温度調整部を有することを特徴とする請求項1に記載の電解水生成装置。
【請求項3】
制御装置は、設定した判定インターバルで電解液加温装置の運転の要否を判定することを特徴とする請求項1に記載の電解水生成装置。
【請求項4】
制御装置は、電解槽の運転を開始する前に電解液加温装置による設定加温時間の暖機運転を開始することを特徴とする請求項1に記載の電解水生成装置。
【請求項5】
制御装置は、設定加温時間の暖機運転後に電解槽の運転を開始することを特徴とする請求項4に記載の電解水生成装置。
【請求項6】
装置筐体内の環境温度を温度センサで測定し、電解液の加温の要否を判定する閾値温度を基準として、温度センサの測定値により、電解槽または電解液供給系に設けた電解液を加温する電解液加温装置の運転の要否を判定し、運転が必要であるときに電解液加温装置を稼働させることを特徴とする電解水生成装置の運転方法。
発明の詳細な説明
【技術分野】
【0001】
本発明は、電解水生成装置および運転方法に関し、電解により次亜塩素酸水を生成する技術に貢献するものである。
続きを表示(約 1,400 文字)
【背景技術】
【0002】
従来、電解水生成装置で生成した電解次亜塩素酸水を利用する分野として、農畜産業分野、食料分野、加湿空気清浄機など機内で水を扱う家電や設備の分野や、空調機、上下水インフラ、人が集まる学校や病院や商業施設等々における閉鎖空間、半閉鎖空間での除菌、衛生管理、感染症対策、BCP(事業継続計画)がある。
【0003】
また、農畜産業分野においては、酸性電解水(電解次亜塩素酸水)が農産物に使用する特定農薬(特定防除資材)として使用可能となり、活用が促進されている。
【0004】
電解水生成装置は、電解槽で原料薬液を電気分解して塩素ガスを発生させ、塩素ガスを給水系から供給する給水中に混気し、微酸性電解水を生成している。
【0005】
特許文献1の電解水生成装置は、電解効率のよい電解水生成装置を目的として、二つの電解槽を直列に接続している。第1の電解槽の陽極室から吐水する陽極水が第2の電解槽の陽極室の下方部に入水し、第1の電解槽の陰極室から吐水する陰極水が第2の電解槽の陰極室下方部に入水し、第2の電解槽の両極室上方部から吐水する。
【0006】
また、第1の電解槽の陰極と第2の電解槽の陽極を直列に接続すると共に、陽極と陰極間に直流電圧を印加する。この結果、両電解槽に流れる電流が少なくなり、電解効率が高まる。
【0007】
特許文献2の電解水生成装置は、水温のばらつきの影響を考慮して電気伝導度を高精度で検出し、生成する電解水のpH値を適正に設定するものである。電解水を生成する電解槽は、給水源から水が流入する流入口と、水が流出する流出口と、対向した一対の電極とを有する。さらに、電解槽を通過する水の温度を測定する温度測定手段と、電解槽を通過する水の電気伝導度を演算し、かつ一対の電極への電流を制御する制御部とを有し、制御部は温度測定手段の温度に基づいて、電気伝導度の演算を行い、所定のpH値となるよう目標電流を決定する。
【0008】
特許文献3の電解水生成器は、使用停止の際に所要の水供給回路に酸性水を導いて、水供給回路を一般細菌によって汚損されないようにするものである。電解水生成器は、源水を電解によってアルカリ水及び酸性水に分離し、所要の水供給回路を介して吐水口または排水口に供給する。電解水生成器を使用しない時、電解槽ないし吐水口までの所要の水供給回路に所定量または所定時間酸性水を流して水を止め、水供給回路を酸性水で満たした状態を次の水供給開始までの間保持し、次の水供給開始の際、水供給回路に電解水などを流して洗浄した後、水供給回路にアルカリ水、浄水または酸性水を流通させて電解水生成器を再び使用可能な状態にする。
【先行技術文献】
【特許文献】
【0009】
特開平9-192667
特開2016-64375
特開平8-281266
【発明の概要】
【発明が解決しようとする課題】
【0010】
従来、電解水生成装置には種々のものがあり、例えば電解型次亜塩素酸水生成装置は、薬液(塩酸)を薬液ポンプにより無隔膜電解槽に移送し、無隔膜電解槽で薬液を電気分解して塩素ガス生成し、塩素ガスを原水と混合して次亜塩素酸水を生成し、外部に吐水する。
(【0011】以降は省略されています)
この特許をJ-PlatPat(特許庁公式サイト)で参照する
関連特許
株式会社クボタ
作業車
24日前
株式会社クボタ
作業車
26日前
株式会社クボタ
作業機
18日前
株式会社クボタ
作業車
24日前
株式会社クボタ
作業車
10日前
株式会社クボタ
農業機械
10日前
株式会社クボタ
作業車両
24日前
株式会社クボタ
作業車両
24日前
株式会社クボタ
竪型の反応炉
18日前
株式会社クボタ
作業車及び座席
1か月前
株式会社クボタ
作業支援システム
11日前
株式会社クボタ
鋳造用砂型の製造方法
18日前
株式会社クボタ
ヘッドレスト及び作業車
10日前
株式会社クボタ
有機性廃棄物の処理方法
10日前
株式会社クボタ
作業車両、作業支援システム
11日前
株式会社クボタ
鋳鋼品および鋳鋼品の製造方法
24日前
株式会社クボタ
作業支援装置、作業支援システム
11日前
株式会社クボタ
粘度測定方法および粘度測定装置
3日前
株式会社クボタ
浄水処理方法および原水評価方法
10日前
株式会社クボタ
電動作業車両のバッテリ管理システム
24日前
株式会社クボタ
作業支援装置、作業支援システム、ルート生成方法
11日前
株式会社クボタ
ルート生成装置、作業支援システム、ルート生成方法
11日前
株式会社クボタ
作業機
10日前
株式会社クボタ
移植機
10日前
株式会社クボタ
収穫機
10日前
株式会社クボタ
コンバイン
1か月前
株式会社クボタケミックス
脚部継手および排水配管構造
1か月前
株式会社クボタ
管路図作成支援装置、管路図作成支援方法、管路図作成支援用プログラム及び管路図作成支援システム
3日前
株式会社長谷工コーポレーション
木造中空床を貫通する樹脂製配管の防火区画構造および防火スリーブ
10日前
株式会社長谷工コーポレーション
木造中空床を貫通する樹脂製排水集合管の防火区画構造および防火スリーブ
10日前
株式会社げんき
液体活性化装置
1か月前
新・産業洗浄株式会社
曝気装置
10日前
株式会社ライトアース
水循環式水質浄化システム
1か月前
名古屋メッキ工業株式会社
溶存金属析出装置
1か月前
栗田工業株式会社
電気イオン濃縮装置
1か月前
スタンレー電気株式会社
流体除菌装置
1か月前
続きを見る
他の特許を見る