TOP
|
特許
|
意匠
|
商標
特許ウォッチ
Twitter
他の特許を見る
10個以上の画像は省略されています。
公開番号
2025149539
公報種別
公開特許公報(A)
公開日
2025-10-08
出願番号
2024050256
出願日
2024-03-26
発明の名称
端末装置、無線通信システム、及び無線通信方法
出願人
日本電気株式会社
代理人
個人
主分類
H04W
36/08 20090101AFI20251001BHJP(電気通信技術)
要約
【課題】状況に応じて無線通信環境を選択することにより、無線通信の安定性を向上させることができる端末装置を実現する。
【解決手段】端末装置は、いずれかのアクセスポイントに接続する接続手段と、統合制御機器に、接続手段の接続先を示す第1の情報を送信する送信手段と、統合制御機器から、接続手段の接続先の切り替え候補となる1または複数のアクセスポイントを示す第2の情報を受信する受信手段と、を備える。
【選択図】図1
特許請求の範囲
【請求項1】
複数のアクセスポイントと統合制御機器とを備える第1の無線通信システムと通信する端末装置であって、
いずれかのアクセスポイントに接続する接続手段と、
前記統合制御機器に、前記接続手段の接続先を示す第1の情報を送信する送信手段と、
前記統合制御機器から、前記接続手段の接続先の切り替え候補となる1または複数のアクセスポイントを示す第2の情報を受信する受信手段と、を備え、
前記接続手段は、前記第2の情報が示す前記1または複数のアクセスポイントの無線状況の測定結果に基づいて、接続先を切り替える、端末装置。
続きを表示(約 1,500 文字)
【請求項2】
前記接続手段は、第2の無線通信システムにさらに接続可能であり、
前記第2の情報は、前記第2の無線通信システムが前記接続手段の接続先の切り替え候補であるか否かをさらに示し、
前記接続手段は、前記第2の情報が、前記第2の無線通信システムが接続先の切り替え候補であることを示す場合に、前記第2の無線通信システムの無線状況の測定結果にさらに基づいて、接続先を切り替える、請求項1に記載の端末装置。
【請求項3】
前記第1の無線通信システムは、無線LANシステムであり、
前記第2の無線通信システムは、セルラー通信システムである、請求項2に記載の端末装置。
【請求項4】
前記第2の情報は、前記接続手段の接続先の切り替え候補となる1または複数のアクセスポイントの利用可能なチャンネルをさらに示し、
前記接続手段は、前記第2の情報が示す前記1または複数のアクセスポイントの利用可能なチャンネルの無線状況の測定結果に基づいて、接続先を切り替える、請求項1に記載の端末装置。
【請求項5】
複数のアクセスポイントと、
統合制御機器と、を備え、
前記統合制御機器は、
いずれかのアクセスポイントに接続している端末装置から、当該端末装置の接続先を示す第1の情報を受信する受信手段と、
前記第1の情報に基づいて、前記端末装置に、前記端末装置の接続先の切り替え候補となる1または複数のアクセスポイントを示す第2の情報を送信する送信手段と、を備える、無線通信システム。
【請求項6】
前記端末装置は、第2の無線通信システムにさらに接続可能であり、
前記第2の情報は、前記第2の無線通信システムが前記端末装置の接続先の切り替え候補であるか否かをさらに示す、請求項5に記載の無線通信システム。
【請求項7】
前記無線通信システムは、無線LANシステムであり、
前記第2の無線通信システムは、セルラー通信システムである、請求項6に記載の無線通信システム。
【請求項8】
前記複数のアクセスポイントの各々に設けられたセンサー機器をさらに備え、
前記センサー機器は、当該センサー機器が設けられたアクセスポイントの近傍に存在するアクセスポイントを検出し、
前記統合制御機器は、前記センサー機器の検出結果に基づいて、前記第2の情報を生成する、請求項5に記載の無線通信システム。
【請求項9】
前記センサー機器は、当該センサー機器が設けられたアクセスポイントの近傍に存在するアクセスポイントの利用可能なチャンネルをさらに検出し、
前記第2の情報は、前記端末装置の接続先の切り替え候補となる1または複数のアクセスポイントの利用可能なチャンネルをさらに示す、請求項8に記載の無線通信システム。
【請求項10】
複数のアクセスポイントと統合制御機器とを備える第1の無線通信システムと通信する端末装置が、いずれかのアクセスポイントに接続すること、
前記端末装置が、前記統合制御機器に、前記端末装置の接続先を示す第1の情報を送信すること、
前記端末装置が、前記統合制御機器から、前記端末装置の接続先の切り替え候補となる1または複数のアクセスポイントを示す第2の情報を受信すること、および
前記端末装置が、前記第2の情報が示す前記1または複数のアクセスポイントの無線状況の測定結果に基づいて、接続先を切り替えることを実行する、無線通信方法。
発明の詳細な説明
【技術分野】
【0001】
本開示は、端末装置、無線通信システム、及び無線通信方法に関する。
続きを表示(約 1,800 文字)
【背景技術】
【0002】
無線通信において、より安定した通信環境を探索する技術が知られている。一例として、特許文献1には、スキャンする無線通信のチャンネル数を絞ることにより、短時間で途切れの無いデータ通信を可能にする技術が開示されている。
【先行技術文献】
【特許文献】
【0003】
特開2007-325067号公報
【発明の概要】
【発明が解決しようとする課題】
【0004】
特許文献1に記載の技術においては、予め定めた固定チャンネルのみスキャンを行う。そのため、状況に応じて利用対象となり得るチャンネルが動的に変化する場合には、スキャン対象のチャンネルを絞ることができない、という問題があった。
【0005】
本開示は、上記の問題に鑑みてなされたものであり、その一例示的目的は、状況に応じて無線通信環境を選択することにより、無線通信の安定性を向上させる技術を提供することにある。
【課題を解決するための手段】
【0006】
本開示の一例示的側面に係る端末装置は、複数のアクセスポイントと統合制御機器とを備える第1の無線通信システムと通信する端末装置であって、いずれかのアクセスポイントに接続する接続手段と、前記統合制御機器に、前記接続手段の接続先を示す第1の情報を送信する送信手段と、前記統合制御機器から、前記接続手段の接続先の切り替え候補となる1または複数のアクセスポイントを示す第2の情報を受信する受信手段と、を備え、前記接続手段は、前記第2の情報が示す前記1または複数のアクセスポイントの無線状況の測定結果に基づいて、接続先を切り替える。
【0007】
本開示の一例示的側面に係る無線通信システムは、複数のアクセスポイントと、統合制御機器と、を備え、前記統合制御機器は、いずれかのアクセスポイントに接続している端末装置から、当該端末装置の接続先を示す第1の情報を受信する受信手段と、前記第1の情報に基づいて、前記端末装置に、前記端末装置の接続先の切り替え候補となる1または複数のアクセスポイントを示す第2の情報を送信する送信手段と、を備える。
【0008】
本開示の一例示的側面に係る無線通信方法は、複数のアクセスポイントと統合制御機器とを備える第1の無線通信システムと通信する端末装置が、いずれかのアクセスポイントに接続すること、前記端末装置が、前記統合制御機器に、前記端末装置の接続先を示す第1の情報を送信すること、前記端末装置が、前記統合制御機器から、前記端末装置の接続先の切り替え候補となる1または複数のアクセスポイントを示す第2の情報を受信すること、および前記端末装置が、前記第2の情報が示す前記1または複数のアクセスポイントの無線状況の測定結果に基づいて、接続先を切り替えることを実行する。
【発明の効果】
【0009】
本開示の一例示的側面によれば、状況に応じて無線通信環境を選択することにより、無線通信の安定性を向上させる技術を提供することができるという一例示的効果を奏する。
【図面の簡単な説明】
【0010】
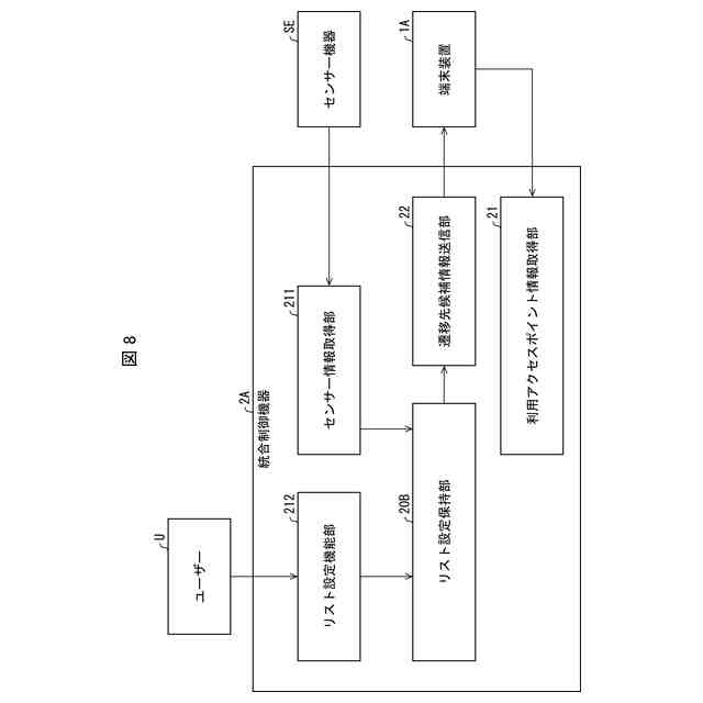
本開示に係る端末装置の構成を示すブロック図である。
本開示に係る統合制御機器の構成を示すブロック図である。
本開示に係る無線通信方法の流れを示すフロー図である。
本開示に係る端末装置の構成を示すブロック図である。
本開示に係る無線通信システムの構成を示すブロック図である。
本開示に係るシステムの構成を示すブロック図である。
本開示に係る無線通信方法の流れを示すフロー図である。
本開示に係る統合制御機器の構成を示すブロック図である。
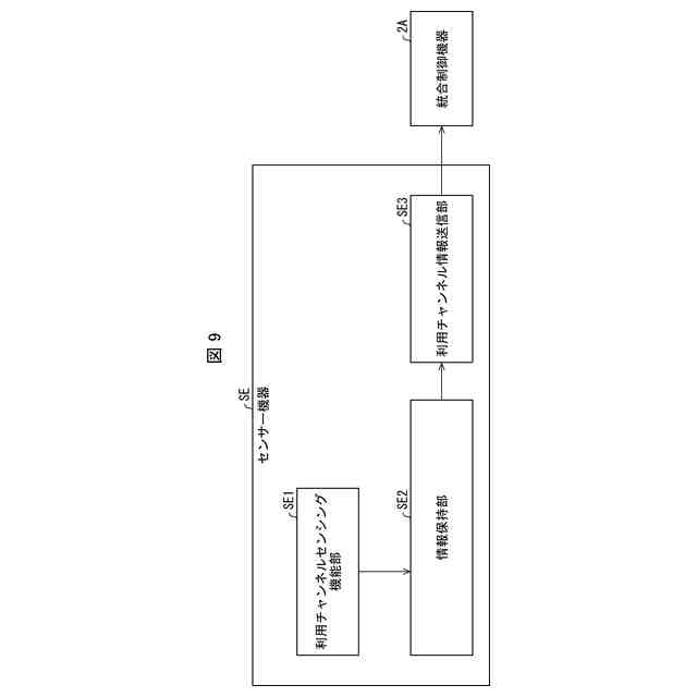
本開示に係るセンサー機器の構成を示すブロック図である。
本開示に係る端末装置の構成を示すブロック図である。
本開示に係るアクセスポイントリストの一例を示す図である。
本開示に係るシステムの動作例を示す図である。
本開示に係るシステムの動作例を示す図である。
本開示に係るシステムの動作例を示す図である。
本開示に係る端末装置又は統合制御機器として機能するコンピュータの構成を示すブロック図である。
【発明を実施するための形態】
(【0011】以降は省略されています)
この特許をJ-PlatPat(特許庁公式サイト)で参照する
関連特許
日本電気株式会社
監視装置
今日
日本電気株式会社
管理装置
今日
日本電気株式会社
監視装置
今日
日本電気株式会社
分析装置
16日前
日本電気株式会社
海底分岐装置
1日前
日本電気株式会社
光集積回路素子
5日前
日本電気株式会社
レーザモジュール
6日前
日本電気株式会社
超伝導量子回路装置
6日前
日本電気株式会社
受信器および通信装置
7日前
日本電気株式会社
量子回路装置と制御方法
16日前
日本電気株式会社
量子回路装置と制御方法
16日前
日本電気株式会社
検知装置および検知方法
16日前
日本電気株式会社
システム、装置及び方法
6日前
日本電気株式会社
通信装置および通信方法
12日前
日本電気株式会社
送信装置および通信装置
12日前
日本電気株式会社
光伝送システムおよび方法
8日前
日本電気株式会社
分析方法および分析システム
13日前
日本電気株式会社
端末装置および無線通信方法
27日前
日本電気株式会社
制御装置、プログラム及び方法
6日前
日本電気株式会社
兆候検知装置および兆候検知方法
8日前
日本電気株式会社
演算処理装置および演算処理方法
8日前
日本電気株式会社
共振器及びそれを備えた導波回路
14日前
日本電気株式会社
システム及びマイグレーション方法
16日前
日本電気株式会社
推定装置、推定方法及びプログラム
19日前
日本電気株式会社
ピーク抑圧装置及びピーク抑圧方法
26日前
日本電気株式会社
推定装置、推定方法及びプログラム
6日前
日本電気株式会社
放送用システムおよび字幕作成方法
8日前
日本電気株式会社
推定装置、推定方法及びプログラム
19日前
日本電気株式会社
情報処理装置、制御方法及び記憶媒体
6日前
日本電気株式会社
推定装置、推定方法、及び、記録媒体
13日前
日本電気株式会社
波長可変レーザ装置及びその構成方法
12日前
日本電気株式会社
ソーナー装置、通信方法、プログラム
8日前
日本電気株式会社
処理装置、処理方法、及びプログラム
16日前
日本電気株式会社
画像管理システムおよび画像管理方法
14日前
日本電気株式会社
通信装置、通信方法及び通信プログラム
13日前
日本電気株式会社
判別装置、判別方法、およびプログラム
8日前
続きを見る
他の特許を見る