TOP
|
特許
|
意匠
|
商標
特許ウォッチ
Twitter
他の特許を見る
公開番号
2025149255
公報種別
公開特許公報(A)
公開日
2025-10-08
出願番号
2024049791
出願日
2024-03-26
発明の名称
フレーム車
出願人
三菱自動車工業株式会社
代理人
個人
主分類
B62D
24/02 20060101AFI20251001BHJP(鉄道以外の路面車両)
要約
【課題】オフセット前面衝突時にキャビン全体の前方への変位を抑制する上で有利なフレーム車を提供する。
【解決手段】フレーム車10の一方の半部に衝突荷重が入力するオフセット前面衝突が発生すると、衝突荷重が入力した側のキャビン14の一方の半部14Aでは、一方の半部14Aの前方への変位に伴い、一方の半部14Aの第1ストッパ32が第8フレームクロスメンバ20Hの後面2002に当接する。他方の半部14Bでは、車両前方への慣性力と回転力による他方の半部14Bの前方への変位に伴い、他方の半部14Bの第1ストッパ32が第8フレームクロスメンバ20Hの後面2002に当接する。
【選択図】図1
特許請求の範囲
【請求項1】
車幅方向に間隔をおいて車両前後方向に延在する一対のサイドフレームと、車幅方向に延在して前記サイドフレームを連結する複数のフレームクロスメンバとを有し、フレームの上に複数のマウントを介してキャビンが支持されるフレーム車において、
前記キャビンは、当該キャビンの後方の床部を形成するリアフロアパネルの下面に沿って車幅方向に間隔をおいて車両前後方向に延在する一対のリアフロアサイドメンバとを備え、
前記リアフロアサイドメンバには、下方に延び、前記フレームクロスメンバの後面と車両前後方向に対向配置され、衝突時に当接して前記キャビンの変位を規制する一対の第1ストッパが設けられている、
ことを特徴とするフレーム車。
続きを表示(約 760 文字)
【請求項2】
前記フロアパネルの車両後端に車幅方向に延在するフロア骨格部材が設けられ、
前記フロア骨格部材には、前記サイドフレーム後端よりも後方、かつ前記サイドフレームと車両前後方向でラップする位置に配置され、衝突時に前記キャビンの変位を規制する一対の第2ストッパが設けられている、
ことを特徴とする請求項1記載のフレーム車。
【請求項3】
前記第1ストッパが当接する前記フレームクロスメンバは、スペアタイヤが取り付けられるクロスメンバである、
ことを特徴とする請求項1記載のフレーム車。
【請求項4】
前記第1ストッパが当接する前記フレームクロスメンバは、最も後方のクロスメンバである、
ことを特徴とする請求項1記載のフレーム車。
【請求項5】
前記第1ストッパは、車幅方向において互いに対向する一対の側壁と、前記一対の側壁の下端を接続する底壁と、一対の側壁の上部を除いた後端を接続する後壁とを有し、
前記第1ストッパは、前記一対の側壁の上部が前記フロアサイドメンバの車幅方向側の面にそれぞれ接合されている、
ことを特徴とする請求項1記載のフレーム車。
【請求項6】
前記後壁の上端は前記フロアサイドメンバの下面に当接可能に設けられている、
ことを特徴とする請求項4記載のフレーム車。
【請求項7】
前記第2ストッパは、棒状を呈し、一端が上下方向に延在して前記フロア骨格部材の後面に接合され、他端が車両前後方向に延在して前記フロア骨格部材の下面に取り付けられ、中間部が車幅方向に延在し前記サイドフレームの後端とラップしている
ことを特徴とする請求項2記載のフレーム車。
発明の詳細な説明
【技術分野】
【0001】
本発明は、フレーム車に関する。
続きを表示(約 4,300 文字)
【背景技術】
【0002】
フレーム車は、車幅方向に間隔をおいて車両前後方向に延在する一対のサイドフレームと、車両前後方向の複数箇所において車幅方向に延在して前記サイドフレームを連結する複数のフレームクロスメンバとを有するフレームの上に複数のマウントを介してキャビンが支持された車両である(特許文献1参照)。
【先行技術文献】
【特許文献】
【0003】
特許第7415239号公報
【発明の概要】
【発明が解決しようとする課題】
【0004】
このようなフレーム車に前面衝突が発生すると、フレームに衝突荷重が入力して分散吸収されるものの、キャビンに衝突荷重が伝達されることでキャビンは慣性力によってフレームに対して前方に変位する。
そのため、車両前後方向の中間の箇所において、一対のサイドフレームとキャビンのフロアパネルの両側とにそれぞれストッパ部を設け、前面衝突時に入力される衝突荷重によってキャビンが前方に変位した際にストッパ部同士が当接してキャビンの前方への変位を抑制することが考えられる。
一方、フレーム車に車幅方向のうち一方の半部に衝突荷重が入力するオフセット前面衝突が発生した場合、衝突荷重が入力したフレーム車の一方の半部では、衝突時の慣性力が車両前方に作用し、キャビンが前方へ変位しようとする。
その際、衝突荷重が入力するフレーム側のストッパ部がキャビン側のストッパ部から入力されるキャビンの後部の荷重をしっかり受け止めることができ、キャビンの一方の半部の前方への変位は抑制される。
また、衝突荷重が入力しないフレーム車の他方の半部では、衝突時の慣性力が車両前方に作用すると共に、フレーム車の一方の半部を支点として他方の半部全体が車両前方に回転しようとする回転力が作用する。
その際、衝突荷重が入力しないフレーム側のストッパ部はキャビン側のストッパ部から入力される他方の半部の荷重および回転力を受け止め切れず、フレーム側のストッパ部が前方に変形し、他方の半部側に位置するキャビンの部分が前方への変位することを抑制しきれないことが懸念される。
本発明は、上記事情に鑑みなされたものであり、オフセット前面衝突時にキャビン全体の前方への変位を抑制する上で有利なフレーム車を提供することを目的とする。
【課題を解決するための手段】
【0005】
上記目的を達成するために、本発明の一実施の形態は、車幅方向に間隔をおいて車両前後方向に延在する一対のサイドフレームと、車幅方向に延在して前記サイドフレームを連結する複数のフレームクロスメンバとを有し、フレームの上に複数のマウントを介してキャビンが支持されるフレーム車において、前記キャビンは、当該キャビンの後方の床部を形成するリアフロアパネルの下面に沿って車幅方向に間隔をおいて車両前後方向に延在する一対のリアフロアサイドメンバとを備え、前記リアフロアサイドメンバには、下方に延び、前記フレームクロスメンバの後面と車両前後方向に対向配置され、衝突時に当接して前記キャビンの変位を規制する一対の第1ストッパが設けられていることを特徴とする。
また、本発明の一実施の形態は、前記フロアパネルの車両後端に車幅方向に延在するフロア骨格部材が設けられ、前記フロア骨格部材には、前記サイドフレーム後端よりも後方、かつ前記サイドフレームと車両前後方向でラップする位置に配置され、衝突時に前記キャビンの変位を規制する一対の第2ストッパが設けられていることを特徴とする。
また、本発明の一実施の形態は、前記第1ストッパが当接する前記フレームクロスメンバは、スペアタイヤが取り付けられるクロスメンバであることを特徴とする。
また、本発明の一実施の形態は、前記第1ストッパが当接する前記フレームクロスメンバは、最も後方のクロスメンバであることを特徴とする。
また、本発明の一実施の形態は、前記第1ストッパは、車幅方向において互いに対向する一対の側壁と、前記一対の側壁の下端を接続する底壁と、一対の側壁の上部を除いた後端を接続する後壁とを有し、前記第1ストッパは、前記一対の側壁の上部が前記フロアサイドメンバの車幅方向側の面にそれぞれ接合されていることを特徴とする。
また、本発明の一実施の形態は、前記後壁の上端は前記フロアサイドメンバの下面に当接可能に設けられていることを特徴とする。
また、本発明の一実施の形態は、前記第2ストッパは、棒状を呈し、一端が上下方向に延在して前記フロア骨格部材の後面に接合され、他端が車両前後方向に延在して前記フロア骨格部材の下面に取り付けられ、中間部が車幅方向に延在し前記サイドフレームの後端とラップしていることを特徴とする。
【発明の効果】
【0006】
本発明の一実施の形態によれば、オフセット前面衝突が発生した場合、衝突荷重が入力した側のキャビンの一方の半部では、一方の半部の前方への変位に伴い、一方の半部の第1ストッパがフレームクロスメンバの後面に当接することで、一方の半部の第1ストッパが一方の半部の荷重をしっかり受け止めることができ、一方の半部の前方への変位が抑制される。衝突荷重が入力されない側のキャビンの他方の半部では、車両前方への慣性力と回転力による他方の半部の前方への変位に伴い、他方の半部の第1ストッパがフレームクロスメンバの後面に当接することで、他方の半部の第1ストッパが他方の半部の荷重をしっかり受け止めることができ、他方の半部の前方への変位は抑制される。したがって、オフセット前面衝突時にキャビン全体の前方への変位を抑制する上で有利となる。
また、フロア骨格部材にサイドフレーム後端よりも後方、かつサイドフレームと車両前後方向でラップする位置に配置され、衝突時にキャビンの変位を規制する一対の第2ストッパを設けると、前面衝突時に第2ストッパがフロア骨格部材に早期に当接することから、前面衝突の発生時に、キャビンの後部が前方に変位することを確実にかつ早期に抑制する上で有利となる。
また、第1ストッパが当接するフレームクロスメンバがスペアタイヤが取り付けられるクロスメンバであると、クロスメンバの剛性強度が確保されているため、第1ストッパから入力する荷重をクロスメンバでしっかり受け止めることができ、キャビンの前方への変位を確実にかつ抑制する上で有利となる。
また、第1ストッパが当接するフレームクロスメンバを、最も後方に位置するクロスメンバとすると、キャビンの前方への変位を確実にかつ早期に抑制する上でより有利となる。
また、第1ストッパは、一対の側壁の上部が、フロアサイドメンバの車幅方向側の面にそれぞれ接合されていると、前面衝突の発生時に入力する衝突荷重に対する第1ストッパの取り付け強度を確保する上で有利となり、キャビン全体の前方への変位を確実に抑制する上でより有利となる。
また、第1ストッパの後壁の上端を、フロアサイドメンバの下面に当接可能に設けると、前面衝突の発生時に第1ストッパがフレームクロスメンバに当接することで第1ストッパの後方への倒れを抑制できることから、衝突荷重を第1ストッパでしっかり受け止める上で有利となるため、キャビン全体の前方への変位を確実に抑制する上でより有利となる。
また、棒状を呈する第2ストッパの一端を上下方向に延在させてフロア骨格部材の後面に接合し、他端を車両前後方向に延在させてフロア骨格部材の下面に取り付け、中間部を車幅方向に延在させサイドフレームの後端とラップさせると、前面衝突の発生時に第2ストッパに対して入力する荷重に対する第2ストッパの取り付け強度を確保する上で有利となる。
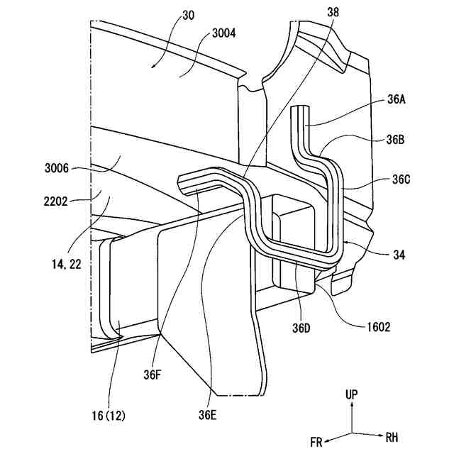
【図面の簡単な説明】
【0007】
実施の形態に係るフレーム車の底面図である。
車幅方向の中心で破断したフレーム車の後部を斜め下方から見た斜視図である。
第2ストッパの取り付け部分を示す拡大斜視図である。
実施の形態に係るフレーム車の後端部の側面図である。
第1ストッパの斜視図である。
第2ストッパの斜視図である。
【発明を実施するための形態】
【0008】
以下、本発明の実施の形態に係る車体構造について図面を参照して説明する。
なお、以下の図面において、符号FRは車両前方、符号UPは車両上方、符号RHは車幅方向を示す。
【0009】
図1に示すように、フレーム車10は、フレーム(シャシフレーム)12と、不図示の複数のマウントを介してフレーム12で支持されたキャビン14とを備えている。
フレーム12は、車幅方向に間隔をおいて車両前後方向に延在する一対のサイドフレーム16と、車両前後方向の複数箇所において車幅方向に延在してサイドフレーム16を連結する複数のフレームクロスメンバ20とを含んで構成されている。
各サイドフレーム16には、マウントを支持するマウントブラケット18がそれぞれ3つずつ設けられている。
本実施の形態では、フレームクロスメンバ20は、車両前方から車両後方に向かって配置された第1から第8フレームクロスメンバ20A-20Hを含んで構成されている。
最も後方に設けられた第8フレームクロスメンバ20Hには図示しないスペアタイヤが着脱可能に支持されている。
キャビン14は、その底部には床面を形成するフロントフロアパネル2201とリアフロアパネル2202とで構成されるフロアパネル22を備え、フロアパネル22の車幅方向の両側がマウントブラケット18で支持されたブラケットを介して一対のサイドフレーム16によって支持されている。
【0010】
図1に示すように、キャビン14における前方部の床面を形成するフロントフロアパネル2201には、一対のフロントフロアサイドメンバ24が設けられ、キャビンにおける後方部の床面を形成するリアフロアパネル2202には、一対のリアフロアサイドメンバ26と、一対のリアフロアサイドメンバ26を連結する複数のフロアクロスメンバ28(28A-28C)と、フロア骨格部材30とが設けられている。
(【0011】以降は省略されています)
この特許をJ-PlatPat(特許庁公式サイト)で参照する
関連特許
個人
カート
3か月前
個人
走行装置
3か月前
個人
電動走行車両
3か月前
個人
乗り物
5か月前
個人
駐輪設備
1か月前
個人
発音装置
7か月前
個人
閂式ハンドル錠
3か月前
個人
電動モビリティ
7か月前
個人
折り畳み自転車
10か月前
個人
ボギー・フレーム
1か月前
個人
自転車用傘捕捉具
11か月前
個人
自由方向乗車自転車
7か月前
個人
“zen-go.”
2か月前
個人
ルーフ付きトライク
1か月前
個人
ルーフ付きトライク
2か月前
個人
体重掛けリフト台車
10か月前
個人
キャンピングトライク
8か月前
個人
パワーアシスト自転車
1か月前
個人
アタッチメント
11か月前
個人
自転車用荷物台
11か月前
個人
ステアリングの操向部材
8か月前
株式会社CPM
駐輪機
11か月前
株式会社豊田自動織機
産業車両
4か月前
株式会社三五
リアサブフレーム
10か月前
個人
フロントフットブレーキ。
4か月前
豊田鉄工株式会社
小型車両
3か月前
学校法人千葉工業大学
車両
9か月前
ヤマハ発動機株式会社
車両
12か月前
学校法人千葉工業大学
車両
9か月前
個人
ホイールハブ駆動構造
4か月前
豊田合成株式会社
操舵装置
12か月前
個人
乗用自動車のディフューザー
19日前
ヤマハ発動機株式会社
車両
12か月前
ヤマハ発動機株式会社
車両
12か月前
ヤマハ発動機株式会社
車両
12か月前
学校法人千葉工業大学
車両
9か月前
続きを見る
他の特許を見る