TOP
|
特許
|
意匠
|
商標
特許ウォッチ
Twitter
他の特許を見る
10個以上の画像は省略されています。
公開番号
2025149189
公報種別
公開特許公報(A)
公開日
2025-10-08
出願番号
2024049676
出願日
2024-03-26
発明の名称
糸巻取装置
出願人
TMTマシナリー株式会社
,
東レ株式会社
代理人
弁理士法人ATEN
主分類
B65H
57/28 20060101AFI20251001BHJP(運搬;包装;貯蔵;薄板状または線条材料の取扱い)
要約
【課題】パッケージの最内層に含まれる糸の品質を向上させる。
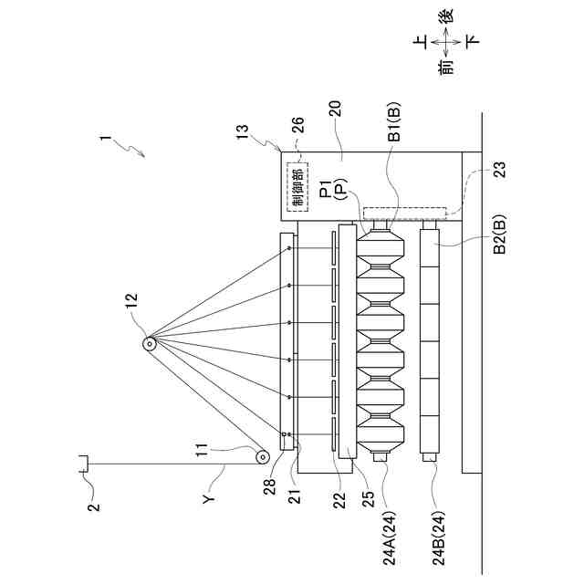
【解決手段】糸巻取装置13は、巻取モータ102と、糸Yを綾振りするトラバース装置30とを備える。巻取モータ102及びトラバース装置30のトラバースモータ31によって、空のボビンBに糸Yがバンチ巻きされる。糸巻取装置13は、さらに張力計28と制御部26とを備える。制御部26は、糸YのボビンBへのバンチ巻きの開始後、且つ、トラバース装置30に糸Yを綾振りさせる通常制御の開始前に、張力計28による張力の測定結果に基づいて巻取モータ102によって糸Yの巻取速度を制御する予備張力制御を行う。
【選択図】図9
特許請求の範囲
【請求項1】
走行する糸を巻取管に巻き取ってパッケージを形成する糸巻取装置であって、
前記巻取管を回転駆動する回転駆動部と、
前記巻取管の軸方向において、前記巻取管に巻き取られた前記糸を含む糸層が形成される所定のトラバース領域内で前記糸を綾振りするトラバース部と、
前記糸層が形成される前の前記巻取管の、前記軸方向における前記トラバース領域の外側の部分に前記糸のバンチ巻きを施すバンチ巻部と、
前記巻取管に向かって走行中の前記糸の張力を測定する張力測定部と、
制御部と、を備え、
前記制御部は、
前記バンチ巻きの開始後、且つ、前記トラバース部に前記糸を綾振りさせる通常制御の開始前に、前記張力測定部による前記張力の測定結果に基づいて前記回転駆動部によって前記糸の巻取速度を制御する予備張力制御を開始する、糸巻取装置。
続きを表示(約 670 文字)
【請求項2】
前記制御部は、
前記予備張力制御において、前記糸の巻取速度を前記予備張力制御の開始時における前記巻取速度よりも低下させる請求項1に記載の糸巻取装置。
【請求項3】
前記制御部は、前記バンチ巻きが終了した時以後に前記予備張力制御を開始する請求項1又は2に記載の糸巻取装置。
【請求項4】
前記制御部は、
前記予備張力制御において、前記糸の前記張力が前記通常制御における前記糸の前記張力の所定の目標値である目標張力に到達するように前記回転駆動部を制御する請求項1~3のいずれかに記載の糸巻取装置。
【請求項5】
前記制御部は、前記通常制御において、前記トラバース部及び前記回転駆動部のうち少なくとも一方を、前記張力測定部による前記張力の測定結果に基づいて制御する請求項1~4のいずれかに記載の糸巻取装置。
【請求項6】
前記トラバース部は、
前記軸方向に沿って往復移動可能に構成され、前記糸を前記巻取管へ案内するトラバースガイドを有し、
前記トラバースガイドは、前記軸方向において前記トラバース領域よりも外側まで移動可能に構成されている請求項1~5のいずれかに記載の糸巻取装置。
【請求項7】
前記トラバース部は、
前記トラバースガイドを移動駆動可能に構成され、且つ前記トラバースガイドの前記軸方向における位置に関する情報を検知可能に構成されたサーボモータを有する請求項6に記載の糸巻取装置。
発明の詳細な説明
【技術分野】
【0001】
本発明は、糸巻取装置に関する。
続きを表示(約 2,100 文字)
【背景技術】
【0002】
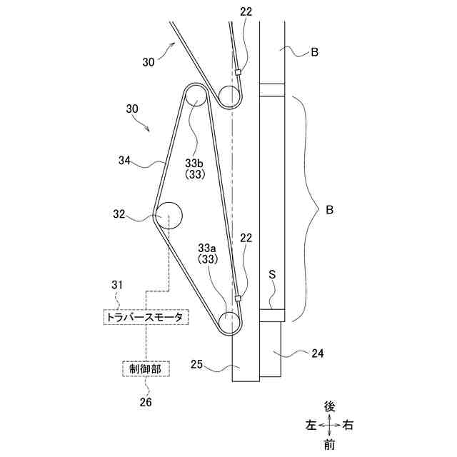
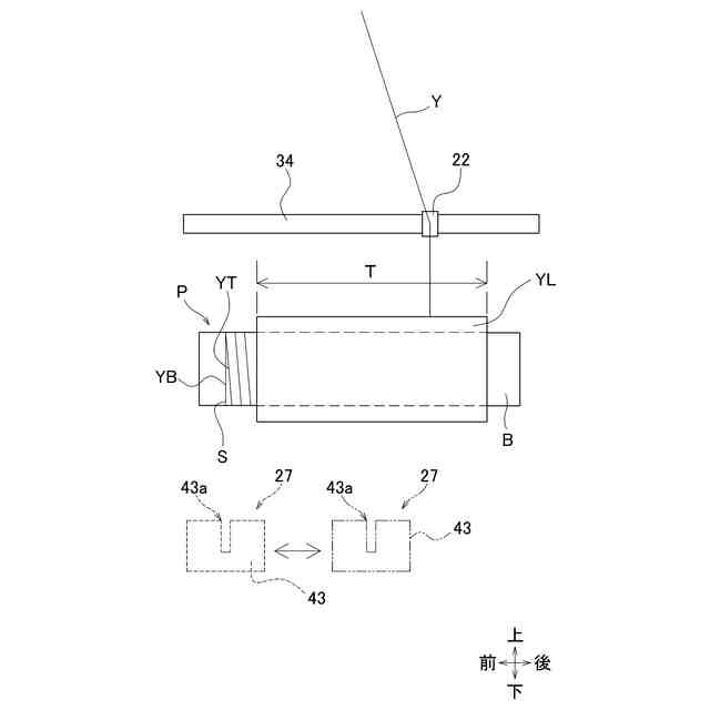
特許文献1には、糸を巻取ボビン(巻取管)に巻き取ってパッケージを形成する糸巻取装置が開示されている。より詳細には、糸巻取装置は、ボビンホルダと、ボビンホルダモータと、糸ガイドと、駆動モータとを備える。ボビンホルダは、巻取管を回転可能に支持し、ボビンホルダモータによって回転駆動される。糸ガイドは、駆動モータによって巻取管の軸方向に移動駆動されながら、糸を巻取管へ案内する。空の巻取管への糸掛け及びバンチ巻きが行われるとき、駆動モータは巻取管の軸方向において巻取管の端部の近傍に糸ガイドを移動させる。これにより、巻取管の上記端部の近傍に形成されたスリットに糸が捕捉され、糸が巻取管にバンチ巻きされる。その後、ボビンホルダモータがボビンホルダを回転駆動し、且つ、駆動モータが糸ガイドを往復移動させることにより、糸が綾振りされながら巻取管に巻き取られる。
【先行技術文献】
【特許文献】
【0003】
特開2010-168146号公報
【発明の概要】
【発明が解決しようとする課題】
【0004】
一般的に、巻取管への糸掛け時には、巻取管に糸を確実に捕捉させるために、糸に高い張力を付与する必要がある。但し、その後、糸に付与される張力が高すぎると、糸が必要以上に引っ張られてしまい、巻取管に巻き取られている糸の品質が所望の品質よりも悪化しうる。このため、巻取管への糸掛け時には高い第1張力が糸に付与され、巻取管への糸の巻取り時には第1張力よりも低い第2張力が糸に付与される必要がある。しかしながら、巻取開始直後の糸の張力は、第2張力よりも遥かに高いのが従来の実状である。ここで、例えば後工程で製造される織物の緯糸は、あるパッケージに含まれる糸の終端部と、当該パッケージの次に使用されるパッケージに含まれる糸の始端部とが結ばれることにより連続的に供給される。しかし、パッケージに含まれる糸の層のうち終端部に近い部分(最内層)は、上述したように第2張力よりも遥かに高い張力で糸が巻き取られる部分であり、糸の品質が低い部分である。これに起因し、織物のうち上記最内層の糸が含まれている箇所は、例えば染色性の観点から品質不良の箇所となりうる。このため、パッケージの最内層に含まれる糸の品質の改善が求められている。
【0005】
本発明の目的は、パッケージの最内層に含まれる糸の品質を向上させることである。
【課題を解決するための手段】
【0006】
第1の発明の糸巻取装置は、走行する糸を巻取管に巻き取ってパッケージを形成する糸巻取装置であって、前記巻取管を回転駆動する回転駆動部と、前記巻取管の軸方向において、前記巻取管に巻き取られた前記糸を含む糸層が形成される所定のトラバース領域内で前記糸を綾振りするトラバース部と、前記糸層が形成される前の前記巻取管の、前記軸方向における前記トラバース領域の外側の部分に前記糸のバンチ巻きを施すバンチ巻部と、前記巻取管に向かって走行中の前記糸の張力を測定する張力測定部と、制御部と、を備え、前記制御部は、前記バンチ巻きの開始後、且つ、前記トラバース部に前記糸を綾振りさせる通常制御の開始前に、前記張力測定部による前記張力の測定結果に基づいて前記回転駆動部によって前記糸の巻取速度を制御する予備張力制御を開始する。
【0007】
糸が綾振りされながら巻取管に巻き取られることにより、パッケージの糸層が形成される。また、一般的に、糸の巻取速度の制御によって糸に付与される張力を制御することができる。これにより、本発明では、糸層が形成され始めるよりも前に、張力の測定結果に基づいて糸に付与される張力を制御できる。したがって、このような制御が行われていない場合と比べると、糸層が形成され始めるタイミングで糸に付与されている張力を、所望の張力に近づけることができる。以上より、パッケージの最内層に含まれる糸の品質を向上させることができる。
【0008】
第2の発明の糸巻取装置は、前記第1の発明において、前記制御部は、前記予備張力制御において、前記糸の巻取速度を前記予備張力制御の開始時における前記巻取速度よりも低下させる。
【0009】
一般的に、糸を巻取管に確実に掛けるためには、糸に高い張力が付与される必要がある。また、一般的に、糸の巻取速度が高いと糸が引っ張られて糸に付与される張力が高くなる傾向がある。逆に、糸の巻取速度が低いと糸に付与される張力が低くなる傾向がある。本発明では、糸層が形成され始めるよりも前に、張力を低下させることができる。したがって、パッケージの最内層に含まれる糸の品質を確実に向上させることができる。
【0010】
第3の発明の糸巻取装置は、前記第1又は第2のいずれかの発明において、前記制御部は、前記バンチ巻きが終了した時以後に前記予備張力制御を開始する。
(【0011】以降は省略されています)
この特許をJ-PlatPat(特許庁公式サイト)で参照する
関連特許
個人
収容箱
3か月前
個人
束ね具
1日前
個人
コンベア
5か月前
個人
段ボール箱
7か月前
個人
段ボール箱
7か月前
個人
ゴミ収集器
7か月前
個人
テープ引出機
1日前
個人
バンド
2か月前
個人
楽ちんハンド
5か月前
個人
角筒状構造体
6か月前
個人
宅配システム
7か月前
個人
包装容器
1か月前
個人
棒状体収容容器
5日前
個人
お薬の締結装置
6か月前
個人
廃棄物収容容器
3か月前
個人
コード類収納具
8か月前
株式会社コロナ
梱包材
6か月前
個人
積み重ね用補助具
3か月前
個人
蓋閉止構造
4か月前
株式会社和気
包装用箱
15日前
個人
把手付米袋
5か月前
個人
貯蔵サイロ
7か月前
個人
蓋閉止構造
4か月前
株式会社バンダイ
物品
1か月前
三甲株式会社
容器
6か月前
三甲株式会社
容器
19日前
株式会社イシダ
搬送装置
6か月前
個人
輸送積荷用動吸振器
6か月前
個人
搬送システム
7か月前
三甲株式会社
容器
6か月前
株式会社新弘
容器
3か月前
個人
介護用コップ
2か月前
株式会社ナベル
検査装置
13日前
個人
袋入り即席麺
7か月前
個人
コード折り畳み器具
4か月前
三甲株式会社
蓋体
8か月前
続きを見る
他の特許を見る