TOP
|
特許
|
意匠
|
商標
特許ウォッチ
Twitter
他の特許を見る
公開番号
2025148825
公報種別
公開特許公報(A)
公開日
2025-10-08
出願番号
2024049142
出願日
2024-03-26
発明の名称
車両の下部構造
出願人
三菱自動車工業株式会社
代理人
個人
,
弁理士法人真田特許事務所
主分類
B62D
21/02 20060101AFI20251001BHJP(鉄道以外の路面車両)
要約
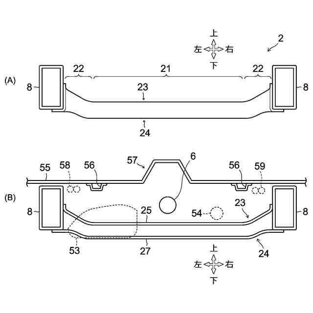
【課題】車両の下部構造に関し、簡素な構成で車両の振動騒音特性を改善する。
【解決手段】開示の車両50の下部構造は、車両50の前後方向に延在する左右一対のサイドフレーム8の間を車幅方向に接続するクロスメンバ1と、クロスメンバ1の上面に支持されるプロペラシャフト6とを備える。クロスメンバ1は、車幅方向中央部で下方に窪んだ形状に形成された窪み部11と、窪み部11の左方及び右方の各々において上方に向かって山なりに形成された一対の丘陵部12とを有するとともに、正面視において略M字状に形成される。また、窪み部11にプロペラシャフト6が支持され、丘陵部12の下方に車載装置が配設される。
【選択図】図1
特許請求の範囲
【請求項1】
車両の前後方向に延在する左右一対のサイドフレームの間を車幅方向に接続するクロスメンバと、
前記クロスメンバの上面に支持されるプロペラシャフトとを備え、
前記クロスメンバが、車幅方向中央部で下方に窪んだ形状に形成された窪み部と、前記窪み部の左方及び右方の各々において上方に向かって山なりに形成された一対の丘陵部とを有するとともに、正面視において略M字状に形成され、
前記窪み部に前記プロペラシャフトが支持され、前記丘陵部の下方に車載装置が配設される
ことを特徴とする、車両の下部構造。
続きを表示(約 950 文字)
【請求項2】
前記車両のフロアパネルの下面に固定され、車両前後方向に延在する左右一対のフロアサイドメンバを備え、
前記丘陵部の頂上部は、正面視において前記フロアサイドメンバに対して車幅方向にオフセットした位置に配置される
ことを特徴とする、請求項1記載の車両の下部構造。
【請求項3】
前記丘陵部の前記頂上部は、前記フロアサイドメンバに対して車幅方向内側に位置される
ことを特徴とする、請求項2記載の車両の下部構造。
【請求項4】
前記車載装置が、前記丘陵部の下方に吊り下げ固定されるタンクを含む
ことを特徴とする、請求項1記載の車両の下部構造。
【請求項5】
前記車載装置が、排気系装置を含み、
前記一対の丘陵部における一方の下方に前記タンクが配設され、他方の下方に前記排気系装置が配設される
ことを特徴とする、請求項4記載の車両の下部構造。
【請求項6】
前記プロペラシャフトは、前記クロスメンバに対してベアリングを介して回動自在に支持され、
前記クロスメンバは、前記窪み部の上方で車幅方向に延設され、前記一対の丘陵部間を連結するとともに、前記窪み部との間に前記ベアリングを挟んで固定するブリッジを備える
ことを特徴とする、請求項1記載の車両の下部構造。
【請求項7】
前記ベアリングが、ベアリング本体と、前記ベアリング本体の外周に取り付けられて前記窪み部及び前記ブリッジに固定されるベアリングブラケットとを有する
ことを特徴とする、請求項6記載の車両の下部構造。
【請求項8】
前記丘陵部と前記サイドフレームとの接合箇所において、前記クロスメンバの下面が、正面視で前記サイドフレームの下面と繋がるように形成される
ことを特徴とする、請求項1記載の車両の下部構造。
【請求項9】
前記丘陵部と前記サイドフレームとの接合箇所において、前記クロスメンバの上面が、正面視で前記サイドフレームの内側面に対して滑らかに接続される形状に形成される
ことを特徴とする、請求項1記載の車両の下部構造。
発明の詳細な説明
【技術分野】
【0001】
本件は、車両のプロペラシャフトを支持するクロスメンバを含む下部構造に関する。
続きを表示(約 1,800 文字)
【背景技術】
【0002】
駆動源が駆動輪から離れた位置に設けられる車両において、プロペラシャフトを用いて駆動力を伝達するものが知られている。この種の車両では、駆動源や変速機がプロペラシャフトの一端部に取り付けられ、ディファレンシャル装置がプロペラシャフトの他端部に取り付けられる。また、プロペラシャフトが、二本のシャフト(フロントプロペラシャフト及びリヤプロペラシャフト)を前後に接続した構造を有する場合には、これらの接続部近傍を車体に対して支持させる必要がある。このようなプロペラシャフトの支持構造に関して、例えば特許文献1には、クロスメンバの下部に半円状の切り欠きを設け、その内側でプロペラシャフトを支持する構造が記載されている。
【先行技術文献】
【特許文献】
【0003】
特開2021-037784号公報
【発明の概要】
【発明が解決しようとする課題】
【0004】
従来のプロペラシャフトの支持構造には、車両の振動騒音特性を向上させにくいという課題がある。例えば、特許文献1に記載の技術では、プロペラシャフトとボディ(例えばフロアパネル)とが近接していることから、プロペラシャフトの振動がボディに伝達されやすく、良好なNVH(Noise Vibration Harshness)性能が得られにくい。
【0005】
本件の目的の一つは、上記のような課題に照らして創案されたものであり、簡素な構成で車両の振動騒音特性を改善できるようにした車両の下部構造を提供することである。なお、この目的に限らず、後述する「発明を実施するための形態」に示す各構成から導き出される作用効果であって、従来の技術では得られない作用効果を奏することも、本件の他の目的として位置付けられる。
【課題を解決するための手段】
【0006】
開示の車両の下部構造は、以下に開示する態様(適用例)として実現でき、上記の課題の少なくとも一部を解決する。態様2以降の各態様は、何れもが付加的に適宜選択されうる態様であって、何れもが省略可能な態様である。態様2以降の各態様は、何れもが本件にとって必要不可欠な態様や構成を開示するものではない。
【0007】
態様1.開示の車両の下部構造は、車両の前後方向に延在する左右一対のサイドフレームの間を車幅方向に接続するクロスメンバと、前記クロスメンバの上面に支持されるプロペラシャフトとを備える。前記クロスメンバは、車幅方向中央部で下方に窪んだ形状に形成された窪み部と、前記窪み部の左方及び右方の各々において上方に向かって山なりに形成された一対の丘陵部とを有するとともに、正面視において略M字状に形成される。また、前記窪み部に前記プロペラシャフトが支持され、前記丘陵部の下方に車載装置が配設される。
【0008】
態様2.上記の態様1を含む態様に関して、前記車両のフロアパネルの下面に固定され、車両前後方向に延在する左右一対のフロアサイドメンバを備えることが好ましい。前記丘陵部の頂上部は、正面視において前記フロアサイドメンバに対して車幅方向にオフセットした位置に配置されることが好ましい。
【0009】
態様3.上記の態様2を含む態様に関して、前記丘陵部の頂上部は、前記フロアサイドメンバに対して車幅方向内側に位置されることが好ましい。
態様4.上記の態様1を含む態様に関して、前記車載装置が、前記丘陵部の下方に吊り下げ固定されるタンクを含むことが好ましい。
【0010】
態様5.上記の態様4を含む態様に関して、前記車載装置が、排気系装置を含むことが好ましい。また、前記一対の丘陵部における一方の下方に前記タンクが配設され、他方の下方に前記排気系装置が配設されることが好ましい。
態様6.上記の態様1を含む態様に関して、前記プロペラシャフトは、前記クロスメンバに対してベアリングを介して回動自在に支持されることが好ましい。また、前記クロスメンバは、前記窪み部の上方で車幅方向に延設され、前記一対の丘陵部間を連結するとともに、前記窪み部との間に前記ベアリングを挟んで固定するブリッジを備えることが好ましい。
(【0011】以降は省略されています)
この特許をJ-PlatPat(特許庁公式サイト)で参照する
関連特許
個人
カート
3か月前
個人
走行装置
3か月前
個人
電動走行車両
3か月前
個人
乗り物
5か月前
個人
折り畳み自転車
10か月前
個人
閂式ハンドル錠
3か月前
個人
発音装置
7か月前
個人
駐輪設備
1か月前
個人
電動モビリティ
7か月前
個人
自転車用傘捕捉具
11か月前
個人
ボギー・フレーム
1か月前
個人
ルーフ付きトライク
2か月前
個人
“zen-go.”
2か月前
個人
自由方向乗車自転車
7か月前
個人
体重掛けリフト台車
10か月前
個人
ルーフ付きトライク
1か月前
個人
自転車用荷物台
11か月前
個人
キャンピングトライク
8か月前
個人
パワーアシスト自転車
1か月前
個人
アタッチメント
11か月前
個人
ステアリングの操向部材
8か月前
株式会社CPM
駐輪機
11か月前
個人
フロントフットブレーキ。
3か月前
株式会社三五
リアサブフレーム
10か月前
株式会社豊田自動織機
産業車両
4か月前
ヤマハ発動機株式会社
車両
12か月前
ヤマハ発動機株式会社
車両
12か月前
ヤマハ発動機株式会社
車両
12か月前
ヤマハ発動機株式会社
車両
12か月前
豊田合成株式会社
操舵装置
12か月前
個人
乗用自動車のディフューザー
18日前
学校法人千葉工業大学
車両
9か月前
学校法人千葉工業大学
車両
9か月前
個人
ホイールハブ駆動構造
4か月前
豊田鉄工株式会社
小型車両
3か月前
学校法人千葉工業大学
車両
9か月前
続きを見る
他の特許を見る