TOP
|
特許
|
意匠
|
商標
特許ウォッチ
Twitter
他の特許を見る
公開番号
2025148788
公報種別
公開特許公報(A)
公開日
2025-10-08
出願番号
2024049086
出願日
2024-03-26
発明の名称
チップ放熱システム
出願人
株式会社アイシン
代理人
Knowledge Partners弁理士法人
主分類
H01L
23/12 20060101AFI20251001BHJP(基本的電気素子)
要約
【課題】放射される電磁波の周波数を高周波数側にシフトさせることが可能な技術を提供する。
【解決手段】基板20と、前記基板20に固定されるチップ30と、前記チップ30の熱を放熱させる放熱器40と、を備え、前記基板20は、前記放熱器40を電気的に接地して支持する接地支持部50と、前記基板20の実装面に平行な方向において、前記チップ30からの距離が前記接地支持部50よりも遠い位置で前記放熱器40を電気的に絶縁して支持する絶縁支持部60と、を備える、チップ放熱システム10を構成する。
【選択図】図1
特許請求の範囲
【請求項1】
基板と、
前記基板に固定されるチップと、
前記チップの熱を放熱させる放熱器と、を備え、
前記基板は、
前記放熱器を電気的に接地して支持する接地支持部と、
前記基板の実装面に平行な方向において、前記チップからの距離が前記接地支持部よりも遠い位置で前記放熱器を電気的に絶縁して支持する絶縁支持部と、を備える、
チップ放熱システム。
続きを表示(約 320 文字)
【請求項2】
前記基板の前記絶縁支持部は、開口部および内周面が絶縁体によって形成された穴を備え、
前記放熱器は、前記放熱器が備える凸部が前記穴に挿入され、前記絶縁体と接した状態で前記基板に支持される、
請求項1に記載のチップ放熱システム。
【請求項3】
前記基板の前記接地支持部は、開口部および内周面の少なくとも一部に前記基板の接地配線が形成された基板側ネジ穴を備え、
前記放熱器は、前記放熱器が備える放熱器側ネジ穴と前記基板側ネジ穴とに挿入されたネジにより、前記放熱器が前記接地配線に電気的に接続した状態で前記基板に支持される、
請求項1または請求項2に記載のチップ放熱システム。
発明の詳細な説明
【技術分野】
【0001】
本発明は、チップ放熱システムに関する。
続きを表示(約 1,900 文字)
【背景技術】
【0002】
高周波信号が利用される集積回路のチップや当該チップが固定される基板の周辺には電磁波が放射され得る。しかし、特定の周波数帯域において基準を超える電磁波の放射があると、他の機器に対する影響があるなどの問題が生じるため、放射される電磁波の強度や周波数を既定の範囲内に抑制する必要がある。なお、放射される電磁波の周波数を制御する技術として特許文献1のような技術が知られている。
【先行技術文献】
【特許文献】
【0003】
特開2019-68029号公報
【発明の概要】
【発明が解決しようとする課題】
【0004】
基板上の回路から放射される電磁波の周波数は、回路によって異なり得る。従来の技術において、特定の用途に用いられる回路から放射される電磁波を抑制することができない場合、別の技術を用いて電磁波の周波数を制御する必要が生じる。
本発明は、上記課題に鑑みてなされたものであり、放射される電磁波の周波数を高周波数側にシフトさせることが可能な技術を提供することを目的とする。
【課題を解決するための手段】
【0005】
上記の目的を達成するために、チップ放熱システムは、基板と、前記基板に固定されるチップと、前記チップの熱を放熱させる放熱器と、を備え、前記基板は、前記放熱器を電気的に接地して支持する接地支持部と、前記基板の実装面に平行な方向において、前記チップからの距離が前記接地支持部よりも遠い位置で前記放熱器を電気的に絶縁して支持する絶縁支持部と、を備える。
【0006】
チップに対して熱的に接続される放熱器は、チップから放射される電磁波のアンテナとして作用し得る。このため、放熱器がアンテナとなる場合における共振周波数が、チップから放射される電磁波の周波数と一致しているか、または近いと、放熱器から電磁波が放射され、周囲にノイズとして伝わってしまう。放熱器がアンテナとなる場合の共振周波数特性は、放熱器が接地されている位置を変化させることによって制御可能である。
【0007】
放熱器を基板によって支持する場合、基板の実装面に平行な方向において、放熱器の外周側において支持する構成が一般的である。また、一般的には、チップの周辺においても放熱器が支持される。放熱器がアンテナとなる場合、接地されている支持部に囲まれる範囲が大きいほど共振周波数が低くなる傾向にある。従って、基板の実装面に平行な方向において、放熱器の外周側において接地して支持すると、比較的低い共振周波数となる。チップから放射される電磁波の周波数が、当該共振周波数に近い場合、放熱器を介してノイズが外部に放射され得る。
【0008】
しかし、放熱器を電気的に接地して支持する接地支持部をチップの周辺に設け、チップからの距離が接地支持部よりも遠い位置で放熱器を電気的に絶縁して支持する絶縁支持部を設ければ、接地された支持部を、比較的狭い範囲に集めることができる。この構成によれば、放熱器の外周部を接地して支持する構成と比較して、放射される電磁波の周波数を高周波数側にシフトさせることが可能である。
【図面の簡単な説明】
【0009】
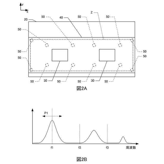
図1Aはチップ放熱システムを示す平面図であり、図1Bはチップ放熱システムを示す断面図である。
図2Aは比較例にかかるチップ放熱システムを示す平面図であり、図2Bは電磁ノイズの周波数および放熱器の共振周波数特性を示す図である。
図3Aはチップ放熱システムを示す平面図であり、図3Bは電磁ノイズの周波数および放熱器の共振周波数特性を示す図である。
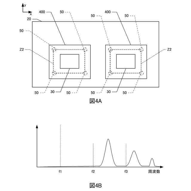
図4Aは比較例にかかるチップ放熱システムを示す平面図であり、図4Bは電磁ノイズの周波数および放熱器の共振周波数特性を示す図である。
図5Aはチップ放熱システムを示す平面図であり、図5Bは電磁ノイズの周波数および放熱器の共振周波数特性を示す図である。
図6Aは比較例にかかるチップ放熱システムを示す平面図であり、図6Bは電磁ノイズの周波数および放熱器の共振周波数特性を示す図である。
図7Aはチップ放熱システムを示す平面図であり、図7Bは電磁ノイズの周波数および放熱器の共振周波数特性を示す図である。
【発明を実施するための形態】
【0010】
ここでは、下記の順序に従って本発明の実施の形態について説明する。
(1)チップ放熱システムの構成:
(2)放射周波数の制御:
(3)他の実施形態:
(【0011】以降は省略されています)
この特許をJ-PlatPat(特許庁公式サイト)で参照する
関連特許
株式会社アイシン
ロータ
今日
株式会社アイシン
空気袋
9日前
株式会社アイシン
車体構造
5日前
株式会社アイシン
回転電機
5日前
株式会社アイシン
駆動装置
7日前
株式会社アイシン
回転電機
1日前
株式会社アイシン
制御装置
5日前
株式会社アイシン
回転電機
1日前
株式会社アイシン
温度調節器
19日前
株式会社アイシン
温度調節器
19日前
株式会社アイシン
温度調節器
9日前
株式会社アイシン
温度調節器
5日前
株式会社アイシン
鋳ぐるみ品
9日前
株式会社アイシン
電解システム
今日
株式会社アイシン
駐車支援装置
5日前
株式会社アイシン
開閉システム
6日前
株式会社アイシン
運転支援装置
5日前
株式会社アイシン
運転支援装置
5日前
株式会社アイシン
心拍検出装置
12日前
株式会社アイシン
駐車支援装置
12日前
株式会社アイシン
ポンプケース
12日前
株式会社アイシン
振動発生装置
7日前
株式会社アイシン
マニホールド
7日前
株式会社アイシン
立体構造基板
9日前
株式会社アイシン
物体検出装置
19日前
株式会社アイシン
車両制御装置
5日前
株式会社アイシン
駐車支援装置
1日前
株式会社アイシン
超音波センサ
今日
株式会社アイシン
超音波センサ
今日
株式会社アイシン
センサ固定具
今日
株式会社アイシン
乗員検知装置
20日前
株式会社アイシン
核磁気共鳴装置
13日前
株式会社アイシン
冷暖房システム
5日前
株式会社アイシン
バッテリ温調器
9日前
株式会社アイシン
車両用制御装置
今日
株式会社アイシン
車両用制御装置
今日
続きを見る
他の特許を見る