TOP
|
特許
|
意匠
|
商標
特許ウォッチ
Twitter
他の特許を見る
公開番号
2025148912
公報種別
公開特許公報(A)
公開日
2025-10-08
出願番号
2024049266
出願日
2024-03-26
発明の名称
車両用制御装置
出願人
株式会社アイシン
代理人
弁理士法人R&C
主分類
H02P
27/08 20060101AFI20251001BHJP(電力の発電,変換,配電)
要約
【課題】制御の分解能に依存してパルス状のトルク指令に生じるトルク誤差を低減させて、要求トルクに応じた適切なトルク指令により回転電機を制御する。
【解決手段】車両用制御装置のトルク指令生成部は、制御周期Pcntに基づいて規定される切り替えタイミングでオン状態とオフ状態とが切り替わるパルス幅変調波形としてトルク指令Tpwmを生成するトルク指令生成処理を実行し、理想的な指令Tpwm
*
のデューティ比である基本デューティ比と、トルク指令Tpwmのデューティ比である実デューティ比とに誤差が生じた場合には、次の周期以降のキャリア周期Pcaにおける実デューティ比を、制御周期Pcntの単位で当該誤差を減少させる方向に調整する誤差補正処理をさらに実行する。
【選択図】図6
特許請求の範囲
【請求項1】
車輪の駆動力源として回転電機を備えた車両を制御する車両用制御装置であって、
前記車輪に伝達することが要求されるトルクである要求トルクに基づいて、前記回転電機に当該要求トルクを出力させるための指令であるトルク指令を生成するトルク指令生成部を備え、
前記トルク指令生成部は、
設定されたキャリア周期において、前記キャリア周期よりも短い制御周期に基づいて規定される切り替えタイミングでオン状態とオフ状態とが切り替わるパルス幅変調波形として前記トルク指令を生成するトルク指令生成処理を実行し、
前記要求トルクに応じて前記制御周期に拘わらずオン状態とオフ状態とが切り替わる波形として設定される理想的な指令のデューティ比である基本デューティ比と、前記トルク指令のデューティ比である実デューティ比とに誤差が生じた場合には、次の周期以降の前記キャリア周期における前記実デューティ比を、前記制御周期の単位で当該誤差を減少させる方向に調整する誤差補正処理をさらに実行する、車両用制御装置。
続きを表示(約 460 文字)
【請求項2】
前記トルク指令生成部は、前記回転電機の回転速度に応じて設定され、前記回転電機の効率が予め定められた規定値よりも高い動作範囲である高効率範囲内となるトルクを、前記パルス幅変調波形がオン状態の前記トルク指令の値とし、ゼロを前記パルス幅変調波形がオフ状態の前記トルク指令の値とする、請求項1に記載の車両用制御装置。
【請求項3】
複数のスイッチング素子を備えて構成され、交流の前記回転電機と直流電源との間で電力を変換するインバータを、前記トルク指令に基づいてスイッチング制御し、
前記パルス幅変調波形がオフ状態の時には、前記インバータの全ての前記スイッチング素子をオフ状態に制御して、前記インバータをシャットダウンする、請求項2に記載の車両用制御装置。
【請求項4】
前記キャリア周期は、前記パルス幅変調波形の前記トルク指令により駆動制御される前記回転電機のトルク変動が、前記車両の乗員に感知されない周期に設定されている、請求項1から3の何れか一項に記載の車両用制御装置。
発明の詳細な説明
【技術分野】
【0001】
本発明は、車両用制御装置に関する。
続きを表示(約 1,900 文字)
【背景技術】
【0002】
特開平10-243680号公報には、指定された要求トルクに平均値が一致し、波高値が回転電機を高効率で駆動することができるトルク値に一致するパルス状のトルク指令値に基づいて回転電機を駆動制御する制御装置が開示されている。要求トルクに拘わらず、効率の良い動作領域において回転電機を駆動することができるので、回転電機を高いエネルギー効率で動作させることができる。従って、ハイブリッド車両や電動車両における電力消費率(電費)の向上が期待できる。
【先行技術文献】
【特許文献】
【0003】
特開平10-243680号公報
【発明の概要】
【発明が解決しようとする課題】
【0004】
上記のような制御装置は、一般的に予め規定された制御周期で処理を行う。従って、パルス状のトルク指令の変化点は、制御周期に応じたタイミングとなる。即ち、パルス状のトルク指令の分解能は制御周期に依存する。このため、パルス状のトルク指令にはこのような分解能に応じた誤差が生じる場合がある。例えば、この誤差によってトルク指令に対して出力トルクにずれが生じると、車両の乗り心地が低下する場合がある。
【0005】
上記に鑑みて、制御の分解能に依存してパルス状のトルク指令に生じるトルク誤差を低減させて、要求トルクに応じた適切なトルク指令により回転電機を制御することが望まれる。
【課題を解決するための手段】
【0006】
上記に鑑みた車両用制御装置は、車輪の駆動力源として回転電機を備えた車両を制御する車両用制御装置であって、前記車輪に伝達することが要求されるトルクである要求トルクに基づいて、前記回転電機に当該要求トルクを出力させるための指令であるトルク指令を生成するトルク指令生成部を備え、前記トルク指令生成部は、設定されたキャリア周期において、前記キャリア周期よりも短い制御周期に基づいて規定される切り替えタイミングでオン状態とオフ状態とが切り替わるパルス幅変調波形として前記トルク指令を生成するトルク指令生成処理を実行し、前記要求トルクに応じて前記制御周期に拘わらずオン状態とオフ状態とが切り替わる波形として設定される理想的な指令のデューティ比である基本デューティ比と、前記トルク指令のデューティ比である実デューティ比とに誤差が生じた場合には、次の周期以降の前記キャリア周期における前記実デューティ比を、前記制御周期の単位で当該誤差を減少させる方向に調整する誤差補正処理をさらに実行する。
【0007】
この構成によれば、制御周期により定まるタイミングで指令が生成されることに起因して、要求トルクに応じた理想的な指令のデューティ比と、パルス幅変調された指令の実デューティ比とに誤差が生じた場合であっても、当該誤差を累積させないようにすることができる。即ち、複数のキャリア周期でみれば当該誤差を減少させ、実デューティ比によるトルク指令の平均値を理想的なデューティ比によるトルク指令の平均値に近づけることができる。その結果、要求トルクに対する回転電機のトルクの誤差を少なく抑えることができる。このように、本構成によれば、制御の分解能に依存してパルス状のトルク指令に生じるトルク誤差を低減させて、要求トルクに応じた適切なトルク指令により回転電機を制御することができる。
【0008】
車両用制御装置のさらなる特徴と利点は、図面を参照して説明する例示的且つ非限定的な実施形態についての以下の記載から明確となる。
【図面の簡単な説明】
【0009】
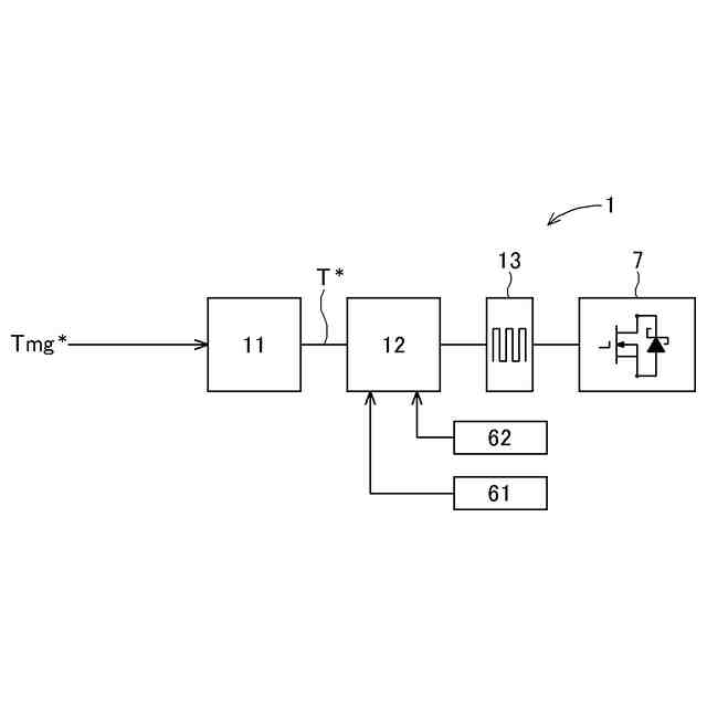
回転電機の駆動制御システムの一例を示す模式的ブロック図
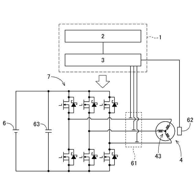
インバータを介した回転電機の模式的制御ブロック図
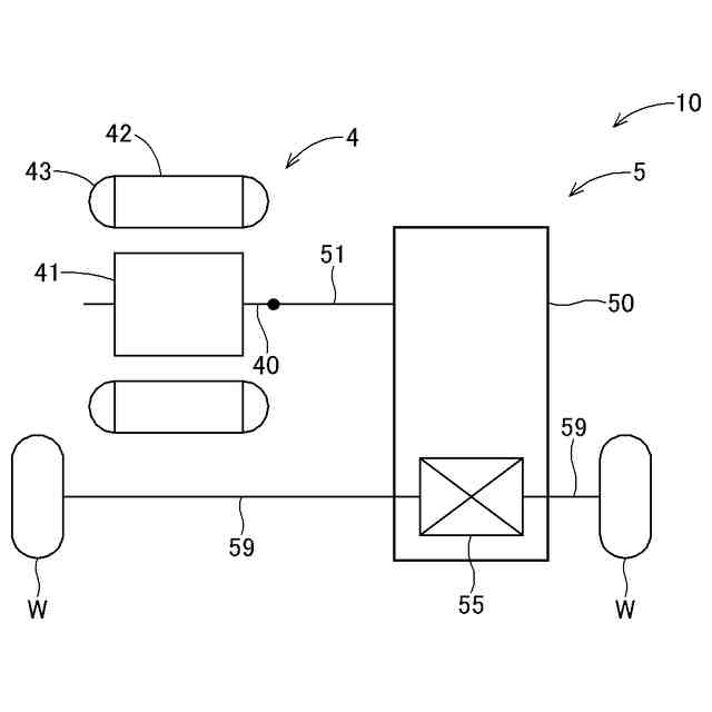
回転電機と車輪との間の駆動伝達機構の一例を模式的に示す図
回転電機の動作範囲を回転速度とトルクとの関係で示す図
通常の連続的なトルク指令と不連続なトルク指令との関係を示す図
誤差補正処理の原理を示す波形図
誤差補正処理を含むトルク指令生成処理の一例を示すフローチャート
【発明を実施するための形態】
【0010】
以下、車両用制御装置の実施形態を図面も参照して説明する。図1の模式的ブロック図は、回転電機4の駆動制御システムの一例を示している。図2の模式的制御ブロック図は、インバータ7を介した回転電機4の制御形態の一例を示している。図3は、回転電機4と車輪Wとの間の駆動伝達機構5の一例を模式的に示している。
(【0011】以降は省略されています)
この特許をJ-PlatPat(特許庁公式サイト)で参照する
関連特許
株式会社アイシン
ロータ
今日
株式会社アイシン
空気袋
9日前
株式会社アイシン
回転電機
5日前
株式会社アイシン
駆動装置
7日前
株式会社アイシン
回転電機
1日前
株式会社アイシン
制御装置
5日前
株式会社アイシン
回転電機
1日前
株式会社アイシン
車体構造
5日前
株式会社アイシン
温度調節器
19日前
株式会社アイシン
温度調節器
19日前
株式会社アイシン
コンデンサ
1か月前
株式会社アイシン
温度調節器
9日前
株式会社アイシン
温度調節器
5日前
株式会社アイシン
鋳ぐるみ品
9日前
株式会社アイシン
自律移動体
1か月前
株式会社アイシン
電動ポンプ
1か月前
株式会社アイシン
電解システム
今日
株式会社アイシン
立体構造基板
9日前
株式会社アイシン
運転支援装置
5日前
株式会社アイシン
運転支援装置
5日前
株式会社アイシン
心拍検出装置
12日前
株式会社アイシン
駐車支援装置
12日前
株式会社アイシン
ポンプケース
12日前
株式会社アイシン
マニホールド
7日前
株式会社アイシン
物体検出装置
19日前
株式会社アイシン
駐車支援装置
5日前
株式会社アイシン
振動発生装置
7日前
株式会社アイシン
電力変換装置
1か月前
株式会社アイシン
電力変換装置
1か月前
株式会社アイシン
直流回転電機
1か月前
株式会社アイシン
冷却プレート
1か月前
株式会社アイシン
開閉システム
6日前
株式会社アイシン
温度調節装置
1か月前
株式会社アイシン
駐車支援装置
1日前
株式会社アイシン
超音波センサ
今日
株式会社アイシン
排熱回収装置
29日前
続きを見る
他の特許を見る