TOP
|
特許
|
意匠
|
商標
特許ウォッチ
Twitter
他の特許を見る
公開番号
2025148641
公報種別
公開特許公報(A)
公開日
2025-10-08
出願番号
2024048866
出願日
2024-03-26
発明の名称
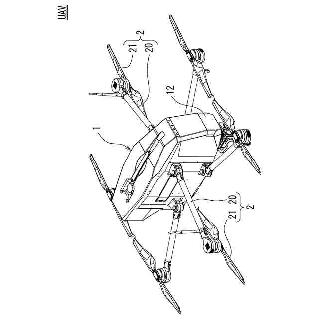
飛行体
出願人
株式会社amuse oneself
代理人
弁理士法人あーく事務所
主分類
B64U
20/87 20230101AFI20251001BHJP(航空機;飛行;宇宙工学)
要約
【課題】天候等の外部環境に起因する悪影響を抑制して飛行中の撮像を行うことが可能な飛行体を提供する。
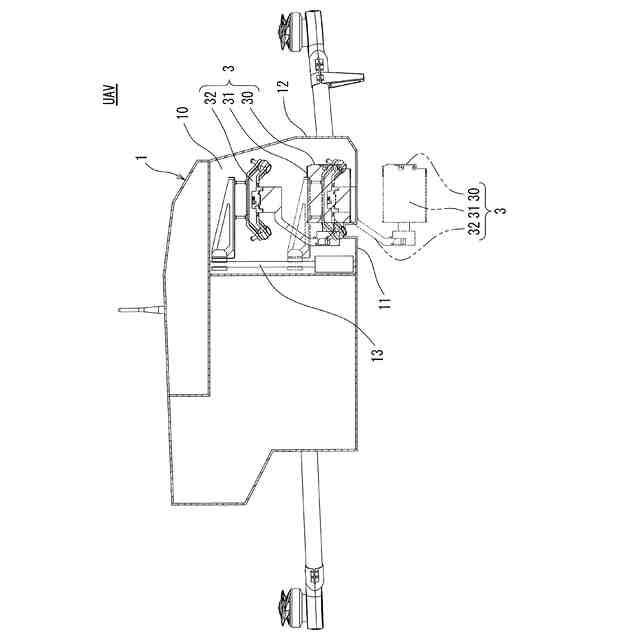
【解決手段】飛行体UAVは、飛行中に撮像可能な撮像装置3を備える。飛行体UAVは、撮像装置3を収容可能な収容部10を備え、撮像装置3は、飛行中に、収容部10に収容された状態で収容部10の外部を撮像可能であり、かつ収容部10から外部に露出した状態で撮像可能である。更に、飛行体UAVにおいて、収容部10は、下部に開口部11が形成されており、撮像装置3は、収容部10の開口部11から下降することにより、収容部10から外部へ露出し、上昇することにより、収容部10の開口部11を介して収容される。
【選択図】図4
特許請求の範囲
【請求項1】
撮像可能な撮像装置を備える飛行体であって、
前記撮像装置を収容可能な収容部を備え、
前記撮像装置は、飛行中に、
前記収容部に収容された状態で、外部の撮像対象を撮像可能であり、かつ前記収容部から外部に露出した状態で撮像対象を撮像可能である
ことを特徴とする飛行体。
続きを表示(約 600 文字)
【請求項2】
請求項1に記載の飛行体であって、
前記撮像装置を、前記収容部に対して出し入れ可能に支持する支持部を備え、
前記撮像装置は、前記支持部に支持された状態で移動することにより、前記収容部に収容された状態及び前記収容部から外部に露出した状態の間を遷移する
ことを特徴とする飛行体。
【請求項3】
請求項1又は請求項2に記載の飛行体であって、
前記収容部は、
光を透過する窓部を有し、
前記撮像装置は、
前記収容部に収容された状態の場合、前記窓部を通して外部の撮像対象を撮像可能である
ことを特徴とする飛行体。
【請求項4】
請求項1又は請求項2に記載の飛行体であって、
前記収容部は、
下部に開口部が形成されており、
前記撮像装置は、
前記収容部の開口部から下降することにより、前記収容部から外部へ露出し、
上昇することにより、前記収容部の開口部を通って収容される
ことを特徴とする飛行体。
【請求項5】
請求項4に記載の飛行体であって、
自機全体を支持する脚部を更に備え、
前記撮像装置を前記収容部に収容することにより、前記脚部にて支持した状態での載置が可能である
ことを特徴とする飛行体。
発明の詳細な説明
【技術分野】
【0001】
本願は、撮像装置を備える飛行体を開示する。
続きを表示(約 1,200 文字)
【背景技術】
【0002】
ドローン等の呼称で呼ばれる無人飛行体が、計測、測量、監視、調査等の様々な目的で使用されている。特に、カメラを備え、空中から撮像対象を撮像する無人飛行体が様々な場面で使用されている。ただし、野外で無人飛行体を使用する場合、無人飛行体を使用した撮像処理は、降雨、降雪等の天候の影響を強く受ける。例えば、特許文献1は、空撮カメラを備える無人飛行体において、雨水に弱い制御回路基板を筐体内に収容し、その上で、収容した制御回路基板の発熱対策をした無人飛行体を提案している。
【先行技術文献】
【特許文献】
【0003】
特開2019-022134号公報
【発明の概要】
【発明が解決しようとする課題】
【0004】
しかしながら、特許文献1にて提案された無人飛行体は、制御回路基板の故障に配慮しているものの空撮カメラが雨滴に晒されることによる問題については考慮されていない。
【0005】
本願は斯かる事情に鑑みてなされたものであり、撮像装置に対し、天候等の外部環境に起因する悪影響を抑制することが可能な飛行体の開示を目的とする。
【課題を解決するための手段】
【0006】
上記課題を解決するために、本願開示の飛行体は、撮像可能な撮像装置を備える飛行体であって、前記撮像装置を収容可能な収容部を備え、前記撮像装置は、飛行中に、前記収容部に収容された状態で、外部の撮像対象を撮像可能であり、かつ前記収容部から外部に露出した状態で撮像対象を撮像可能であることを特徴とする。
【0007】
また、前記飛行体において、前記撮像装置を、前記収容部に対して出し入れ可能に支持する支持部を備え、前記撮像装置は、前記支持部に支持された状態で移動することにより、前記収容部に収容された状態及び前記収容部から外部に露出した状態の間を遷移することを特徴とする。
【0008】
また、前記飛行体において、前記収容部は、光を透過する窓部を有し、前記撮像装置は、前記収容部に収容された状態の場合、前記窓部を通して外部の撮像対象を撮像可能であることを特徴とする。
【0009】
また、前記飛行体において、前記収容部は、下部に開口部が形成されており、前記撮像装置は、前記収容部の開口部から下降することにより、前記収容部から外部へ露出し、上昇することにより、前記収容部の開口部を通って収容されることを特徴とする。
【0010】
また、前記飛行体において、自機全体を支持する脚部を更に備え、前記撮像装置を前記収容部に収容することにより、前記脚部にて支持した状態での載置が可能であることを特徴とする。
【発明の効果】
(【0011】以降は省略されています)
この特許をJ-PlatPat(特許庁公式サイト)で参照する
関連特許
個人
ドローン
8か月前
個人
人工台風
3か月前
個人
着火ドローン
5か月前
個人
救難消防飛行艇
5か月前
個人
AERO JET
24日前
個人
ドローンシステム
9か月前
東レ株式会社
中空回転翼
4か月前
個人
無人空中移動体
1か月前
個人
飛行自動車vol.2
2日前
個人
動力原付きグライダー
1か月前
個人
連続回転可能な飛行機翼
6か月前
個人
導風板付き垂直離着陸機
3か月前
個人
陸海空用の乗り物
6か月前
東レ株式会社
プロペラブレード
4か月前
個人
空飛ぶクルマ
4か月前
東レ株式会社
飛翔体用ブレード
1か月前
東レ株式会社
プロペラブレード
4か月前
東レ株式会社
プロペラブレード
4か月前
個人
垂直離着陸機用エンジン改
9か月前
個人
空中移動システム
11か月前
個人
ドローンを自動離着陸する方法
9か月前
トヨタ自動車株式会社
ドローン
7か月前
個人
エアライナー全自動パラシュート
8か月前
個人
搬送方法および搬送システム
5か月前
個人
ヘリコプター駆動装置
5か月前
株式会社小糸製作所
飛行体ポート
6か月前
株式会社ACSL
システム
8か月前
合同会社アドエア
パラシュート射出装置
8か月前
合同会社アドエア
飛行体の落下補助装置
10か月前
株式会社ACSL
システム
8か月前
個人
飛行体
4か月前
個人
垂直離着陸機用ガスタービンエンジン
9か月前
個人
飛行体
1か月前
株式会社SUBARU
移動体
11か月前
個人
飛行体
4か月前
個人
パラボラ型スペースデブリカタパルト
5か月前
続きを見る
他の特許を見る