TOP
|
特許
|
意匠
|
商標
特許ウォッチ
Twitter
他の特許を見る
公開番号
2025147848
公報種別
公開特許公報(A)
公開日
2025-10-07
出願番号
2024048319
出願日
2024-03-25
発明の名称
管理型海面処分場での二酸化炭素固定方法及び二酸化炭素固定装置
出願人
東洋建設株式会社
代理人
弁理士法人はなぶさ特許商標事務所
主分類
B09B
1/00 20060101AFI20250930BHJP(固体廃棄物の処理;汚染土壌の再生)
要約
【課題】効率的に、カーボンニュートラルに向けて大気中の二酸化炭素を削減できる管理型海面処分場での二酸化炭素固定方法を提供する。
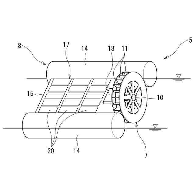
【解決手段】管理型海面処分場での二酸化炭素固定方法では、管理型海面処分場内の保有水域3の水面を水上浮遊体8の回転体7の回転駆動により攪乱して、大気中の二酸化炭素の保有水への溶解を促進させることができる。これにより、効率的に、カーボンニュートラルに向けて大気中の二酸化炭素を削減することができる。
【選択図】図5
特許請求の範囲
【請求項1】
管理型海面処分場の保有水に大気中の二酸化炭素を溶解させて固定する、二酸化炭素固定方法であって、
管理型海面処分場内の保有水域の水面を攪乱して、大気中の二酸化炭素の保有水への溶解を促進させることを特徴とする管理型海面処分場での二酸化炭素固定方法。
続きを表示(約 760 文字)
【請求項2】
廃棄物を管理型海面処分場内の保有水域に埋め立てる際に、廃棄物を保有水全域に亘って、その範囲の水面積を埋立初期状態に維持するように埋め立てることを特徴とする請求項1に記載の管理型海面処分場での二酸化炭素固定方法。
【請求項3】
廃棄物を管理型海面処分場内の保有水域に埋め立てる際に、温度躍層が生じ得る条件の場合には、保有水域の水深を、水底から水面に亘り鉛直混合される温度躍層深さに管理することを特徴とする請求項1に記載の管理型海面処分場での二酸化炭素固定方法。
【請求項4】
廃棄物を管理型海面処分場の保有水域に埋め立てる際に、保有水域のアルカリ化を促進する廃棄物を選定して埋め立てることを特徴とする請求項1に記載の管理型海面処分場での二酸化炭素固定方法。
【請求項5】
管理型海面処分場の保有水に大気中の二酸化炭素を溶解させて固定する、二酸化炭素固定装置であって、
管理型海面処分場の保有水域の水面を攪乱すべく回転体を有し、保有水域の水面を浮遊する水上浮遊体を備えることを特徴とする管理型海面処分場での二酸化炭素固定装置。
【請求項6】
前記水上浮遊体には、前記回転体への駆動電力を供給する太陽光発電機器が搭載されていることを特徴とする請求項5に記載の管理型海面処分場での二酸化炭素固定装置。
【請求項7】
前記水上浮遊体は、管理型海面処分場内の保有水域の底面に設置されるアンカーにロープ部材を介して接続されること特徴とする請求項5に記載の管理型海面処分場での二酸化炭素固定装置。
【請求項8】
前記水上浮遊体は、複数台配置されること特徴とする請求項5に記載の管理型海面処分場での二酸化炭素固定装置。
発明の詳細な説明
【技術分野】
【0001】
本発明は、管理型海面処分場内の保有水に大気中の二酸化炭素を容易に溶解させて固定する、管理型海面処分場での二酸化炭素固定方法及び二酸化炭素固定装置に関するものである。
続きを表示(約 2,700 文字)
【背景技術】
【0002】
従来から懸案の地球温暖化対策としてカーボンニュートラルに向けて大気中の二酸化炭素を削減する必要がある。一方で、一般廃棄物や産業廃棄物である焼却灰や石炭灰、その他廃棄物は、陸上もしくは海面の管理型処分場に埋め立てられている。例えば、管理型海面処分場は、一般廃棄物や産業廃棄物で埋め立てられる海域に築造された施設である。詳細には、管理型海面処分場は、一般廃棄物や産業廃棄物を埋め立てるために港湾域に築造された遮水護岸に囲まれた施設である。管理型海面処分場内の海水(保有水ともいう)は、もともと海水の成分と同じであり、pH値は7.8~8.3程度である。廃棄物の一部には、酸化カルシウム(CaO)や水酸化カルシウム(Ca(OH)
2
)が含まれているものがあり、この廃棄物を管理型海面処分場内の海水(保有水)中に投入埋立すると、水酸化物イオン(OH
-
)が生成・放出され高アルカリ化される。この管理型海面処分場内のアルカリ化した保有水は、遮水護岸に囲まれているために、外海の海水による希釈も水交換もすることなく、廃棄物の埋立に伴い、次第にpH値が上昇することになる。
【0003】
そこで、大気中に存在する二酸化炭素は、その分圧(一般的には、400~500ppm)と海水中の二酸化炭素濃度の大小に応じて、大気中から海水中に吸収され、または条件によっては反対に海水から大気中に放出されている。しかしながら、アルカリ化された保有水においては、溶解した二酸化炭素は、炭酸(H
2
CO
3
)から炭酸水素イオン(HCO
3
-
)に速やかに反応し、さらに、pH値8.3以上でアルカリ性になるに伴い、炭酸イオン(CO
3
2-
)へと反応が進み、さらにまた、廃棄物に含まれる酸化カルシウム(CaO)が水(H
2
O)と反応して生成されたカルシウムイオンCa
2+
が、前記炭酸イオン(CO
3
2-
)と結合し、炭酸カルシウム(CaCO
3
)生成される(CaO+H
2
0→Ca
2+
+2OH
-
,CO
2
+H
2
O→H
2
CO
3
,H
2
CO
3
→H
+
+HCO
3
-
,HCO
3
-
→H
+
+CO
3
2-
,H
+
+OH
-
→H
2
O,Ca
2+
+CO
3
2-
→CaCO
3
)。
【0004】
このような特異なアルカリ環境では、二酸化炭素は大気中から保有水中に溶解するフラックスが卓越しており、放出するフラックスはとても小さく、もしくは溶解のみの状態となる。要するに、管理型海面処分場内のアルカリ化された保有水は、大気中の二酸化炭素を溶解(吸収)、固定すべく適したものとなっている。
【0005】
なお、大気中の二酸化炭素を削減すべく、二酸化炭素を固定する従来技術として、特許文献1には、藻類及び魚介類を陸上で養殖する二酸化炭素固定化装置と、前記二酸化炭素固定化装置へ二酸化炭素を含む海水を供給する供給装置と、前記二酸化炭素固定化装置から、二酸化炭素を吸収した前記藻類及び前記魚介類の少なくとも一部を回収する回収装置と、前記二酸化炭素固定化装置から、二酸化炭素が減少した海水を海洋へ排出する排水装置と、を備えた二酸化炭素固定化システムが開示されている。
【先行技術文献】
【特許文献】
【0006】
特開2023-47847号公報
【発明の概要】
【発明が解決しようとする課題】
【0007】
しかしながら、特許文献1に記載の二酸化炭素固定化システムでは、その全体設備が相当大掛かりで、また相当複雑化しており、大気中の二酸化炭素の削減効果に対して効率的ではない。しかも、海水を供給したり排出する際にポンプ等が使用され、それらを駆動させる際の動力を得るために二酸化炭素が大気中に排出され、また藻類及び魚介類等の運搬にも車両が使用され、これらの車両からも二酸化炭素が排出されることから、大気中の二酸化炭素の削減に際して、プラス要因だけでなくマイナス要因もあることから、大きな効果を期待できない。
【0008】
そして、本発明は、上記課題に鑑みてなされたもので、効率的に、カーボンニュートラルに向けて大気中の二酸化炭素を削減できる管理型海面処分場での二酸化炭素固定方法及び二酸化炭素固定装置を提供することを目的とする。
【課題を解決するための手段】
【0009】
上記課題を解決するための手段として、請求項1に記載の管理型海面処分場での二酸化炭素固定方法に係る発明は、管理型海面処分場の保有水に大気中の二酸化炭素を溶解させて固定する、二酸化炭素固定方法であって、管理型海面処分場内の保有水域の水面を攪乱して、大気中の二酸化炭素の保有水への溶解を促進させることを特徴とするものである。
【0010】
発明者らは、検証実験として、容器に人工海水を入れ、スターラーチップ(攪拌子)を回転速度100~1000rpmで攪拌し、人工海水の攪拌速度を変えた条件において、純度99.9%の二酸化炭素を吹き込んだ際、溶解した二酸化炭素量を測定し、その測定結果として、回転速度1000rpmのときがより多くの二酸化炭素が人工海水に溶解したことを確認している。この検証実験に基づいて、請求項1の発明では、保有水域の水面を攪乱することで、大気中の二酸化炭素の保有水への溶解を促進することができ、結果として、大気中の二酸化炭素の削減に大きく貢献する、すなわち二酸化炭素の削減効率を向上させることができる。しかも、保有水中の水酸化物イオン(OH
-
)の量が低減されることで、保有水のアルカリ化を抑制することができ、ひいては、管理型海面処分場を廃止に向けて早期に安定化させることができる。
(【0011】以降は省略されています)
この特許をJ-PlatPat(特許庁公式サイト)で参照する
関連特許
東洋建設株式会社
遮水構造体及び遮水構造体の製造方法
2か月前
東洋建設株式会社
プレキャスト梁部材の接合構造及び接合方法
1か月前
東洋建設株式会社
管理型海面処分場での二酸化炭素固定方法及び二酸化炭素固定装置
13日前
富士通株式会社
衝突リスク予測プログラム、衝突リスク予測方法及び衝突リスク予測装置
1か月前
トヨタ自動車株式会社
空箱処理装置
2か月前
トヨタ自動車株式会社
空箱処理装置
2か月前
ダイハツ工業株式会社
発酵システム
2か月前
株式会社クボタ
嫌気性処理方法
4か月前
花王株式会社
焼却灰の処理方法
1か月前
花王株式会社
焼却灰の処理方法
1か月前
トヨタ自動車株式会社
バイオ炭製造方法
1か月前
テクニカ合同株式会社
廃棄鶏の処理方法
1か月前
三菱マテリアル株式会社
被処理物の解体装置
4か月前
株式会社トクヤマ
石膏粒体のか焼方法
1か月前
株式会社シーパーツ
自動車解体破砕方法
13日前
清水建設株式会社
汚染拡散防止構造
1か月前
株式会社マクニカ
乾熱減容処理装置
2か月前
清水建設株式会社
加熱井戸の設置方法
1か月前
学校法人東京農業大学
メタンガスの製造方法
2か月前
鹿島建設株式会社
土壌の浄化方法
2か月前
株式会社LIXIL
汚物処理装置
17日前
国立大学法人東海国立大学機構
有機物処理装置
4か月前
株式会社クボタ
メタン発酵装置およびメタン発酵処理方法
3か月前
極東開発工業株式会社
廃棄物処理装置
3か月前
国立大学法人東北大学
重金属の不溶化方法
18日前
九電産業株式会社
樹脂複合製品の製造方法
1か月前
花王株式会社
吸水性ポリマーの処理方法
4か月前
株式会社クボタ
収穫残渣の保管方法およびメタン発酵処理方法
4か月前
トヨタ自動車株式会社
乾燥処理装置
2か月前
王子ホールディングス株式会社
ベールの製造方法
11日前
株式会社大林組
有機フッ素化合物の浄化方法
3か月前
株式会社トクヤマ
廃石膏ボードから紙片と石膏粒体を回収する方法
1か月前
株式会社神鋼環境ソリューション
メタン発酵装置、及び、メタン発酵方法
10日前
個人
フォーミング生成抑制材の製造方法及び廃タイヤのリサイクル処理方法
2か月前
光宇應用材料股ふん有限公司
環境にやさしい低炭素二酸化ケイ素の製造方法
1か月前
トヨタ自動車株式会社
電池の処理方法および電池の処理システム
3か月前
続きを見る
他の特許を見る