TOP
|
特許
|
意匠
|
商標
特許ウォッチ
Twitter
他の特許を見る
10個以上の画像は省略されています。
公開番号
2025147198
公報種別
公開特許公報(A)
公開日
2025-10-06
出願番号
2025131770,2021191255
出願日
2025-08-06,2021-11-25
発明の名称
トナーカートリッジ梱包用ブランク
出願人
東芝テック株式会社
代理人
弁理士法人鈴榮特許綜合事務所
主分類
B65D
5/50 20060101AFI20250926BHJP(運搬;包装;貯蔵;薄板状または線条材料の取扱い)
要約
【課題】 トナーカートリッジへの衝撃を軽減させるトナーカートリッジ梱包箱を提供すること。
【解決手段】 実施形態によれば、トナーカートリッジ梱包箱は、箱型の収容部と、フラップ状の緩衝部とを有する。収容部は、長手方向に長いトナーカートリッジを出し入れする、長手方向に沿って長い矩形状の収容部開口を有する。緩衝部は、収容部の長手方向の両端部のうちの一方の側板に一体的に設けられ、トナーカートリッジの長手方向の一端及びその近傍への衝撃を緩衝する。緩衝部は、嵌合部と、スペーサとを備える。嵌合部は、収容部に所定の向きに収容されたトナーカートリッジの長手方向の一端及びその近傍の少なくとも一部に収容部開口側から被せて嵌合する。スペーサは、トナーカートリッジの一端及びその近傍を一方の側板に対して離間させる。
【選択図】 図7
特許請求の範囲
【請求項1】
長手方向に長いトナーカートリッジを出し入れする、長手方向に沿って長い矩形状の収容部開口を有する箱型の収容部と、
前記収容部の長手方向の両端部のうちの一方の側板に一体的に設けられ、
前記収容部に所定の向きに収容された前記トナーカートリッジの前記長手方向の一端及びその近傍の少なくとも一部に前記収容部開口側から被せて嵌合する嵌合部と、
前記トナーカートリッジの前記一端及びその近傍を前記一方の側板に対して離間させるスペーサと
を備え、前記トナーカートリッジの前記長手方向の前記一端及びその近傍への衝撃を緩衝するフラップ状の緩衝部と
を有する、トナーカートリッジ梱包箱。
続きを表示(約 1,100 文字)
【請求項2】
前記嵌合部は、前記トナーカートリッジの前記一端及びその近傍のトナー補給口のレール及びトナー収容部の外形に沿って嵌合し、前記トナーカートリッジの前記一端及びその近傍を、前記一方の側板側と、前記一方の側板側とは反対側とに通す嵌合縁を備え、
前記スペーサは、前記嵌合縁の周囲の壁部として設けられ、前記レールに対してスライドするシャッターを前記一方の側板側とは反対側に配置し、前記シャッターを前記一方の側板に向かって移動させることを抑制する隔壁を有する、
請求項1に記載のトナーカートリッジ梱包箱。
【請求項3】
前記緩衝部は、前記嵌合部を前記トナーカートリッジの前記一端及びその近傍に被せるときに折り曲げる折り線を有する、請求項1に記載のトナーカートリッジ梱包箱。
【請求項4】
請求項1乃至請求項3のいずれか1項に記載のトナーカートリッジ梱包箱と、
前記収容部に配置され、前記緩衝部の前記嵌合部に前記トナーカートリッジの前記一端及びその近傍のトナー補給口の周囲が嵌合されるトナーカートリッジと
を有する、トナーカートリッジ流通体。
【請求項5】
トナーカートリッジ梱包箱を組み立てた組立状態で前記トナーカートリッジ梱包箱の収容部の底板部に対応する矩形状の底部と、
前記底部の一方の長辺に設けられ、前記組立状態で前記収容部の第1の側板部に対応する矩形状の第1の側板領域と、
前記底部の他方の長辺に設けられ、前記組立状態で前記収容部の前記第1の側板部に対向する第2の側板部に対応する矩形状の第2の側板領域と、
前記第1の側板領域の一方の短辺に設けられ、前記組立状態で前記収容部の第3の側板部の一部に対応する第1の内板部と、
前記第1の側板領域の他方の短辺に設けられ、前記組立状態で前記収容部の第4の側板部の一部に対応する第2の内板部と、
前記第2の側板領域に設けられ、前記組立状態で前記収容部の第3の側板部に対応する前記第1の内板部の外側に配置される矩形状の第1の外板部と、
前記第1の外板部に対して、前記底部に対する前記第2の側板領域の位置関係と同じ位置関係に設けられ、前記組立状態でトナーカートリッジの一端及びその近傍のトナー補給口の周囲の少なくとも一部に嵌合する嵌合開口を有する矩形状の緩衝フラップ領域と
を有し、
前記嵌合開口は、前記第1の外板部から離間するとともに、前記緩衝フラップ領域の外縁の内側に形成される、トナーカートリッジ梱包用ブランク。
発明の詳細な説明
【技術分野】
【0001】
本発明の実施形態は、トナーカートリッジ梱包箱、トナーカートリッジ流通体、及び、トナーカートリッジ梱包用ブランクに関する。
続きを表示(約 1,700 文字)
【背景技術】
【0002】
トナーカートリッジ梱包箱は、トナーカートリッジ梱包箱の収容部にトナーカートリッジの緩衝部を設けている。
【先行技術文献】
【特許文献】
【0003】
特開2014-231388号公報
【発明の概要】
【発明が解決しようとする課題】
【0004】
本発明が解決しようとする課題は、トナーカートリッジへの衝撃を軽減させるトナーカートリッジ梱包箱、そのトナーカートリッジ梱包箱に箱詰めされたトナーカートリッジを含むトナーカートリッジ流通体、及び、トナーカートリッジ梱包用ブランクを提供することである。
【課題を解決するための手段】
【0005】
実施形態によれば、トナーカートリッジ梱包箱は、箱型の収容部と、フラップ状の緩衝部とを有する。収容部は、長手方向に長いトナーカートリッジを出し入れする、長手方向に沿って長い矩形状の収容部開口を有する。緩衝部は、収容部の長手方向の両端部のうちの一方の側板に一体的に設けられ、トナーカートリッジの長手方向の一端及びその近傍への衝撃を緩衝する。緩衝部は、嵌合部と、スペーサとを備える。嵌合部は、収容部に所定の向きに収容されたトナーカートリッジの長手方向の一端及びその近傍の少なくとも一部に収容部開口側から被せて嵌合する。スペーサは、トナーカートリッジの一端及びその近傍を一方の側板に対して離間させる。
【図面の簡単な説明】
【0006】
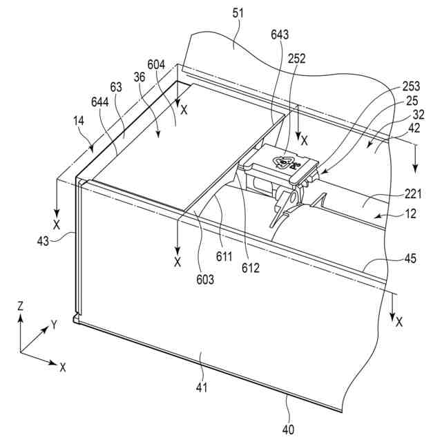
一実施形態に係るトナーカートリッジ梱包箱を示す概略的な斜視図。
一実施形態に係るトナーカートリッジ梱包箱にトナーカートリッジを収容したトナーカートリッジ流通体を示す概略的な斜視図。
図2に示すトナーカートリッジ梱包箱の緩衝フラップを折り畳んだトナーカートリッジ流通体を示す概略的な斜視図。
一実施形態に係るトナーカートリッジを示す概略的な斜視図。
トナーカートリッジ梱包箱の第3の側板部の図示を省略したトナーカートリッジ流通体の一部を示す斜視図。
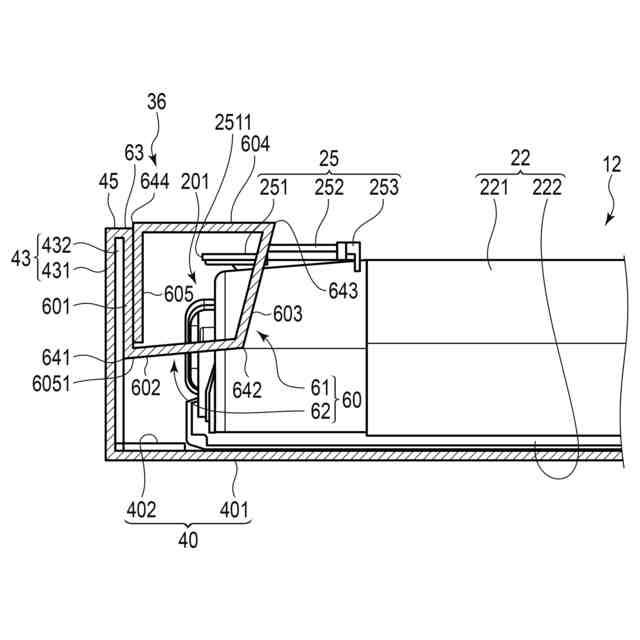
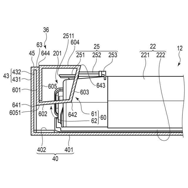
図2に示すトナーカートリッジ流通体のZX平面に沿う断面図。
図3に示すトナーカートリッジ流通体のZX平面に沿う断面図。
図1に示すトナーカートリッジ梱包箱の緩衝フラップの拡大図。
図3に示すカートリッジ流通体の第1の緩衝部及びトナーカートリッジを拡大して示す斜視図。
図9中のXY平面に平行なX-X面に沿う断面図。
トナーカートリッジ流通体を示す概略的な斜視図。
図11中の矢印XIIに示す方向から見たトナーカートリッジ流通体を示す図。
図7に示すトナーカートリッジ流通体にX軸方向に沿って負荷を与えたときに第1の緩衝部が変形する状態を示す概略的な断面図。
一実施形態に係るトナーカートリッジ梱包箱のブランクを示す平面図。
【発明を実施するための形態】
【0007】
以下、図1から図14を参照しながらトナーカートリッジ梱包箱(以下、主に梱包箱という)14、トナーカートリッジ流通体(以下、主に流通体という)10、及び、トナーカートリッジ梱包用ブランク(以下、主にブランクという)110の実施形態について説明する。
【0008】
図1から図3に示すように、トナーカートリッジ流通体10は、トナーカートリッジ12と、トナーカートリッジ梱包箱14とを有する。
【0009】
図4には、トナーカートリッジ12の斜視図を示す。図4に示すトナーカートリッジ12は、例えば複合機と称される画像形成装置に対して着脱可能である。トナーカートリッジ12は、画像形成装置に取り付けられるとき、画像形成装置のフロント側からリヤ側に向かって挿入される。トナーカートリッジ12は、画像形成装置から取り外されるとき、画像形成装置のフロント側から引き抜かれる。
【0010】
トナーカートリッジ12は、一軸に沿って長く形成される。トナーカートリッジ12は、一軸に沿って第1端201と、第1端201と反対側の第2端202とを有する。
(【0011】以降は省略されています)
特許ウォッチbot のツイートを見る
この特許をJ-PlatPat(特許庁公式サイト)で参照する
関連特許
個人
箱
12か月前
個人
収容箱
2か月前
個人
ゴミ箱
11か月前
個人
コンベア
4か月前
個人
段ボール箱
6か月前
個人
段ボール箱
6か月前
個人
ゴミ収集器
6か月前
個人
容器
8か月前
個人
土嚢運搬器具
7か月前
個人
パウチ補助具
11か月前
個人
楽ちんハンド
4か月前
個人
バンド
1か月前
個人
宅配システム
6か月前
個人
角筒状構造体
4か月前
個人
閉塞装置
9か月前
個人
廃棄物収容容器
2か月前
個人
コード類収納具
7か月前
個人
包装容器
20日前
個人
お薬の締結装置
5か月前
個人
貯蔵サイロ
6か月前
個人
蓋閉止構造
3か月前
個人
ゴミ処理機
8か月前
株式会社和気
包装用箱
8か月前
株式会社バンダイ
物品
1日前
個人
把手付米袋
4か月前
株式会社コロナ
梱包材
4か月前
個人
蓋閉止構造
3か月前
個人
積み重ね用補助具
2か月前
個人
袋入り即席麺
6か月前
個人
介護用コップ
1か月前
個人
輸送積荷用動吸振器
5か月前
株式会社イシダ
搬送装置
5か月前
三甲株式会社
蓋体
8か月前
個人
搬送システム
6か月前
株式会社KY7
封止装置
2か月前
三甲株式会社
容器
5か月前
続きを見る
他の特許を見る