TOP
|
特許
|
意匠
|
商標
特許ウォッチ
Twitter
他の特許を見る
公開番号
2025146829
公報種別
公開特許公報(A)
公開日
2025-10-03
出願番号
2025067734,2024044729
出願日
2025-04-16,2024-03-21
発明の名称
静電チャック
出願人
TOTO株式会社
代理人
個人
,
個人
,
個人
,
個人
主分類
H01L
21/683 20060101AFI20250926BHJP(基本的電気素子)
要約
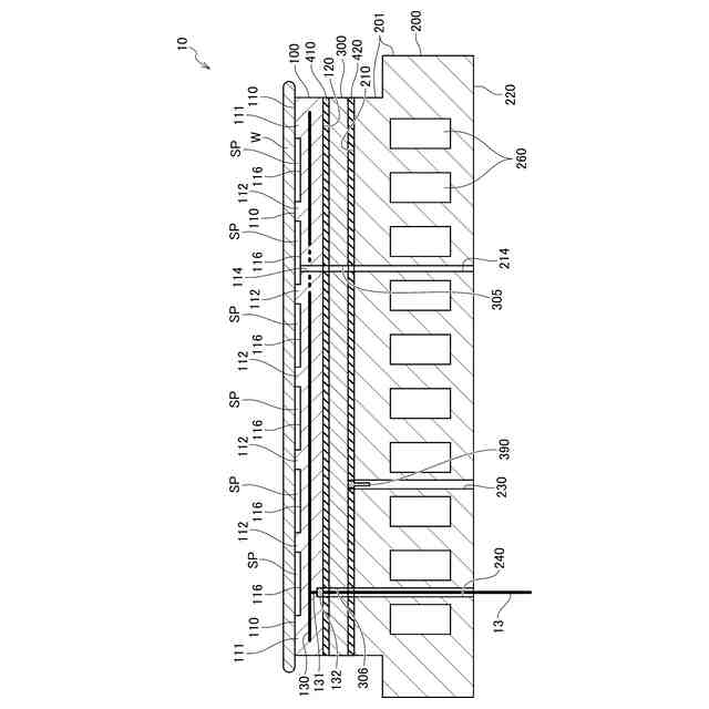
【課題】処理中における基板の面内温度分布のばらつきを抑制することのできる静電チャック、を提供する。
【解決手段】静電チャック10は、誘電体基板100と、誘電体基板100を支持するベースプレート200と、を備える。ベースプレート200には、冷媒の通る冷媒流路260と、貫通穴230と、が形成されている。上面視において、冷媒流路260は、第1流路261と第2流路262とに分岐する部分である分岐部263と、第1流路261と第2流路262とが再び合流する部分である合流部264と、を有する。貫通穴230は、ベースプレート200のうち、第1流路261と第2流路262との間の部分を貫くように形成されている。
【選択図】図3
特許請求の範囲
【請求項1】
被吸着物が載置される載置面を有する誘電体基板と、
前記誘電体基板を支持するベースプレートと、を備え、
前記ベースプレートには、
冷媒の通る冷媒流路と、
前記載置面に対し垂直な方向に伸びる貫通穴と、が形成されており、
前記載置面に対し垂直な方向から見た場合において、
前記冷媒流路は、
第1流路と第2流路とに分岐する部分である分岐部と、
前記第1流路と前記第2流路とが再び合流する部分である合流部と、を有し、
前記貫通穴は、前記ベースプレートのうち、前記第1流路と前記第2流路との間の部分を貫くように形成されていることを特徴とする静電チャック。
続きを表示(約 360 文字)
【請求項2】
前記載置面に対し垂直な方向から見た場合において、
前記貫通穴は、
前記第1流路と前記第2流路との間の部分を貫くように形成された第1貫通穴と、
前記第1流路を挟んで前記第1貫通穴とは反対側となる位置に形成された第2貫通穴と、を含むことを特徴とする、請求項1に記載の静電チャック。
【請求項3】
前記載置面に対し垂直な方向から見た場合において、
前記冷媒流路の幅が、前記第1流路において局所的に狭くなっていることを特徴とする、請求項1又は2に記載の静電チャック。
【請求項4】
前記誘電体基板を加熱するためのヒーターを更に備え、
前記貫通穴を通じて前記ヒーターへの給電が行われることを特徴とする、請求項1に記載の静電チャック。
発明の詳細な説明
【技術分野】
【0001】
本発明は静電チャックに関する。
続きを表示(約 1,400 文字)
【背景技術】
【0002】
例えばエッチング装置等の半導体製造装置には、処理の対象となるシリコンウェハ等の基板を吸着し保持するための装置として、静電チャックが設けられる。静電チャックは、吸着電極が設けられた誘電体基板と、誘電体基板を支持するベースプレートと、を備え、これらが互いに接合された構成を有する。吸着電極に電圧が印加されると静電力が生じ、誘電体基板上に載置された基板が吸着され保持される。
【0003】
エッチング等の処理中においては、基板の温度を適切な温度に維持する必要がある。このため、下記特許文献1に記載されているように、ベースプレートの内部には、冷媒を通すための冷媒流路が形成される。
【先行技術文献】
【特許文献】
【0004】
特開2021-028960号公報
【発明の概要】
【発明が解決しようとする課題】
【0005】
ベースプレートには、上記の冷媒流路に加えて複数の貫通穴も形成される。このような貫通穴としては、例えば、リフトピンを通すための穴や、ヘリウムガスなどの不活性ガスを基板側に供給するための穴等が挙げられる。冷媒流路は、このような貫通穴を避けるような経路に沿って引き回す必要がある。
【0006】
例えば、互いに近接した一対の貫通穴の間を通るような経路に沿って冷媒流路を引き回す場合等には、冷媒流路の幅を局所的に狭くする必要がある。しかしながら、当該部分では冷媒の流速が局所的に上昇し、冷却性能が上昇するので、その直上において基板の温度低下を引き起こす可能性がある。その結果、基板の面内温度分布がばらついてしまう可能性がある。
【0007】
本発明はこのような課題に鑑みてなされたものであり、その目的は、処理中における基板の面内温度分布のばらつきを抑制することのできる静電チャック、を提供することにある。
【課題を解決するための手段】
【0008】
上記課題を解決するために、本発明に係る静電チャックは、被吸着物が載置される載置面を有する誘電体基板と、誘電体基板を支持するベースプレートと、を備える。ベースプレートには、冷媒の通る冷媒流路と、載置面に対し垂直な方向に伸びる貫通穴と、が形成されている。載置面に対し垂直な方向から見た場合において、冷媒流路は、第1流路と第2流路とに分岐する部分である分岐部と、第1流路と第2流路とが再び合流する部分である合流部と、を有する。貫通穴は、ベースプレートのうち、第1流路と第2流路との間の部分を貫くように形成されている。
【0009】
このような構成の静電チャックでは、冷媒流路が、貫通穴の近傍において第1流路と第2流路とに分岐している。このため、一方の第1流路を、貫通穴との干渉を避けるために狭くした場合でも、冷媒は第1流路のみならず第2流路をも通るため、第1流路における局所的な流速の上昇が抑制される。その結果、冷媒流路の各部における冷却性能は概ね均等なままとなるので、処理中における基板の面内温度分布のばらつきが抑制される。
【発明の効果】
【0010】
本発明によれば、処理中における基板の面内温度分布のばらつきを抑制することのできる静電チャック、を提供することができる。
【図面の簡単な説明】
(【0011】以降は省略されています)
この特許をJ-PlatPat(特許庁公式サイト)で参照する
関連特許
TOTO株式会社
浴室
1か月前
TOTO株式会社
浴室
1か月前
TOTO株式会社
洗面器
7日前
TOTO株式会社
洗面器
7日前
TOTO株式会社
水栓装置
21日前
TOTO株式会社
水栓装置
21日前
TOTO株式会社
水栓装置
21日前
TOTO株式会社
水栓装置
21日前
TOTO株式会社
水栓装置
21日前
TOTO株式会社
水栓装置
21日前
TOTO株式会社
水栓装置
21日前
TOTO株式会社
吐水装置
1日前
TOTO株式会社
吐水装置
1日前
TOTO株式会社
吐水装置
1日前
TOTO株式会社
構造部材
1日前
TOTO株式会社
構造部材
1日前
TOTO株式会社
水栓装置
21日前
TOTO株式会社
複合材料
22日前
TOTO株式会社
便器装置
1か月前
TOTO株式会社
便座装置
1か月前
TOTO株式会社
水栓装置
21日前
TOTO株式会社
水洗大便器
今日
TOTO株式会社
水洗大便器
1か月前
TOTO株式会社
水洗大便器
1か月前
TOTO株式会社
水洗大便器
1か月前
TOTO株式会社
水洗大便器
1か月前
TOTO株式会社
トイレ装置
1か月前
TOTO株式会社
トイレ装置
1か月前
TOTO株式会社
トイレ装置
1か月前
TOTO株式会社
水洗大便器
1か月前
TOTO株式会社
排水管継手
1か月前
TOTO株式会社
トイレ装置
7日前
TOTO株式会社
水洗大便器
今日
TOTO株式会社
水洗大便器
今日
TOTO株式会社
水洗大便器
今日
TOTO株式会社
トイレ装置
3日前
続きを見る
他の特許を見る