TOP
|
特許
|
意匠
|
商標
特許ウォッチ
Twitter
他の特許を見る
公開番号
2025146373
公報種別
公開特許公報(A)
公開日
2025-10-03
出願番号
2024047112
出願日
2024-03-22
発明の名称
段積み装置
出願人
西部電機株式会社
代理人
個人
,
個人
,
個人
主分類
B65G
57/30 20060101AFI20250926BHJP(運搬;包装;貯蔵;薄板状または線条材料の取扱い)
要約
【課題】設置のために確保すべき面積を抑制可能な段積み装置を提供する。
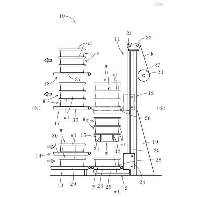
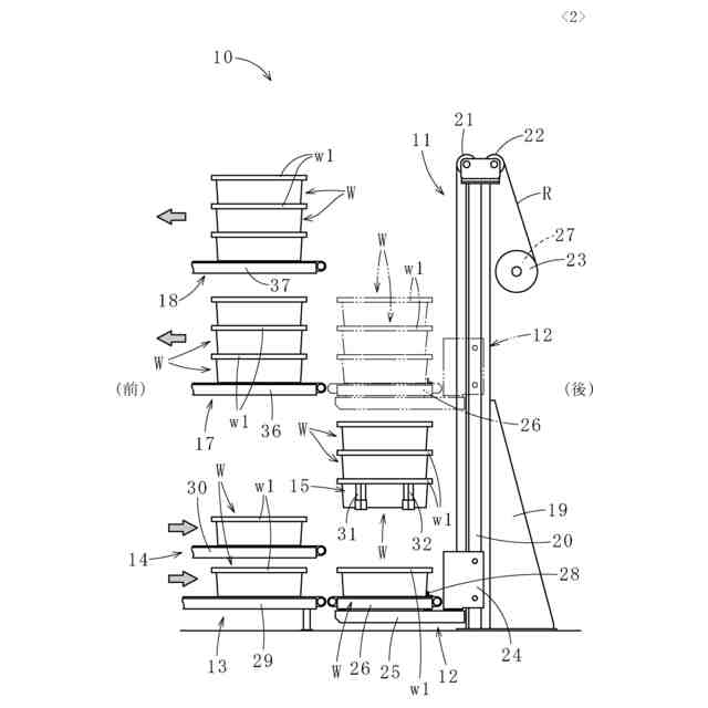
【解決手段】ワークWを積み重ねた状態にして外部に送る段積み装置10であって、立設部材11に昇降自在に取り付けられた昇降台12と、ワークWを昇降台12に移載するワーク供給手段13、14と、昇降台12と共に上昇するワークWに接触しない退避状態から、ワークWに接触する干渉状態となって、昇降台12に支持されていないワークWを支持するワーク受け手段15と、昇降台12に新たに移載されたワークWを上昇させて、ワーク受け手段15に支持されたワークWの下側に重ねて段積み状態にし、ワーク受け手段15を退避状態にすると共に、段積み状態の複数のワークWを昇降台12と共に上昇させ、ワーク受け手段15を干渉状態に戻して最下段のワークWに接触させ、ワーク受け手段15に段積み状態の複数のワークWを支持させる制御手段とを備える。
【選択図】図2
特許請求の範囲
【請求項1】
ワークを積み重ねた状態にして外部に送る段積み装置であって、
立設部材と、
前記立設部材に昇降自在に取り付けられた昇降台と、
外部から与えられた前記ワークを前記昇降台に移載するワーク供給手段と、
前記昇降台に移載され該昇降台と共に上昇する前記ワークに接触しない退避状態から、上昇して所定の高さ位置に配された前記ワークに接触する干渉状態となって、前記昇降台に支持されていない前記ワークを支持するワーク受け手段と、
前記ワーク供給手段から前記昇降台に新たに移載された前記ワークを、前記昇降台と共に上昇させて、前記ワーク受け手段に支持された前記ワークの下側に重ねて段積み状態にし、前記ワーク受け手段を前記退避状態にすると共に、段積み状態の複数の前記ワークを前記昇降台と共に上昇させ、前記ワーク受け手段を前記干渉状態に戻して最下段の前記ワークに接触させ、前記ワーク受け手段に段積み状態の前記複数のワークを支持させる制御手段と、
平面視して該ワーク供給手段に一部又は全体が重なる位置に配され、前記昇降台上から段積み状態の前記複数のワークを取得して、外部に送るワーク搬送手段とを備えることを特徴とする段積み装置。
続きを表示(約 720 文字)
【請求項2】
前記ワーク搬送手段は、複数あって、それぞれ異なる高さに配されていることを特徴とする請求項1記載の段積み装置。
【請求項3】
前記ワーク供給手段及び前記ワーク搬送手段は、それぞれ前記ワークが載せられるコンベアを有することを特徴とする請求項1記載の段積み装置。
【請求項4】
前記昇降台は、前記ワークが載せられるコンベアを有することを特徴とする請求項1記載の段積み装置。
【請求項5】
ワークを積み重ねた状態にして外部に送る段積み装置であって、
立設部材と、
前記立設部材に昇降自在に取り付けられた昇降台と、
外部から与えられた前記ワークを前記昇降台に移載するワーク供給手段と、
前記昇降台に移載され該昇降台と共に上昇する前記ワークに接触しない退避状態から、上昇して所定の高さ位置に配された前記ワークに接触する干渉状態となって、前記昇降台に支持されていない前記ワークを支持するワーク受け手段と、
前記ワーク供給手段から前記昇降台に新たに移載された前記ワークを、前記昇降台と共に上昇させて、前記ワーク受け手段に支持された前記ワークの下側に重ねて段積み状態にし、前記ワーク受け手段を前記退避状態にすると共に、段積み状態の複数の前記ワークを前記昇降台と共に上昇させ、前記ワーク受け手段を前記干渉状態に戻して最下段の前記ワークに接触させ、前記ワーク受け手段に段積み状態の前記複数のワークを支持させる制御手段とを備え、
前記ワーク供給手段は、前記昇降台上から段積み状態の前記複数のワークを取得して、外部に送ることを特徴とする段積み装置。
発明の詳細な説明
【技術分野】
【0001】
本発明は、コンテナ等を段積みする段積み装置に関する。
続きを表示(約 2,200 文字)
【背景技術】
【0002】
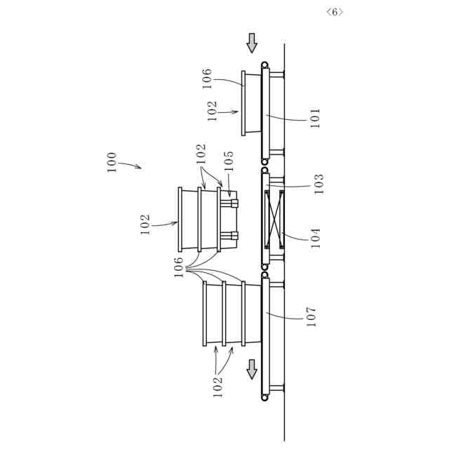
食料品、日用品、衣料及び工具等の品物が入れられたコンテナを搬送先ごとに仕分ける物流拠点では、コンテナを複数段に積み重ねる段積み機構がしばしば用いられる(特許文献1参照)。段積み機構100は、図6に示すように、外部(図6に示す例では、コンベア101)からコンテナ102が供給されるコンベア103と、コンベア103に載せられたコンテナ102を押し上げるテーブルリフタ104と、コンベア103の上方に設けられた可動式受け部材105を備える。可動式受け部材105はコンテナ102のつば部106の下側に接触してコンテナ102を支持する。
【0003】
コンベア101からコンベア103にコンテナ102が供給されると、図7(A)、(B)に示すように、テーブルリフタ104は、コンベア103上のコンテナ102を押し上げ、可動式受け部材105より低い位置に配されていたつば部106を可動式受け部材105より高い位置に配する。このとき、可動式受け部材105は上昇するコンテナ102に接触しない退避位置に配されている。
【0004】
次いで、可動式受け部材105が、図7(C)に示すように、つば部106の直下に一部が配される支持位置に移動し、テーブルリフタ104は、図7(D)に示すように、コンテナ102を下降させ、可動式受け部材105につば部106を接触させてコンテナ102を支持させる。テーブルリフタ105の上端部がコンベア102の上端部より低い位置まで下がった後、図8(A)に示すように、コンベア101からコンベア103に新たなコンテナ102が載せられ、テーブルリフタ104はそのコンテナ102を上昇させる。
【0005】
テーブルリフタ104によって上昇させられたコンテナ102(以下、「下側のコンテナ102」と言う)は、図8(B)に示すように、可動式受け部材105に支持されたコンテナ102(以下、「上側のコンテナ102」と言う)に接触して上側のコンテナ102を載せた状態となり、上側のコンテナ102の上昇を伴う下側のコンテナ102の更なる上昇によって、上側のコンテナ102のつば部106は可動式受け部材105から離れ、このタイミングで可動式受け部材105は退避位置に移動する。その後も、上側のコンテナ102及び下側のコンテナ102はテーブルリフタ104によって押し上げられ、下側のコンテナ102のつば部106が、図8(C)に示すように、可動式受け部材105より高い位置に配された後に、可動式受け部材105は支持位置に戻る。
【0006】
そして、テーブルリフタ104は上側のコンテナ102及び下側のコンテナ102を下降させ、図8(D)に示すように、可動式受け部材105に下側のコンテナ102のつば部106を接触させて下側のコンテナ102を支持させる。同様の処理を繰り返して、図6に示すように、所定数(ここでは、3つ)のコンテナ102が積み重ねられた後、コンベア103は、積み重なった3つのコンテナ102を、コンベア103を中心にしてコンベア101の反対側に配されたコンベア107に送る。
【先行技術文献】
【特許文献】
【0007】
実開平6-72929号公報
【発明の概要】
【発明が解決しようとする課題】
【0008】
しかしながら、従来の段積み機構100を使用した場合、コンテナ102の搬送ラインに、コンベア101、103、107を同一平面上に並べるための広い領域が必要になるという課題があった。この課題は、コンテナに限定されず、段済みされるワーク、例えば、品物を収容した箱や品物についても同様である。
【0009】
本発明は、かかる事情に鑑みてなされたもので、設置のために確保すべき面積を抑制可能な段積み装置を提供することを目的とする。
【課題を解決するための手段】
【0010】
前記目的に沿う第1の発明に係る段積み装置は、ワークを積み重ねた状態にして外部に送るワーク段積み装置であって、立設部材と、前記立設部材に昇降自在に取り付けられた昇降台と、外部から与えられた前記ワークを前記昇降台に移載するワーク供給手段と、前記昇降台に移載され該昇降台と共に上昇する前記ワークに接触しない退避状態から、上昇して所定の高さ位置に配された前記ワークに接触する干渉状態となって、前記昇降台に支持されていない前記ワークを支持するワーク受け手段と、前記ワーク供給手段から前記昇降台に新たに移載された前記ワークを、前記昇降台と共に上昇させて、前記ワーク受け手段に支持された前記ワークの下側に重ねて段積み状態にし、前記ワーク受け手段を前記退避状態にすると共に、段積み状態の複数の前記ワークを前記昇降台と共に上昇させ、前記ワーク受け手段を前記干渉状態に戻して最下段の前記ワークに接触させ、前記ワーク受け手段に段積み状態の前記複数のワークを支持させる制御手段と、平面視して該ワーク供給手段に一部又は全体が重なる位置に配され、前記昇降台上から段積み状態の前記複数のワークを取得して、外部に送るワーク搬送手段とを備える。
(【0011】以降は省略されています)
この特許をJ-PlatPat(特許庁公式サイト)で参照する
関連特許
西部電機株式会社
充電装置
今日
西部電機株式会社
充電装置
今日
西部電機株式会社
段積み装置
4日前
西部電機株式会社
ワイヤ放電加工機及び断線状態判断方法
3か月前
西部電機株式会社
補充単位調整システム及び補充単位調整方法
18日前
西部電機株式会社
過負荷検出装置及びそれを備える弁駆動設備
1か月前
西部電機株式会社
作業棚管理システム、作業棚管理方法及びパレット作業棚
12日前
個人
箱
12か月前
個人
ゴミ箱
11か月前
個人
収容箱
2か月前
個人
コンベア
4か月前
個人
段ボール箱
6か月前
個人
容器
8か月前
個人
ゴミ収集器
6か月前
個人
段ボール箱
6か月前
個人
楽ちんハンド
4か月前
個人
土嚢運搬器具
7か月前
個人
バンド
1か月前
個人
角筒状構造体
4か月前
個人
パウチ補助具
11か月前
個人
宅配システム
6か月前
個人
閉塞装置
9か月前
個人
コード類収納具
7か月前
個人
お薬の締結装置
5か月前
個人
廃棄物収容容器
2か月前
個人
包装容器
18日前
個人
ゴミ処理機
8か月前
個人
把手付米袋
3か月前
個人
蓋閉止構造
3か月前
株式会社和気
包装用箱
8か月前
個人
蓋閉止構造
3か月前
株式会社コロナ
梱包材
4か月前
個人
貯蔵サイロ
6か月前
個人
積み重ね用補助具
2か月前
個人
袋入り即席麺
6か月前
株式会社新弘
容器
11か月前
続きを見る
他の特許を見る