TOP
|
特許
|
意匠
|
商標
特許ウォッチ
Twitter
他の特許を見る
10個以上の画像は省略されています。
公開番号
2025146099
公報種別
公開特許公報(A)
公開日
2025-10-03
出願番号
2024046703
出願日
2024-03-22
発明の名称
設計図書のチェックシステムおよび方法
出願人
株式会社日立製作所
代理人
弁理士法人ウィルフォート国際特許事務所
主分類
G06T
7/00 20170101AFI20250926BHJP(計算;計数)
要約
【課題】より使い勝手のよい設計図書のチェックシステムおよび方法を提供すること。
【解決手段】計算機によって設計図書をチェックさせる設計図書のチェックシステム1であって、デジタルデータとして取得された設計図書22に含まれる所定色の領域と設計図書に含まれる文字とを認識する認識部30と、認識された所定色の領域と認識された文字との対応関係を判定する対応判定部70と、判定された対応関係を含む結果情報を出力する結果表示部80とを備える。
【選択図】図1
特許請求の範囲
【請求項1】
計算機によって設計図書をチェックさせる設計図書のチェックシステムであって、
デジタルデータとして取得された設計図書に含まれる所定色の領域と前記設計図書に含まれる文字とを認識する認識部と、
前記認識された所定色の領域と前記認識された文字との対応関係を判定する対応判定部と、
前記判定された対応関係を含む結果情報を出力する結果表示部と
を備える設計図書のチェックシステム。
続きを表示(約 940 文字)
【請求項2】
前記認識部は、前記設計図書に含まれる図形を認識し、前記認識された図形に対応付けられる寸法値が含まれる寸法領域を抽出し、前記抽出された寸法領域において前記所定色の領域と前記文字とを認識する
請求項1に記載の設計図書のチェックシステム。
【請求項3】
前記認識部は、前記設計図書の種類と前記所定色の意義とを少なくとも含む設計図書パラメータに基づいて、前記所定色の領域と前記文字とを認識する
請求項2に記載の設計図書のチェックシステム。
【請求項4】
前記設計図書への修正を前記結果表示部により受け付ける
請求項1~3のいずれか一項に記載の設計図書のチェックシステム。
【請求項5】
前記認識部は、修正前の設計図書と修正後の設計図書とを比較して判定する修正箇所判定部を備える
請求項4に記載の設計図書のチェックシステム。
【請求項6】
前記認識部は、図形を認識するための第1機械学習モデルを用いて、前記設計図書に含まれる図形を認識する
請求項2に記載の設計図書のチェックシステム。
【請求項7】
前記認識部は、さらに、色情報を認識するための第2機械学習モデルを用いて、前記所定色の領域を認識する
請求項6に記載の設計図書のチェックシステム。
【請求項8】
前記対応判定部は、前記対応関係を判定するための第3機械学習モデルを用いて、前記対応関係を判定する
請求項6に記載の設計図書のチェックシステム。
【請求項9】
前記認識部は、さらに、色情報を認識するための第2機械学習モデルを用いて、前記所定色の領域を認識し、
前記対応判定部は、前記対応関係を判定するための第3機械学習モデルを用いて、前記対応関係を判定する
請求項6に記載の設計図書のチェックシステム。
【請求項10】
前記設計図書への修正を示す情報を含む所定情報をあらかじめ登録されたコンピュータ端末へ通知する
請求項4に記載の設計図書のチェックシステム。
(【請求項11】以降は省略されています)
発明の詳細な説明
【技術分野】
【0001】
本発明は、設計図書のチェックシステムおよび方法に関する。
続きを表示(約 1,900 文字)
【背景技術】
【0002】
設計業務において、図面処理に要する人的負荷や作業工数を低減した設計業務の効率化と、ヒューマンエラーとを排除することが求められている。そこで、特許文献1には、「配置知識を必要とすることなく文字と記号との対応関係を判定することを可能とした図面認識装置」という記載がある。
【先行技術文献】
【特許文献】
【0003】
特開2022-59670号公報
【発明の概要】
【発明が解決しようとする課題】
【0004】
特許文献1では、簡単な記号およびその周辺の活字文字を認識し、あらかじめ登録された図面情報と簡易的な記号と文字との対応関係に基づき、記号と記号の接続関係や記号と文字の対応関係を推定する。そのため、特許文献1の技術では、複雑な図形や複数色での手書き文字を含む設計図面において、設計者が紙図面を用いて作業した内容に対してチェックすることが難しい。
【0005】
そこで、本発明は、より使い勝手のよい設計図書のチェックシステムおよび方法を提供することを目的とする。
【課題を解決するための手段】
【0006】
前記課題を解決すべく、本発明の一つの観点に従う設計図書のチェックシステムは、計算機によって設計図書をチェックさせる設計図書のチェックシステムであって、デジタルデータとして取得された設計図書に含まれる所定色の領域と設計図書に含まれる文字とを認識する認識部と、認識された所定色の領域と認識された文字との対応関係を判定する対応判定部と、判定された対応関係を含む結果情報を出力する結果表示部とを備える。
【発明の効果】
【0007】
本発明によれば、設計図書に含まれる所定色の領域と文字との対応関係を判定して出力させることができる。
【図面の簡単な説明】
【0008】
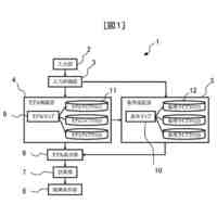
本実施形態に係る設計図書のデジタルチェックシステムの全体構成図。
設計図書の例を示す図。
設計図書パラメータの例を示す図。
図形検出を説明する図。
属性領域抽出を説明する図。
属性定義情報の例を説明する図。
文字認識を説明する図。
色定義情報の例を示す図。
色認識を説明する図。
色情報推定の例を示す図。
第1機械学習モデルで使用する学習データを示す図。
第1機械学習モデルで使用する図面構成対応表を示す図。
結果表示画面の例を説明する図。
結果表示画面をモバイル端末で表示させる例を示す図。
設計図書のチェックシステムの処理を示すフローチャート。
図形を検出する処理のフローチャート。
色を認識する処理のフローチャート。
文字情報を推定する処理のフローチャート。
色情報を推定する処理のフローチャート。
実施例2にかかり、設計図書のデジタルチェックシステムの全体図。
実施例3にかかり、設計図書のデジタルチェックシステムの全体図。
実施例4にかかり、設計図書のデジタルチェックシステムの全体図。
実施例5にかかり、設計図書のチェックシステムの処理を示すフローチャート。
【発明を実施するための形態】
【0009】
以下、図面に基づいて、本発明の実施の形態を説明する。本実施形態に係る設計図書のチェックシステムは、計算機上に実現されるものであり、後述のように、紙媒体として出力された設計図書をユーザが手作業でチェックした場合に、そのユーザの手作業によるチェックをデジタルデータ上で確認することができる。
【0010】
本実施形態の設計図書のチェックシステムは、ユーザにより手作業で書き込まれたチェック内容(寸法などの数値をチェックしたことを示すマーク等)を含む設計図書をデジタルデータとして取得し、そのチェック内容をチェックシステム内で再チェックし、その結果をユーザに知らせる。ユーザとは、設計図書のチェックシステムを利用する者であり、例えば、設計者などが該当する。設計図書を作成するユーザと、作成された設計図書を手作業でチェックするユーザと、手作業でチェックされてデジタルデータとして入力された設計図書を自動チェックした結果を受け取るユーザとは、同一人物であってもよいし、異なってもよい。
(【0011】以降は省略されています)
この特許をJ-PlatPat(特許庁公式サイト)で参照する
関連特許
株式会社日立製作所
データ処理装置およびデータ処理方法
3日前
株式会社日立製作所
農業経営支援装置および農業経営支援方法
3日前
株式会社日立製作所
設備運用支援システム及び設備運用支援方法
3日前
株式会社日立製作所
サービス選択システムおよびサービス選択方法
3日前
株式会社日立製作所
画像処理装置、画像処理方法および画像処理システム
3日前
株式会社日立製作所
シミュレーション装置、および、シミュレーションシステム
3日前
株式会社日立製作所
車両運用管理システム、車両制御システム及び車両運用管理方法
3日前
株式会社日立製作所
道路情報収集装置、道路情報収集システムおよび道路情報収取方法
3日前
株式会社日立製作所
空域利用管理装置、空域利用管理システムおよび空域利用管理方法
3日前
個人
詐欺保険
27日前
個人
縁伊達ポイン
27日前
個人
RFタグシート
14日前
個人
5掛けポイント
3日前
個人
ペルソナ認証方式
11日前
個人
QRコードの彩色
1か月前
個人
地球保全システム
1か月前
個人
情報処理装置
6日前
個人
自動調理装置
13日前
個人
農作物用途分配システム
26日前
個人
残土処理システム
1か月前
個人
タッチパネル操作指代替具
20日前
個人
インターネットの利用構造
10日前
個人
知的財産出願支援システム
1か月前
個人
携帯端末障害問合せシステム
19日前
個人
スケジュール調整プログラム
19日前
個人
エリアガイドナビAIシステム
11日前
個人
食品レシピ生成システム
1か月前
株式会社キーエンス
受発注システム
1か月前
株式会社キーエンス
受発注システム
1か月前
株式会社キーエンス
受発注システム
1か月前
株式会社ケアコム
項目選択装置
6日前
株式会社ケアコム
項目選択装置
6日前
トヨタ自動車株式会社
通知装置
17日前
キヤノン株式会社
表示システム
1か月前
キヤノン株式会社
情報処理装置
4日前
個人
帳票自動生成型SaaSシステム
1か月前
続きを見る
他の特許を見る