TOP
|
特許
|
意匠
|
商標
特許ウォッチ
Twitter
他の特許を見る
公開番号
2025167886
公報種別
公開特許公報(A)
公開日
2025-11-07
出願番号
2024072879
出願日
2024-04-26
発明の名称
シミュレーション装置、および、シミュレーションシステム
出願人
株式会社日立製作所
代理人
青稜弁理士法人
主分類
G16Z
99/00 20190101AFI20251030BHJP(特定の用途分野に特に適合した情報通信技術)
要約
【課題】シミュレーションを実行するために必要な情報である、構造、寸法や物性値などが不足していても、限定された情報からシミュレーションモデルを構築し計算を実行し結果を得ることができる技術を提供する。
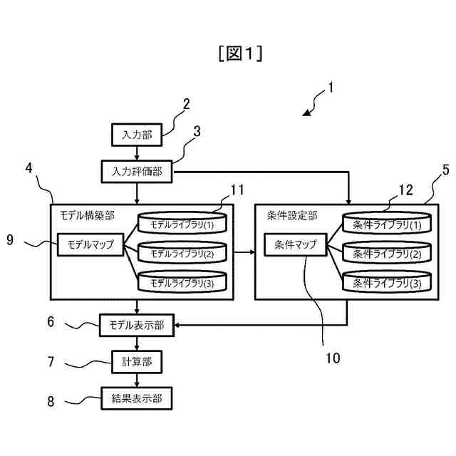
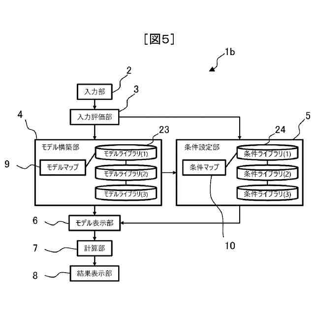
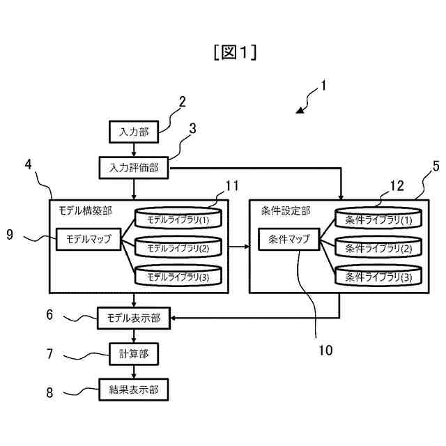
【解決手段】シミュレーション装置1は、モデルを構築し、モデルを用いてシミュレーションを行う装置であり、プロセッサと、記憶装置と、を備える。記憶装置は、ユーザが入力する情報と、モデルの要素および/または計算条件との関係を重み係数により示す重み係数データをライブラリとして格納する。プロセッサは、ユーザの入力により取得した情報を評価し、記憶装置に格納された重み係数データを用いて、シミュレーションに用いるモデルを構築し、築したモデルに基づくシミュレーションを行い、構築したモデルに関する情報を示すデータと、構シミュレーションを行った結果を示すデータと、を出力する。
【選択図】図1
特許請求の範囲
【請求項1】
モデルを構築し、前記モデルを用いてシミュレーションを行うシミュレーション装置であって、
プロセッサと、
記憶装置と、
を備え、
前記記憶装置は、
ユーザが入力する情報と、モデルの要素および/または計算条件との関係を重み係数により示す重み係数データをライブラリとして格納し、
前記プロセッサは、
ユーザの入力により取得した情報を評価し、前記記憶装置に格納された重み係数データを用いて、シミュレーションに用いるモデルを構築し、
前記構築したモデルに関する情報を示すデータを出力し、
前記構築したモデルに基づくシミュレーションを行い、前記シミュレーションの結果を示すデータを出力する、
ことを特徴とするシミュレーション装置。
続きを表示(約 1,400 文字)
【請求項2】
請求項1に記載のシミュレーション装置であって、
前記プロセッサは、
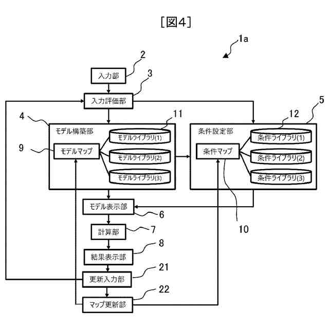
更新された入力情報を評価し、前記記憶装置に格納された重み係数データを用いて、更新したモデルを構築する、
ことを特徴とするシミュレーション装置。
【請求項3】
請求項1に記載のシミュレーション装置であって、
前記プロセッサは、
前記重み係数データの更新に関するユーザの入力を取得し、前記記憶装置に格納された重み係数データを更新する、
ことを特徴とするシミュレーション装置。
【請求項4】
請求項1に記載のシミュレーション装置であって、
前記ライブラリが階層構造を有する、
ことを特徴とするシミュレーション装置。
【請求項5】
請求項1に記載のシミュレーション装置であって、
前記プロセッサは、
大規模言語モデルに基づいて情報を評価する、
ことを特徴とするシミュレーション装置。
【請求項6】
モデルを構築し、前記モデルを用いてシミュレーションを行うシミュレーション装置であって、
プロセッサと、
通信に用いる通信インタフェース装置と、
を備え、
前記プロセッサは、
前記通信インタフェース装置を介して、ユーザが入力する情報と、モデルの要素および/または計算条件との関係を重み係数により示す重み係数データをライブラリとして格納する装置から、前記重み係数データを取得し、
ユーザの入力により取得した情報を評価し、取得した前記重み係数データを用いて、シミュレーションに用いるモデルを構築し、
前記構築したモデルに関する情報を示すデータを出力し、
前記構築したモデルに基づくシミュレーションを行い、前記シミュレーションの結果を示すデータを出力する、
ことを特徴とするシミュレーション装置。
【請求項7】
モデルを構築し、前記モデルを用いてシミュレーションを行うシミュレーション装置と、
前記シミュレーション装置と通信可能な端末装置と、
を備え、
前記シミュレーション装置は、
ユーザの入力により取得した情報を評価し、ユーザが入力する情報と、モデルの要素および/または計算条件との関係を重み係数により示す重み係数データを用いて、シミュレーションに用いるモデルを構築し、
前記構築したモデルに関する情報を示すデータを出力し、
前記構築したモデルに基づくシミュレーションを行い、前記シミュレーションの結果を示すデータを出力し、
前記端末装置は、
前記シミュレーション装置から出力されたデータを取得し、
前記構築したモデルに関する情報と、前記シミュレーションの結果の情報を表示する、
ことを特徴とするシミュレーションシステム。
【請求項8】
請求項7に記載のシミュレーションシステムであって、
前記シミュレーションシステムは、
ローカルエリアネットワークで接続されたシステムであり、
前記シミュレーション装置は、
該シミュレーション装置が備える記憶装置、あるいは、該シミュレーション装置が備える入出力インタフェース装置に接続される記憶装置から、前記重み係数データを取得する、
ことを特徴とするシミュレーションシステム。
発明の詳細な説明
【技術分野】
【0001】
本発明は、シミュレーション装置、および、シミュレーションシステムに関する。
続きを表示(約 2,100 文字)
【背景技術】
【0002】
機械装置や機械システムのシミュレーションモデルを構築する際、モデルを構築する準備として、機器の寸法、物性値、配置、接続の情報をすべて有している必要がある。例えば、3D-CADモデルがあったとしても、実際のすべての要素が反映されているとは限らない。一方で、モデルを構築する際にすべての情報やデータを準備してから計算モデルを構築し、計算を実行するには時間がかかるという課題がある。
【0003】
また、住宅やオフィスビルにおける室温や消費電力を予測する場合、建屋の構造や寸法、各種部材の物性値、建屋内に配置される熱負荷となる照明や電気製品、温度を制御する空調装置を配置したモデルを構築し、熱流体シミュレーションを行う。それにより、室内の空気温度や流れ場、空調装置に求められる熱量から消費電力を予測することが可能となる。ここで、熱流体シミュレーションとして非定常3次元熱流体解析を行う場合、建物や評価する部屋のモデルを構築する必要がある。この時、部屋の寸法がわからなければ、計算対象となる領域を評価することができない。また、空調設備をモデル化しなければ、室内温度を変化させることができず、温度や消費電力を予測することができない。このように、解析を行う際にはモデルや解析条件をすべて設定する必要があり、これらのモデル化及び条件を揃えることには時間を要する。
【0004】
シミュレーション装置がサンプルモデルをあらかじめ持っておき、入力者の所望するシミュレーションに近いサンプルモデルを選定して所望するモデルとなるように修正する、あるいはデフォルトでシミュレーション条件が設定されてある、といった手法が一般的に用いられている。しかし、入力者が事前に目標とするシミュレーションモデルを把握しておく必要がある。そのためには、入力者のシミュレーションモデルに対する経験や事前検討、どのような要素が不足しているかを把握できる必要があり、迅速にシミュレーションを開始することは難しい。
【0005】
これらの課題に対して、解析モデルを構築する際に不足情報があることを通知する手法が提案されており、特許文献1には、「形状情報および数式情報に基づいて、必要とされる数式情報の不足情報と、該不足情報の設定が必要な個所とを検出した後、該検出された不足情報と該不足情報の設定個所とを表示装置に表示」と記載されている。また、データから学習モデルを構築し、計算を予測するモデルが検討されており、例えば特許文献2には、「データセットから前記複数の学習データを選択し、前記選択された複数の学習データを用いて前記モデルを学習し、前記モデルを用いて、前記複数の入力データの各々の予測値を出力」と記載されている。
【先行技術文献】
【特許文献】
【0006】
特開平1-204144号公報
特開2022-190752号公報
【発明の概要】
【発明が解決しようとする課題】
【0007】
特許文献1では、入力された形状や数値情報に基づき、計算に必要な不足情報の設定箇所が表示される。しかし、不足する情報が通知され、適切な情報を入力されたのちに計算が実行されるため、入力者が不足を指摘された情報を入力するまで計算結果を得ることができないといった課題がある。
【0008】
特許文献2では、入力データを考慮した機械学習を実現することで、未知のデータに対しても高い精度の推論を可能とするモデルを生成できる。しかし、代表的な学習データを与える必要があり、入力者がシミュレーションによって予測したい結果を算出するために必要なデータを有していない状態ではシミュレーションを実行し、結果を予測することができない。そのため、シミュレーションモデル及び計算結果を得るまでに時間がかかるといった課題がある。
【0009】
上記のように、シミュレーションを実行するために必要な情報である、構造、寸法や物性値などが不足していても、限定された情報からシミュレーションモデルを構築し、計算を実行し、結果を得ることができる技術の提供に課題がある。
【課題を解決するための手段】
【0010】
本発明の第1の態様によれば、下記のシミュレーション装置が提供される。このシミュレーション装置は、モデルを構築し、前記モデルを用いてシミュレーションを行う装置である。シミュレーション装置は、プロセッサと、記憶装置と、を備える。記憶装置は、ユーザが入力する情報と、モデルの要素および/または計算条件との関係を重み係数により示す重み係数データをライブラリとして格納する。プロセッサは、ユーザの入力により取得した情報を評価し、記憶装置に格納された重み係数データを用いて、シミュレーションに用いるモデルを構築する。プロセッサは、構築したモデルに関する情報を示すデータを出力する。また、プロセッサは、構築したモデルに基づくシミュレーションを行い、シミュレーションの結果を示すデータを出力する。
(【0011】以降は省略されています)
この特許をJ-PlatPat(特許庁公式サイト)で参照する
関連特許
株式会社日立製作所
鉄道車両
24日前
株式会社日立製作所
放射線モニタ
17日前
株式会社日立製作所
ガス分離システム
24日前
株式会社日立製作所
システム検証方法
5日前
株式会社日立製作所
鉄道車両用空調装置
4日前
株式会社日立製作所
調停案提示システム
25日前
株式会社日立製作所
店舗管理装置および方法
5日前
株式会社日立製作所
乗降床及び乗客コンベア
3日前
株式会社日立製作所
乗りかご及びエレベーター
6日前
株式会社日立製作所
乗りかご及びエレベーター
5日前
株式会社日立製作所
飲食店提案装置および方法
5日前
株式会社日立製作所
データ変換装置および方法
18日前
株式会社日立製作所
検索システム及び検索方法
5日前
株式会社日立製作所
署名照合システム及び方法
11日前
株式会社日立製作所
生体認証装置、生体認証方法
4日前
株式会社日立製作所
立体構造宇宙機及びその制御方法
3日前
株式会社日立製作所
購入関連行動分析装置および方法
4日前
株式会社日立製作所
物体検出装置および物体検出方法
11日前
株式会社日立製作所
治療効果予測システムおよび方法
25日前
株式会社日立製作所
情報処理方法及び情報処理システム
6日前
株式会社日立製作所
計算機システム及びデータ送信方法
12日前
株式会社日立製作所
単体テスト装置及び単体テスト方法
6日前
株式会社日立製作所
計算機システム及び障害対処支援方法
25日前
株式会社日立製作所
データ処理装置およびデータ処理方法
3日前
株式会社日立製作所
圧延設定支援装置及び圧延設定支援方法
24日前
株式会社日立製作所
計算機システムおよびアクセス検証方法
3日前
株式会社日立製作所
対話型時系列分析システムおよびその方法
13日前
株式会社日立製作所
計算機システム及び予測モデルの学習方法
12日前
株式会社日立製作所
支援装置、支援方法、及び支援プログラム
12日前
株式会社日立製作所
燃料電池ブロックおよび燃料電池システム
25日前
株式会社日立製作所
電力変換装置及び電力変換装置の制御方法
3日前
株式会社日立製作所
農業経営支援装置および農業経営支援方法
3日前
株式会社日立製作所
ドア開閉装置、乗りかご、及びエレベーター
6日前
株式会社日立製作所
ファイル管理システム及びファイル管理方法
5日前
株式会社日立製作所
設備運用支援システム及び設備運用支援方法
3日前
株式会社日立製作所
発電計画策定システム並びに発電計画策定方法
12日前
続きを見る
他の特許を見る