TOP
|
特許
|
意匠
|
商標
特許ウォッチ
Twitter
他の特許を見る
10個以上の画像は省略されています。
公開番号
2025168026
公報種別
公開特許公報(A)
公開日
2025-11-07
出願番号
2024073119
出願日
2024-04-26
発明の名称
道路情報収集装置、道路情報収集システムおよび道路情報収取方法
出願人
株式会社日立製作所
代理人
青稜弁理士法人
主分類
G08G
1/00 20060101AFI20251030BHJP(信号)
要約
【課題】簡易な構成であっても路面データの状況を効率的かつ正確に把握することができる道路情報収集装置、道路情報収集システムおよび道路情報収取方法を提供する。
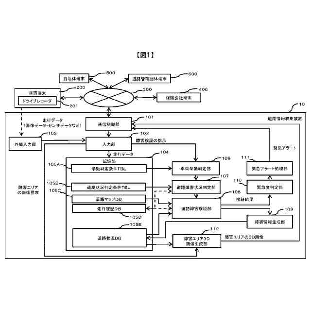
【解決手段】車両に搭載された車両端末200は、走行時、時刻に紐づく位置、画像データおよびセンサデータを含む走行データを収集して道路情報収集装置10に提供し、道路情報収集装置10は、車両端末200から提供された走行データから車両の挙動に応じて道路の障害状況を判定し、その判定で共通する障害状況が複数発生した場合に障害が発生した時刻および位置、画像データおよび障害状況を含む障害情報を統合して記憶部104に記憶して、保険会社端末400からのリクエストに応じて記憶部104に記憶された障害情報に基づく道路状況を3D画像で提供する。
【選択図】図1
特許請求の範囲
【請求項1】
道路の障害状況を取得する道路情報収集装置であって、
車両が取得した、時刻に紐づく位置、画像データおよびセンサデータを含む走行データを入力する入力部と、
前記入力部で入力された走行データのセンサデータに基づいて車両の挙動を判定する挙動判定部と、
前記挙動判定部で挙動ありの判定が下された場合、前記入力部で入力された走行データの画像データに基づいて道路の障害状況を判定する道路状況判定部と、
前記道路状況判定部で障害ありの判定が下された場合、前記入力部で入力された走行データに基づいて前記障害が発生した時刻および位置、前記画像データおよび前記障害状況を含む障害情報を生成する生成部と、
前記生成部で生成された障害情報を記憶する記憶部と、
を備え、
前記生成部は、前記道路状況判定部で障害ありの判定が下されて、前記記憶部から前記障害状況と同一の障害状況が検出された場合、同一障害状況となる複数の障害情報を統合することを特徴とする道路情報収集装置。
続きを表示(約 1,000 文字)
【請求項2】
請求項1に記載の道路情報収集装置において、さらに、ネットワークを介して端末との間で通信する通信部と、前記端末からのリクエストに応じて前記記憶部に記憶された障害情報に基づいて画像を生成する画像生成部とを有し、前記通信部は前記生成された画像を前記端末に送信することを特徴とする道路情報収集装置。
【請求項3】
請求項2に記載の道路情報収集装置において、前記画像生成部は3D画像を生成することを特徴とする道路情報収集装置。
【請求項4】
請求項3に記載の道路情報収集装置において、前記3D画像はVR(バーチャルリアリティ)画像であることを特徴とする道路情報収集装置。
【請求項5】
請求項1に記載の道路情報収集装置において、さらに、車両の挙動を判定する条件を定義する挙動判定条件テーブルを有し、前記挙動判定部は前記挙動判定条件テーブルを用いて判定を行うことを特徴とする道路情報収集装置。
【請求項6】
請求項1に記載の道路情報収集装置において、さらに、道路の障害状況を判定する条件を定義する道路状況判定条件テーブルを有し、前記挙動判定部は前記道路状況判定条件テーブルを用いて判定を行うことを特徴とする道路情報収集装置。
【請求項7】
請求項1に記載の道路情報収集装置において、さらに、道路の障害状況を判定する条件を定義する道路状況判定条件テーブルを有し、前記挙動判定部は前記道路状況判定条件テーブルを用いて判定を行うことを特徴とする道路情報収集装置。
【請求項8】
請求項1に記載の道路情報収集装置において、さらに、ネットワークを介して端末との間で通信する通信部と、前記道路状況判定部で障害ありの判定が下された場合に緊急度を判定する緊急度判定部と、前記緊急度判定部で緊急度が高い場合に緊急アラートを生成する緊急アラート処理部とを有し、前記通信部は前記緊急アラートを前記端末に送信することを特徴とする道路情報収集装置。
【請求項9】
請求項8に記載の道路情報収集装置において、前記走行データは音声データを含み、前記緊急度判定部は前記音声データを含めて緊急度を判定することを特徴とする道路情報収集装置。
【請求項10】
請求項1に記載の道路情報収集装置において、さらに、ネットワークを介して車両と通信する通信部を有し、前記入力部は前記通信部を介して前記走行データを入力することを特徴とする道路情報収集装置。
(【請求項11】以降は省略されています)
発明の詳細な説明
【技術分野】
【0001】
本発明は、たとえば、道路情報収集装置、道路情報収集システムおよび道路情報収取方法に関する。
続きを表示(約 2,200 文字)
【背景技術】
【0002】
近年の道路の老朽化に対して、自治体や道路管理団体が行う点検・管理業務は専用の点検用車両や職員による目視でパトロールを行い、落下物やポットホールの対応を行っている。
【0003】
そこで、ユーザの自動車に搭載されたドライブレコーダによって撮影された道路情報や自動車の走行履歴や走行速度といった走行関連情報がクラウド側のデータセンタでデータベース化して、ユーザが知りたい道路情報などの共有やデータベースをビッグデータとして解析して利用する提案がある(特許文献1)。道路情報の一例として、事故発生、落石、逆走車、落下物、および、積雪がある。
【先行技術文献】
【特許文献】
【0004】
特開2015-210713号公報
【発明の概要】
【発明が解決しようとする課題】
【0005】
たとえば、保険会社による融資計画においては、道路上の障害について、正確な位置および状況の把握につながるように、路面データの情報収集が求められる。その際、収集するデータ量を増大させると、処理はもちろん装置の規模も大きくなって、その導入コストに影響を及ぼす場合がある。
【0006】
本発明は、このような背景に鑑みてなされたものであり、簡易な構成であっても路面データの状況を効率的かつ正確に把握することができる道路情報収集装置、道路情報収集システムおよび道路情報収取方法を提供することを目的とする。
【課題を解決するための手段】
【0007】
上述した課題を解決し、上記目的を達成するため、本発明の一実施態様は、道路の障害状況を取得する道路情報収集装置であって、車両が取得した、時刻に紐づく位置、画像データおよびセンサデータを含む走行データを入力する入力部と、前記入力部で入力された走行データのセンサデータに基づいて車両の挙動を判定する挙動判定部と、前記挙動判定部で挙動ありの判定が下された場合、前記入力部で入力された走行データの画像データに基づいて道路の障害状況を判定する道路状況判定部と、前記道路状況判定部で障害ありの判定が下された場合、前記入力部で入力された走行データに基づいて前記障害が発生した時刻および位置、前記画像データおよび前記障害状況を含む障害情報を生成する生成部と、前記生成部で生成された障害情報を記憶する記憶部と、を備え、前記生成部は、前記道路状況判定部で障害ありの判定が下されて、前記記憶部から前記障害状況と同一の障害状況が検出された場合、同一障害状況となる複数の障害情報を統合することを特徴とする。
【0008】
また、本発明の他の実施態様は、道路情報を収集する道路情報収集システムであって、ネットワークに接続され、当該ネットワークに接続される他の端末と通信を行う1台以上の端末と、ネットワークに接続され、当該ネットワークに接続される他の端末と通信を行う複数の車両とネットワークに接続され、当該ネットワークに接続される他の端末と通信を行う道路情報収集装置と、を備え、前記各車両は、走行時、時刻に紐づく位置、画像データおよびセンサデータを含む走行データを収集して前記道路情報収集装置に提供し、前記道路情報収集装置は、記憶部を有しており、前記各車両から提供された走行データから車両の挙動に応じて道路の障害状況を判定し、当該判定で共通する障害状況が複数発生した場合に障害が発生した時刻および位置、画像データおよび障害状況を含む障害情報を統合して前記記憶部に記憶して、前記端末からのリクエストに応じて前記記憶部に記憶された障害情報に基づく道路状況を画像によって再現し、前記1台以上の端末は、前記道路情報収集装置にリクエストして、前記再現された画像を表示することを特徴とする。
【0009】
さらに、本発明の他の実施態様は、道路の障害状況を取得する装置の道路情報収集方法であって、車両が取得した、時刻に紐づく位置、画像データおよびセンサデータを含む走行データを入力する入力ステップと、前記入力ステップで入力された走行データのセンサデータに基づいて車両の挙動を判定する挙動判定ステップと、前記挙動判定ステップで挙動ありの判定が下された場合、前記入力ステップで入力された走行データの画像データに基づいて道路の障害状況を判定する道路状況判定ステップと、前記道路状況判定ステップで障害ありの判定が下された場合、前記入力ステップで入力された走行データに基づいて前記障害が発生した時刻および位置、前記画像データおよび前記障害状況を含む障害情報を生成する生成ステップと、前記生成ステップで生成された障害情報をメモリに記憶する記憶ステップと、を含み、前記生成ステップは、前記道路状況判定ステップで障害ありの判定が下されて、前記メモリから前記障害状況と同一の障害状況が検出された場合、同一障害状況となる複数の障害情報を統合することを特徴とする。
【発明の効果】
【0010】
本発明によれば、簡易な構成であっても路面データの状況を効率的かつ正確に把握することができる仕組みを提供することが可能となる。
【図面の簡単な説明】
(【0011】以降は省略されています)
この特許をJ-PlatPat(特許庁公式サイト)で参照する
関連特許
個人
安全支援装置
5日前
日本精機株式会社
警報システム
2か月前
株式会社SUBARU
車両
1か月前
個人
自動電動車椅子
1か月前
スズキ株式会社
運転支援装置
2か月前
エムケー精工株式会社
車両誘導装置
2か月前
株式会社国際電気
防災システム
2か月前
ニッタン株式会社
検知器
2か月前
ニッタン株式会社
検知器
2か月前
日本無線株式会社
船舶システム
6日前
ニッタン株式会社
検知器
2か月前
個人
磁気路上での車両の路線離脱防御
1か月前
ニッタン株式会社
検知器
1か月前
トヨタ自動車株式会社
サーバ
14日前
株式会社SUBARU
運転支援装置
1か月前
大阪瓦斯株式会社
音声出力システム
1か月前
日本信号株式会社
異常走行検出装置
1か月前
トヨタ自動車株式会社
サーバ
1か月前
株式会社小糸製作所
移動体検出装置
2か月前
ダイハツ工業株式会社
移動支援装置
24日前
三菱自動車工業株式会社
制御システム
1か月前
株式会社CCT
通信装置及び表示方法
1か月前
株式会社小糸製作所
車両検出システム
2か月前
日本精機株式会社
報知装置及び報知システム
1か月前
株式会社デンソー
運航管理装置
1か月前
株式会社SUBARU
事故情報収集装置
1か月前
株式会社 ミックウェア
車内環境制御システム
27日前
能美防災株式会社
火災感知器
2か月前
ヨシモトポール株式会社
接近報知システム
2か月前
株式会社SUBARU
車室内異常検知装置
1か月前
ホーチキ株式会社
火災検出システム
1か月前
能美防災株式会社
非常伝達装置
2か月前
株式会社豊田中央研究所
注意喚起装置
1か月前
大阪瓦斯株式会社
音声出力装置
1か月前
株式会社関電工
車両運行通知システム
27日前
能美防災株式会社
火災感知器及び火災報知システム
1か月前
続きを見る
他の特許を見る