TOP
|
特許
|
意匠
|
商標
特許ウォッチ
Twitter
他の特許を見る
10個以上の画像は省略されています。
公開番号
2025168013
公報種別
公開特許公報(A)
公開日
2025-11-07
出願番号
2024073101
出願日
2024-04-26
発明の名称
空域利用管理装置、空域利用管理システムおよび空域利用管理方法
出願人
株式会社日立製作所
代理人
青稜弁理士法人
主分類
G08G
5/00 20250101AFI20251030BHJP(信号)
要約
【課題】空域所有者と空域利用者とのマッチング時に双方のメリットに均衡をもたせ、円滑なマッチング手続きを実現する空域利用管理装置、空域利用管理システム及び空域利用管理方法を提供する。
【解決手段】ネットワーク4を介して、空域利用管理装置1A、1台以上の空域所有者端末2、1台以上の空域利用者端末3、決済システム5、保険会社システム6、公的機関システム7などの間で空域利用のマッチングを行う空域利用管理システムにおいて、空域所有者は、自身が所有する土地の空域を所有している場合に空域利用管理装置1Aに所定の項目に対して希望する条件を設定し、その空域利用管理装置1Aを通じて空域利用者にドローンの空域利用を許可し、空域利用者は、空域利用管理装置1Aに所定の項目に対してドローン飛行に必要な情報を設定し、その空域利用管理装置1Aを通じて空域利用者から間接的にドローンの空域利用の許可を取得する。
【選択図】図1
特許請求の範囲
【請求項1】
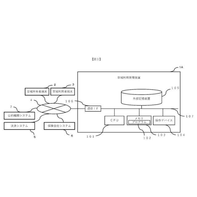
ネットワークを介して空中権で空域を所有する所有者の端末と無人移動体で空域を利用する利用者の端末に接続され、空域利用のマッチングを処理する空域利用管理装置であって、
前記空中権で区画される空域の識別情報に対応付けて所有者の識別情報を記憶する所有者記憶部と、
無人移動体の識別情報に対応付けて利用者の識別情報を記憶する利用者記憶部と、
前記利用者記憶部に記憶される識別情報を用いて利用者の端末からのアクセスを受け付け、少なくとも操縦技量と補償能力のうちのひとつを含む付加情報を前記利用者に対応付けて前記利用者記憶部に登録する付加情報登録部と、
前記所有者記憶部に記憶される識別情報を用いて所有者の端末からのアクセスを受け付け、空域利用を許可するレベルを示す少なくとも操縦技量レベルと補償能力レベルのうちのひとつを含む許可情報を前記所有者に対応付けて前記所有者記憶部に登録する許可情報登録部と、
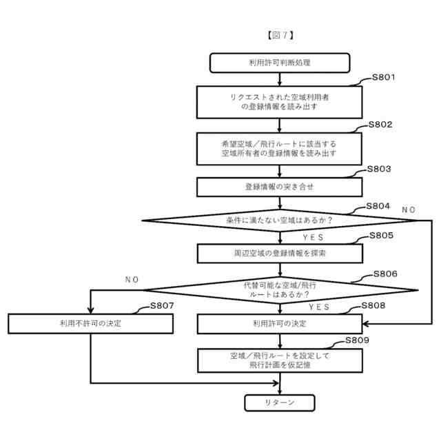
前記利用者記憶部に記憶される利用者の端末からのアクセスで空域利用のリクエストがあった場合に前記所有者記憶部と前記利用者記憶部とを参照し、前記空域利用の範囲内で空域を所有する1以上の所有者に対応する許可情報と前記リクエストした利用者に対応する付加情報とに基づいて空域利用の可否を判断する判断部と、
前記判断部で利用可の判断結果が得られた場合に前記利用者の端末に前記リクエストされた空域利用の許可を通知し、前記判断部で利用可の判断結果が得らなかった場合に前記利用者の端末に前記リクエストされた空域利用の不許可を通知する通知部と、
を備えることを特徴とする空域利用管理装置。
続きを表示(約 1,300 文字)
【請求項2】
請求項1に記載の空域利用管理装置において、前記判断部は、前記利用者記憶部に記憶される利用者の端末から飛行ルートのリクエストを受け付け、当該リクエストされた飛行ルートに空域を所有する1以上の所有者に対応する許可情報と前記リクエストした利用者に対応する付加情報とに基づいて空域利用の可否を判断することを特徴とする空域利用管理装置。
【請求項3】
請求項2に記載の空域利用管理装置において、前記通知部は前記リクエストされた飛行ルートを含めて通知を行い、前記判断部は前記利用者の端末から飛行ルートの変更を受け付けることを特徴とする空域利用管理装置。
【請求項4】
請求項1に記載の空域利用管理装置において、前記判断部は、前記利用者記憶部に記憶される利用者の端末から出発地と目的地を含むリクエストを受け付け、当該リクエストされた出発地と目的地の空域から1以上の推奨飛行ルートを自動探索し、当該1以上の推奨飛行ルートに空域を所有する1以上の所有者に対応する許可情報と前記リクエストした利用者に対応する付加情報とに基づいて空域利用の可否を判断することを特徴とする空域利用管理装置。
【請求項5】
請求項4に記載の空域利用管理装置において、前記通知部は当該1以上の推奨飛行ルートを含めて通知を行い、前記判断部は前記利用者の端末から推奨飛行ルートの変更を受け付けることを特徴とする空域利用管理装置。
【請求項6】
請求項1に記載の空域利用管理装置において、さらに、前記判断部で利用可の判断結果が得られた場合に前記利用者の端末に前記許可された空域を飛行ルートとした飛行計画を記憶更新する記憶部を有し、前記判断部は前記記憶部に記憶された他の飛行計画を含めて判断を行うことを特徴とする空域利用管理装置。
【請求項7】
請求項6に記載の空域利用管理装置において、前記記憶部は前記飛行ルートの空域を所有する所有者に対応付けて売上の分配比率を記憶しており、さらに、前記記憶部に記憶される売上の分配比率に応じて支払い処理を実行する手続処理部を有することを特徴とする空域利用管理装置。
【請求項8】
請求項1に記載の空域利用管理装置において、さらに、前記ネットワークを介して保険会社端末に接続され、前記補償能力には、保険加入に関する情報が含まれており、前記判断部は、前記保険加入に関する情報に基づいて保険加入が必要と判断した場合に前記保険会社端末に接続して、保険加入手続きを実行することを特徴とする空域利用管理装置。
【請求項9】
請求項1に記載の空域利用管理装置において、さらに、前記ネットワークを介して飛行許可等の各種許可申請に対応する処理を実行する公的機関端末に接続され、前記公的機関端末との間で各種許可申請の手続きを実行することを特徴とする空域利用管理装置。
【請求項10】
請求項1に記載の空域利用管理装置において、さらに、前記ネットワークを介して決済処理を実行する決済端末に接続され、前記決済端末との間で決済手続きを実行することを特徴とする空域利用管理装置。
(【請求項11】以降は省略されています)
発明の詳細な説明
【技術分野】
【0001】
本発明は、たとえば、空域利用管理装置、空域利用管理システムおよび空域利用管理方法に関する。
続きを表示(約 2,100 文字)
【背景技術】
【0002】
今日、産業用ドローンはもちろん個人の趣味で飛ばすドローンの普及はめざましいものである。そのため、ドローン飛行の安全を担保するとともに事故や犯罪を防止する一環で国土交通省を中心に法整備が整ってきている。
この法整備によって規制が厳しくなればなるほどドローンを飛ばす場所は限られてくるが、法を順守して所定の条件をクリアすれば飛行を許可するといった規制緩和の動きもある。
【0003】
原則、飛行ルートに空中権を所有する空域所有者の土地の上空が含まれるのであれば、その飛行ルートの空域利用者はその土地の空域所有者から空中権の許可を得る必要がある。
【0004】
この許可を取得する手続きを担うシステムとして、ソラシェア(株式会社トラビズオンの提供:https://www.truebizon.com/)というサービスが登場している。このサービスに関連して、空域を特定するためにエリアとドメインとを紐づけ、空域登録者と空域利用者とをマッチングする空域利用促進システムが提案されている(特許文献1)。
【0005】
また、ドローン飛行で利用者が土地の空中権を所有する所有者の許可を経て上空の通過や上空からの空撮を行うことが可能な空中権管理システムが提供されている(特許文献2)。
【先行技術文献】
【特許文献】
【0006】
特許第6517972号公報
国際公開第2020/016962号
【発明の概要】
【発明が解決しようとする課題】
【0007】
上述したように、空域所有者と空域利用者とのマッチングにおいて、空域利用者が希望する空域や飛行ルートの選定に空域利用者の操縦技量や事故等の補償能力といった情報が紐付けられていないことから、空域所有者を保護する観点でのマッチングが期待されている。
【0008】
本発明は、このような背景に鑑みてなされたものであり、空域所有者と空域利用者とのマッチング時に双方のメリットに均衡をもたせ、円滑なマッチング手続きを実現することが可能な空域利用管理装置、空域利用管理システムおよび空域利用管理方法を提供することを目的とする。
【課題を解決するための手段】
【0009】
上述した課題を解決し、上記目的を達成するため、本発明の一実施態様は、ネットワークを介して空中権で空域を所有する所有者の端末と無人移動体で空域を利用する利用者の端末に接続され、空域利用のマッチングを処理する空域利用管理装置であって、前記空中権で区画される空域の識別情報に対応付けて所有者の識別情報を記憶する所有者記憶部と、無人移動体の識別情報に対応付けて利用者の識別情報を記憶する利用者記憶部と、前記利用者記憶部に記憶される識別情報を用いて利用者の端末からのアクセスを受け付け、少なくとも操縦技量と補償能力のうちのひとつを含む付加情報を前記利用者に対応付けて前記利用者記憶部に登録する付加情報登録部と、前記所有者記憶部に記憶される識別情報を用いて所有者の端末からのアクセスを受け付け、空域利用を許可するレベルを示す少なくとも操縦技量レベルと補償能力レベルのうちのひとつを含む許可情報を前記所有者に対応付けて前記所有者記憶部に登録する許可情報登録部と、前記利用者記憶部に記憶される利用者の端末からのアクセスで空域利用のリクエストがあった場合に前記所有者記憶部と前記利用者記憶部とを参照し、前記空域利用の範囲内で空域を所有する1以上の所有者に対応する許可情報と前記リクエストした利用者に対応する付加情報とに基づいて空域利用の可否を判断する判断部と、前記判断部で利用可の判断結果が得られた場合に前記利用者の端末に前記リクエストされた空域利用の許可を通知し、前記判断部で利用可の判断結果が得らなかった場合に前記利用者の端末に前記リクエストされた空域利用の不許可を通知する通知部と、を備えることを特徴とする。
【0010】
また、本発明の他の実施形態は、空域利用のマッチングを行う空域利用管理システムであって、空中権で空域を所有する所有者の所有者端末と、無人移動体で空域を利用する利用者の利用者端末と、空域利用のマッチングを行う装置と、保険手続きを行う保険会社システムと、を備え、前記所有者端末、前記利用者端末、前記装置および前記保険会社システムはネットワークを介して通信可能に接続され、前記装置は、メモリを有しており、前記所有者端末から保険手続きを含む利用許可条件を付けて空域利用を許可する空域を前記メモリに記憶しており、前記利用者端末から前記メモリに記憶された空域に対する利用のリクエストを受け付けて、前記利用者端末の利用者が保険手続きで前記利用許可条件を満たさない場合に前記保険会社システムに接続して前記利用者の保険手続きをサポートして、空域利用のマッチングを実行することを特徴とする。
(【0011】以降は省略されています)
この特許をJ-PlatPat(特許庁公式サイト)で参照する
関連特許
個人
安全支援装置
5日前
日本精機株式会社
警報システム
2か月前
株式会社SUBARU
車両
1か月前
個人
自動電動車椅子
1か月前
スズキ株式会社
運転支援装置
2か月前
エムケー精工株式会社
車両誘導装置
2か月前
日本無線株式会社
船舶システム
6日前
個人
磁気路上での車両の路線離脱防御
1か月前
ニッタン株式会社
検知器
1か月前
ニッタン株式会社
検知器
2か月前
ニッタン株式会社
検知器
2か月前
株式会社国際電気
防災システム
2か月前
ニッタン株式会社
検知器
2か月前
トヨタ自動車株式会社
サーバ
1か月前
日本信号株式会社
異常走行検出装置
1か月前
大阪瓦斯株式会社
音声出力システム
1か月前
ダイハツ工業株式会社
移動支援装置
24日前
トヨタ自動車株式会社
サーバ
14日前
株式会社小糸製作所
移動体検出装置
2か月前
株式会社SUBARU
運転支援装置
1か月前
三菱自動車工業株式会社
制御システム
1か月前
株式会社小糸製作所
車両検出システム
2か月前
日本精機株式会社
報知装置及び報知システム
1か月前
株式会社CCT
通信装置及び表示方法
1か月前
株式会社デンソー
運航管理装置
1か月前
株式会社SUBARU
事故情報収集装置
1か月前
株式会社 ミックウェア
車内環境制御システム
27日前
能美防災株式会社
火災感知器
2か月前
能美防災株式会社
非常伝達装置
2か月前
ホーチキ株式会社
火災検出システム
1か月前
ヨシモトポール株式会社
接近報知システム
2か月前
株式会社SUBARU
車室内異常検知装置
1か月前
大阪瓦斯株式会社
音声出力装置
1か月前
能美防災株式会社
火災感知器及び火災報知システム
1か月前
株式会社関電工
車両運行通知システム
27日前
シャープ株式会社
駐車制御装置
1か月前
続きを見る
他の特許を見る