TOP
|
特許
|
意匠
|
商標
特許ウォッチ
Twitter
他の特許を見る
公開番号
2025146017
公報種別
公開特許公報(A)
公開日
2025-10-03
出願番号
2024046581
出願日
2024-03-22
発明の名称
ワーク加工用保護シートおよびワーク個片化物の製造方法
出願人
リンテック株式会社
代理人
前田・鈴木国際特許弁理士法人
主分類
C09J
7/29 20180101AFI20250926BHJP(染料;ペイント;つや出し剤;天然樹脂;接着剤;他に分類されない組成物;他に分類されない材料の応用)
要約
【課題】 高バンプウエハに対しても確実に保護が可能であり、高い帯電防止性能を有し、しかも被着体であるワークへの汚染も抑制できるワーク加工用保護シートを提供する。
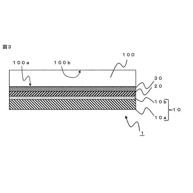
【解決手段】 本発明に係るワーク加工用保護シート1は、帯電防止性を有する基材10と、前記基材上に配置された中間層20と、前記中間層上に配置された粘着剤層30とを有し、
前記中間層20は、帯電防止剤を含有することを特徴としている。
【選択図】図1
特許請求の範囲
【請求項1】
帯電防止性を有する基材と、前記基材上に配置された中間層と、前記中間層上に配置された粘着剤層とを有するワーク加工用保護シートであって、
前記中間層は、帯電防止剤を含有するワーク加工用保護シート。
続きを表示(約 750 文字)
【請求項2】
前記基材は、支持材と、帯電防止剤含有コート層とを有し、
前記帯電防止剤含有コート層上に前記中間層が配置されてなる、請求項1に記載のワーク加工用保護シート。
【請求項3】
表面に溝、または、内部に改質領域が形成されたワークの裏面を研削することによりワークをワーク個片化物に個片化する工程において、ワークの表面に貼付されて使用される請求項1に記載のワーク加工用保護シート。
【請求項4】
前記基材の中間層とは反対面側に緩衝層を有する、請求項1に記載のワーク加工用保護シート。
【請求項5】
前記粘着剤層においてワークに貼付される面と、前記基材の中間層側の表面との距離が50μm以上である請求項1に記載のワーク加工用保護シート。
【請求項6】
前記中間層は、アクリル系重合体を含む、請求項1に記載のワーク加工用保護シート。
【請求項7】
表裏面を有するワークの表面に、請求項1~6の何れか一項に記載のワーク加工用保護シートを貼付する工程と、
前記ワークの表面に溝を形成する工程、または、前記ワークの内部に改質領域を形成する工程と、
前記ワーク加工用保護シートが表面に貼付され、かつ前記溝または前記改質領域が形成されたワークを裏面側から研削して、前記溝または前記改質領域を起点として、複数のワーク個片化物に個片化させる工程と、
前記複数のワーク個片化物から、前記ワーク加工用保護シートを剥離する工程と、を有するワーク個片化物の製造方法。
【請求項8】
前記ワークは、表面に高低差20μm以上の凹凸構造を有する、請求項7に記載のワーク個片化物の製造方法。
発明の詳細な説明
【技術分野】
【0001】
本発明は、ワーク加工用保護シートおよびワーク個片化物の製造方法に関する。特に、ワークの裏面研削を行い、その応力等でワークを個片化する方法に好適に使用されるワーク加工用保護シート、および、当該ワーク加工用保護シートを用いるワーク個片化物の製造方法に関する。
続きを表示(約 2,100 文字)
【背景技術】
【0002】
各種電子機器の小型化、多機能化が進む中、それらに搭載される半導体チップも同様に、小型化、薄型化が求められている。チップの薄型化のために、半導体ウエハの裏面を研削して厚さ調整を行うことが一般的である。また、薄型化されたチップを得るために、ウエハの表面側から所定深さの溝をダイシングブレードにより形成した後、ウエハ裏面側から研削を行い、研削によりウエハを個片化し、チップを得る先ダイシング法(DBG:Dicing Before Grinding)と呼ばれる工法を利用することもある。DBGでは、ウエハの裏面研削と、ウエハの個片化を同時に行うことができるので、薄型チップを効率よく製造できる。
【0003】
従来、半導体ウエハ等のワークの裏面研削時や、DBGによる半導体チップ等のワーク個片化物の製造時には、ワーク表面の回路を保護し、また、ワーク及び複数のワーク個片化物(すなわち、ワーク個片化物群)を保持するために、ワーク表面に、少なくとも基材と粘着剤層とから構成される、ワーク加工用保護シートとしてのバックグラインドテープを貼付するのが一般的である。
【0004】
バックグラインドテープの一例として、特許文献1および特許文献2には、ヤング率の高い基材と、基材の一方の面に緩衝層が設けられ、他方の面に粘着剤層が設けられた粘着テープが開示されている。
【0005】
近年、先ダイシング法の変形例として、レーザーでウエハ内部に改質領域を設け、ウエハ裏面研削時の応力等でウエハの個片化を行う方法が提案されている。以下、この方法をLDBG(Laser Dicing Before Grinding)と記載することがある。LDBGでは、ウエハは改質領域を起点として結晶方向に切断されるため、ダイシングブレードを用いた先ダイシング法よりもチッピングの発生を低減できる。また、ダイシングブレードによりウエハ表面に所定深さの溝を形成するDBGと比較して、ダイシングブレードによりウエハを削り取る領域がないため、つまり、カーフ幅が極小であるため、チップの収率に優れる。
【0006】
一方、MPUやゲートアレー等に用いる多ピンのLSIパッケージをプリント配線基板に実装する場合には、半導体チップとして、その接続パッド部に共晶ハンダ、高温ハンダ、金等からなる凸状電極(バンプ)が形成されたものを用い、所謂フェースダウン方式により、それらのバンプをチップ搭載用基板上の相対応する端子部に対面、接触させ、溶融/拡散接合するフリップチップ実装方法が採用されてきた。
【先行技術文献】
【特許文献】
【0007】
国際公開第2015/156389号
特開2015-183008号公報
国際公開第2018/021145号
国際公開第2017/011134号
【発明の概要】
【発明が解決しようとする課題】
【0008】
ワークの一例としてのウエハの加工時(たとえば、ダイシング時、裏面研削時、洗浄時、バックグラインドテープの剥離時等)には、帯電が生じることが知られている。帯電が生じると、バックグラインドテープ切断時に生じるカットダスト、環境に存在する微少な異物等が、ウエハ、またはワーク個片化物の一例としてのチップに付着しやすくなる。
【0009】
たとえば、裏面研削時にカットダストや異物がウエハに付着していると、裏面研削時の圧力が付着した異物等に集中し、異物等を起点としてウエハが破損することがある。特に、ウエハを薄く研削することを目的とするDBG、LDBGを行う場合には、わずかな圧力の集中によりウエハの破損が生じやすい。また、ウエハの厚みが薄くなると体積も少なくなり、それに伴って、ウエハに形成されている回路が受ける静電気による影響も大きくなり、静電破壊も起こりやすくなる。また、たとえば、ウエハからバックグラインドテープを剥離する際に生じる剥離帯電が過剰である場合、ウエハに形成されている回路の破壊につながるという問題がある。したがって、ウエハの加工時に生じる帯電を抑制する必要がある。
【0010】
このようなウエハの加工時に生じる帯電を抑制するために、バックグラインドテープに帯電防止層を設けることが行われている。特許文献3には、基材と帯電防止層と、導電性添加剤を含む粘着剤層とを有する粘着テープが開示されている。この粘着テープを用いて半導体ウエハの裏面を研削する際には、導電性添加剤を含む粘着剤層に半導体ウエハの回路面が固定される。裏面研削時および粘着テープの剥離時に発生する静電気は、導電性添加剤を含む粘着剤層を経由して外部に除去される。しかし、粘着テープを剥離する際に、粘着剤層に含まれる導電性添加剤が回路面に転着されることがある。回路面に導電性添加剤が付着すると、回路の短絡を招き、製品の歩留まりが低下する。
(【0011】以降は省略されています)
この特許をJ-PlatPat(特許庁公式サイト)で参照する
関連特許
リンテック株式会社
化粧シート
2日前
リンテック株式会社
ワーク加工用保護シートおよびワーク個片化物の製造方法
2日前
リンテック株式会社
ワーク加工用保護シートおよびワーク個片化物の製造方法
2日前
リンテック株式会社
ワーク加工用保護シートおよびワーク個片化物の製造方法
2日前
リンテック株式会社
半導体処理装置および半導体処理方法、並びに、半導体装置
2日前
日本化薬株式会社
インク
9日前
ベック株式会社
被膜形成方法
2か月前
株式会社日本触媒
インクセット
18日前
日本化薬株式会社
インク組成物
9日前
関西ペイント株式会社
塗料組成物
1か月前
シヤチハタ株式会社
油性インキ組成物
1か月前
東ソー株式会社
土木用注入薬液組成物
10日前
アイカ工業株式会社
光硬化型圧着組成物
1か月前
大日精化工業株式会社
顔料分散液
27日前
マクセル株式会社
粘着テープ
2か月前
東ソー株式会社
土質安定化注入薬液組成物
1か月前
東ソー株式会社
土質安定化注入薬液組成物
1か月前
ダイキン工業株式会社
組成物
1か月前
株式会社呉竹
絵具
2か月前
ダイキン工業株式会社
耐油剤
2か月前
東洋アルミニウム株式会社
複合顔料
9日前
ユニチカ株式会社
易接着フィルム、および積層体
1か月前
ダイキン工業株式会社
組成物
1か月前
ダイキン工業株式会社
耐油剤
2か月前
積水化学工業株式会社
仮固定粘着テープ
25日前
ニッタ・デュポン株式会社
研磨用組成物
1か月前
第一三共ヘルスケア株式会社
凍結抑制剤
1か月前
株式会社サンエー化研
表面保護フィルム
1か月前
ノリタケ株式会社
インクジェットインク
1か月前
リンテック株式会社
保護フィルム
1か月前
高圧ガス工業株式会社
接着剤組成物
4日前
デンカ株式会社
サイアロン蛍光体粉末の製造方法
1か月前
artience株式会社
グラビア又はフレキソインキ
25日前
藤倉化成株式会社
導電性塗料
10日前
曙ブレーキ工業株式会社
摩擦材
1か月前
サカタインクス株式会社
金属印刷用インキ組成物
3日前
続きを見る
他の特許を見る