TOP
|
特許
|
意匠
|
商標
特許ウォッチ
Twitter
他の特許を見る
公開番号
2025145290
公報種別
公開特許公報(A)
公開日
2025-10-03
出願番号
2024045390
出願日
2024-03-21
発明の名称
ワーク加工用保護シートおよびワーク個片化物の製造方法
出願人
リンテック株式会社
代理人
前田・鈴木国際特許弁理士法人
主分類
C09J
7/29 20180101AFI20250926BHJP(染料;ペイント;つや出し剤;天然樹脂;接着剤;他に分類されない組成物;他に分類されない材料の応用)
要約
【課題】ワーク等(すなわち、ワークまたはワーク個片化物群)の加工時に生じる帯電が十分に抑制され、かつ基材と軟質材との剥離が抑制されているワーク加工用保護シートを提供すること、および、当該ワーク加工用保護シートを用いたワーク個片化物の製造方法を提供すること。
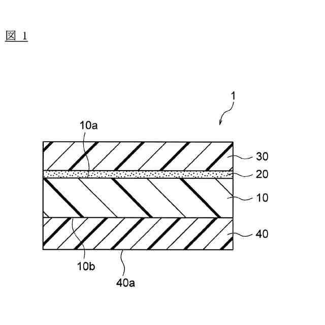
【解決手段】基材と粘着剤層とを有するワーク加工用保護シートであって、基材の一方の主面に、帯電防止剤を含む接着剤層と、基材より軟質な軟質材と、がこの順に配置され、基材と軟質材とが接着剤層により一体化されているワーク加工用保護シートである。基材の他方の主面に、粘着剤層が配置されていることが好ましい。
【選択図】図1
特許請求の範囲
【請求項1】
基材と粘着剤層とを有するワーク加工用保護シートであって、
前記基材の一方の主面に、帯電防止剤を含む接着剤層と、前記基材より軟質な軟質材と、がこの順に配置され、前記基材と前記軟質材とが前記接着剤層により一体化されているワーク加工用保護シート。
続きを表示(約 800 文字)
【請求項2】
前記基材の他方の主面に、前記粘着剤層が配置されている請求項1に記載のワーク加工用保護シート。
【請求項3】
前記ワーク加工用保護シートが貼付されたワークから、前記ワーク加工用保護シートを剥離した時の剥離帯電圧が500V以下である請求項1または2に記載のワーク加工用保護シート。
【請求項4】
前記接着剤層の厚さが1μm以上10μm以下である請求項1または2に記載のワーク加工用保護シート。
【請求項5】
前記軟質材の厚さが20μm以上70μm以下である請求項1または2に記載のワーク加工用保護シート。
【請求項6】
前記帯電防止剤が導電性高分子を含む請求項1または2に記載のワーク加工用保護シート。
【請求項7】
前記帯電防止剤がイオン液体を含む請求項1または2に記載のワーク加工用保護シート。
【請求項8】
表面に溝、または、内部に改質領域が形成されたワークの裏面を研削することによりワークをワーク個片化物に個片化する工程において、ワークの表面に貼付されて使用される請求項1または2に記載のワーク加工用保護シート。
【請求項9】
表面と、表面に対向する裏面と、を有するワークの表面に、請求項1または2に記載のワーク加工用保護シートを貼付する工程と、
前記ワークの表面に溝を形成する工程、または、前記ワークの内部に改質領域を形成する工程と、
前記ワーク加工用保護シートが表面に貼付され、かつ前記溝または前記改質領域が形成されたワークを裏面側から研削して、前記溝または前記改質領域を起点として、複数のワーク個片化物に個片化させる工程と、
前記複数のワーク個片化物から、前記ワーク加工用保護シートを剥離する工程と、を有するワーク個片化物の製造方法。
発明の詳細な説明
【技術分野】
【0001】
本発明は、ワーク加工用保護シートおよびワーク個片化物の製造方法に関する。特に、ワークの裏面研削を行い、その応力等でワークを個片化する方法に好適に使用されるワーク加工用保護シート、および、当該ワーク加工用保護シートを用いるワーク個片化物の製造方法に関する。
続きを表示(約 1,800 文字)
【背景技術】
【0002】
各種電子機器の小型化、多機能化が進む中、それらに搭載される半導体チップも同様に、小型化、薄型化が求められている。チップの薄型化のために、半導体ウエハの裏面を研削して厚さ調整を行うことが一般的である。また、薄型化されたチップを得るために、ウエハの表面側から所定深さの溝をダイシングブレードにより形成した後、ウエハ裏面側から研削を行い、研削によりウエハを個片化し、チップを得る先ダイシング法(DBG:Dicing Before Grinding)と呼ばれる工法を利用することもある。DBGでは、ウエハの裏面研削と、ウエハの個片化を同時に行うことができるので、薄型チップを効率よく製造できる。
【0003】
従来、半導体ウエハ等のワークの裏面研削時や、DBGによる半導体チップ等のワーク個片化物の製造時には、ワーク表面の回路を保護し、また、ワーク及び複数のワーク個片化物(すなわち、ワーク個片化物群)を保持するために、ワーク表面に、ワーク加工用保護シートとしてのバックグラインドテープを貼付するのが一般的である。
【0004】
バックグラインドテープの一例として、特許文献1および特許文献2には、ヤング率の高い基材を有し、基材の一方の面に緩衝層が設けられ、他方の面に粘着剤層が設けられた粘着テープが開示されている。
【0005】
近年、先ダイシング法の変形例として、レーザーでウエハ内部に改質領域を設け、ウエハ裏面研削時の応力等でウエハの個片化を行う方法が提案されている。以下、この方法をLDBG(Laser Dicing Before Grinding)と記載することがある。LDBGでは、ウエハは改質領域を起点として結晶方向に切断されるため、ダイシングブレードを用いた先ダイシング法よりもチッピングの発生を低減できる。また、ダイシングブレードによりウエハ表面に所定深さの溝を形成するDBGと比較して、ダイシングブレードによりウエハを削り取る領域がないため、つまり、カーフ幅が極小であるため、チップの収率に優れる。
【先行技術文献】
【特許文献】
【0006】
国際公開第2015/156389号
特開2015-183008号公報
【発明の概要】
【発明が解決しようとする課題】
【0007】
ワークの一例としてのウエハの加工時(たとえば、ダイシング時、裏面研削時、洗浄時、バックグラインドテープの剥離時等)には、帯電が生じることが知られている。帯電が生じると、バックグラインドテープ切断時に生じるカットダスト、環境に存在する微少な異物等がウエハ、またはワーク個片化物の一例としてのチップに付着しやすくなる。
【0008】
たとえば、裏面研削時にカットダストや異物がウエハに付着していると、裏面研削時の圧力が付着した異物等に集中し、異物等を起点としてウエハが破損することがある。特に、ウエハを薄く研削することを目的とするDBGを行う場合には、わずかな圧力の集中によりウエハの破損が生じやすい。また、たとえば、ウエハからバックグラインドテープを剥離する際に生じる剥離帯電が過剰である場合、ウエハに形成されている回路の破壊につながるという問題がある。したがって、ウエハの加工時に生じる帯電を抑制する必要がある。
【0009】
このようなウエハの加工時に生じる帯電を抑制するために、バックグラインドテープに帯電防止層を設けることが行われている。このような帯電防止層は、たとえば、基材において粘着剤層が形成されている面とは反対側の面に配置されることがある。
【0010】
ところで、DBGでは、特許文献1および2に記載されているような緩衝層が設けられた粘着テープを、バックグラインドテープとして用いることがある。緩衝層は、ウエハの裏面研削時に、ウエハがバックグラインドテープを介して吸着テーブルに固定される時に、吸着テーブルと接する層である。緩衝層は、通常、基材よりも軟質な材料で構成されており、吸着テーブルに異物等が付着していても、これらを埋め込むことで、異物等に起因するウエハのクラック等を抑制することができる。
(【0011】以降は省略されています)
特許ウォッチbot のツイートを見る
この特許をJ-PlatPat(特許庁公式サイト)で参照する
関連特許
リンテック株式会社
化粧シート
3日前
リンテック株式会社
リサイクル方法
5日前
リンテック株式会社
擬似接着ラベル
7日前
リンテック株式会社
ワーク加工用シート
5日前
リンテック株式会社
ワーク加工用粘着シート
5日前
リンテック株式会社
エキスパンドシート及びエキスパンド方法
5日前
リンテック株式会社
ブロッキング検知装置およびブロッキング検知方法
7日前
リンテック株式会社
ワーク加工用保護シートおよびワーク個片化物の製造方法
3日前
リンテック株式会社
ワーク加工用保護シートおよびワーク個片化物の製造方法
3日前
リンテック株式会社
ワーク加工用保護シートおよびワーク個片化物の製造方法
3日前
リンテック株式会社
マーキングフィルムおよびマーキングフィルムの製造方法
7日前
リンテック株式会社
半導体処理装置および半導体処理方法、並びに、半導体装置
3日前
リンテック株式会社
保護膜形成フィルム、及び保護膜付きワーク加工物の製造方法
4日前
リンテック株式会社
液状の硬化性組成物、硬化物、および、個片の硬化物の製造方法
7日前
ベック株式会社
被覆材
3か月前
日本化薬株式会社
インク
10日前
ベック株式会社
水性被覆材
3か月前
ベック株式会社
水性被覆材
3か月前
ベック株式会社
被膜形成方法
2か月前
日本化薬株式会社
インク組成物
10日前
株式会社日本触媒
インクセット
19日前
関西ペイント株式会社
塗料組成物
2か月前
株式会社リコー
インクセット
3か月前
ぺんてる株式会社
水性インキ組成物
3か月前
東ソー株式会社
ゴム用接着性改質剤
3か月前
artience株式会社
印刷インキ
3か月前
シヤチハタ株式会社
油性インキ組成物
1か月前
東亞合成株式会社
硬化型接着剤組成物
3か月前
東亞合成株式会社
硬化型接着剤組成物
3か月前
東ソー株式会社
土木用注入薬液組成物
11日前
AGC株式会社
液状組成物
2か月前
アイカ工業株式会社
光硬化型圧着組成物
1か月前
大日精化工業株式会社
顔料分散液
28日前
アイカ工業株式会社
ホットメルト組成物
3か月前
東ソー株式会社
土質安定化注入薬液組成物
1か月前
マクセル株式会社
粘着テープ
2か月前
続きを見る
他の特許を見る