TOP
|
特許
|
意匠
|
商標
特許ウォッチ
Twitter
他の特許を見る
公開番号
2025146025
公報種別
公開特許公報(A)
公開日
2025-10-03
出願番号
2024046589
出願日
2024-03-22
発明の名称
ワーク加工用保護シートおよびワーク個片化物の製造方法
出願人
リンテック株式会社
代理人
前田・鈴木国際特許弁理士法人
主分類
C09J
7/29 20180101AFI20250926BHJP(染料;ペイント;つや出し剤;天然樹脂;接着剤;他に分類されない組成物;他に分類されない材料の応用)
要約
【課題】 高バンプウエハに対しても確実に保護が可能であり、高い帯電防止性能を有するワーク加工用保護シートを提供する。
【解決手段】 本発明に係るワーク加工用保護シート1は、基材10と、粘着剤層30とを含み、DGB法またはLDBG法を模した条件でウエハを個片化し、シート1を剥離する際に測定される剥離帯電圧が150V以下であることを特徴としている。
【選択図】図1
特許請求の範囲
【請求項1】
基材と、粘着剤層とを含み、下記条件1または条件2で測定される剥離帯電圧が150V以下である、ワーク加工用保護シート:
(条件1)直径12インチ、厚み775μmであり、表面に高さ80μm、幅φ100μmのバンプを、ピッチ200μmで有するシリコンウエハに、表面側から深さ70μmの溝を格子サイズ10mm×10mmで形成し、
前記シリコンウエハの表面側にワーク加工用保護シートを貼付し、
厚さ50μmになるまで裏面研削を行い、シリコンウエハを10mm×10mmに個片化して複数のチップからなるチップ群をワーク加工用保護シート上に得て、
ワーク加工用保護シートの粘着剤層に照度220mW/cm
2
、光量380mJ/cm
2
で紫外線を照射し、
チップ群の研削面側にリンテック社製ダイシングテープ(商品名:Adwill D-485H)を貼付して、チップ群をダイシングシート上に固定し、
剥離速度600mm/分、温度40℃の条件でワーク加工用保護シートをチップ群から剥離しながら、チップ群とワーク加工用保護シートとの剥離界面から25mm離れた位置で、チップ群の上方25mmの空中に測定器を置き、電圧を測定し、剥離帯電圧値とする。
(条件2)直径12インチ、厚み775μmであり、表面に高さ80μm、幅φ100μmのバンプを、ピッチ200μmで有するシリコンウエハの表面側に、ワーク加工用保護シートを貼付し、
シリコンウエハ内部に、格子サイズ10mm×10mmで改質領域を形成し、
厚さ50μmになるまで裏面研削を行い、シリコンウエハを10mm×10mmに個片化して複数のチップからなるチップ群をワーク加工用保護シート上に得て、
ワーク加工用保護シートの粘着剤層に照度220mW/cm
2
、光量380mJ/cm
2
で紫外線を照射し、
チップ群の研削面側にリンテック社製ダイシングテープ(商品名:Adwill D-485H)を貼付して、チップ群をダイシングシート上に固定し、
剥離速度600mm/分、温度40℃の条件でワーク加工用保護シートをチップ群から剥離しながら、チップ群とワーク加工用保護シートとの剥離界面から25mm離れた位置で、チップ群の上方25mmの空中に測定器を置き、電圧を測定し、剥離帯電圧値とする。
続きを表示(約 850 文字)
【請求項2】
表面に溝、または、内部に改質領域が形成されたワークの裏面を研削することによりワークをワーク個片化物に個片化する工程において、ワークの表面に貼付されて使用される請求項1に記載のワーク加工用保護シート。
【請求項3】
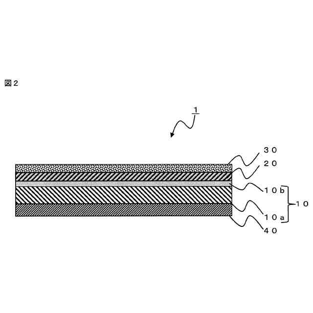
帯電防止性を有する基材と、前記基材上に配置された中間層と、前記中間層上に配置された粘着剤層とを有し、前記中間層は、帯電防止剤を含有する請求項1に記載のワーク加工用保護シート。
【請求項4】
前記基材は、支持材と、帯電防止剤含有コート層とを有し、
前記帯電防止剤含有コート層上に前記中間層が配置されてなる、請求項3に記載のワーク加工用保護シート。
【請求項5】
前記基材の中間層とは反対面側に緩衝層を有する、請求項3に記載のワーク加工用保護シート。
【請求項6】
前記粘着剤層においてワークに貼付される面と、前記基材の中間層側の表面との距離が50μm以上である請求項3に記載のワーク加工用保護シート。
【請求項7】
前記中間層は、アクリル系重合体を含む、請求項3に記載のワーク加工用保護シート。
【請求項8】
表裏面を有するワークの表面に、請求項1~7の何れか一項に記載のワーク加工用保護シートを貼付する工程と、
前記ワークの表面に溝を形成する工程、または、前記ワークの内部に改質領域を形成する工程と、
前記ワーク加工用保護シートが表面に貼付され、かつ前記溝または前記改質領域が形成されたワークを裏面側から研削して、前記溝または前記改質領域を起点として、複数のワーク個片化物に個片化させる工程と、
前記複数のワーク個片化物から、前記ワーク加工用保護シートを剥離する工程と、を有するワーク個片化物の製造方法。
【請求項9】
前記ワークは、表面に高低差20μm以上の凹凸構造を有する、請求項8に記載のワーク個片化物の製造方法。
発明の詳細な説明
【技術分野】
【0001】
本発明は、ワーク加工用保護シートおよびワーク個片化物の製造方法に関する。特に、ワークの裏面研削を行い、その応力等でワークを個片化する方法に好適に使用されるワーク加工用保護シート、および、当該ワーク加工用保護シートを用いるワーク個片化物の製造方法に関する。
続きを表示(約 1,900 文字)
【背景技術】
【0002】
各種電子機器の小型化、多機能化が進む中、それらに搭載される半導体チップも同様に、小型化、薄型化が求められている。チップの薄型化のために、半導体ウエハの裏面を研削して厚さ調整を行うことが一般的である。また、薄型化されたチップを得るために、ウエハの表面側から所定深さの溝をダイシングブレードにより形成した後、ウエハ裏面側から研削を行い、研削によりウエハを個片化し、チップを得る先ダイシング法(DBG:Dicing Before Grinding)と呼ばれる工法を利用することもある。DBGでは、ウエハの裏面研削と、ウエハの個片化を同時に行うことができるので、薄型チップを効率よく製造できる。
【0003】
従来、半導体ウエハ等のワークの裏面研削時や、DBGによる半導体チップ等のワーク個片化物の製造時には、ワーク表面の回路を保護し、また、ワーク及び複数のワーク個片化物(すなわち、ワーク個片化物群)を保持するために、ワーク表面に、少なくとも基材と粘着剤層とから構成される、ワーク加工用保護シートとしてのバックグラインドテープを貼付するのが一般的である。
【0004】
バックグラインドテープの一例として、特許文献1および特許文献2には、ヤング率の高い基材と、基材の一方の面に緩衝層が設けられ、他方の面に粘着剤層が設けられた粘着テープが開示されている。
【0005】
近年、先ダイシング法の変形例として、レーザーでウエハ内部に改質領域を設け、ウエハ裏面研削時の応力等でウエハの個片化を行う方法が提案されている。以下、この方法をLDBG(Laser Dicing Before Grinding)と記載することがある。LDBGでは、ウエハは改質領域を起点として結晶方向に切断されるため、ダイシングブレードを用いた先ダイシング法よりもチッピングの発生を低減できる。また、ダイシングブレードによりウエハ表面に所定深さの溝を形成するDBGと比較して、ダイシングブレードによりウエハを削り取る領域がないため、つまり、カーフ幅が極小であるため、チップの収率に優れる。
【0006】
一方、MPUやゲートアレー等に用いる多ピンのLSIパッケージをプリント配線基板に実装する場合には、半導体チップとして、その接続パッド部に共晶ハンダ、高温ハンダ、金等からなる凸状電極(バンプ)が形成されたものを用い、所謂フェースダウン方式により、それらのバンプをチップ搭載用基板上の相対応する端子部に対面、接触させ、溶融/拡散接合するフリップチップ実装方法が採用されてきた。
【先行技術文献】
【特許文献】
【0007】
国際公開第2015/156389号
特開2015-183008号公報
国際公開第2018/021145号
国際公開第2017/011134号
【発明の概要】
【発明が解決しようとする課題】
【0008】
ワークの一例としてのウエハの加工時(たとえば、ダイシング時、裏面研削時、洗浄時、バックグラインドテープの剥離時等)には、帯電が生じることが知られている。帯電が生じると、バックグラインドテープ切断時に生じるカットダスト、環境に存在する微少な異物等が、ウエハ、またはワーク個片化物の一例としてのチップに付着しやすくなる。
【0009】
たとえば、裏面研削時にカットダストや異物がウエハに付着していると、裏面研削時の圧力が付着した異物等に集中し、異物等を起点としてウエハが破損することがある。特に、ウエハを薄く研削することを目的とするDBG、LDBGを行う場合には、わずかな圧力の集中によりウエハの破損が生じやすい。また、たとえば、ウエハからバックグラインドテープを剥離する際に生じる剥離帯電が過剰である場合、ウエハに形成されている回路の破壊につながるという問題がある。したがって、ウエハの加工時に生じる帯電を抑制する必要がある。
【0010】
このようなウエハの加工時に生じる帯電を抑制するために、バックグラインドテープに帯電防止層を設けることが行われている。特許文献3には、基材と帯電防止層と、導電性添加剤を含む粘着剤層とを有する粘着テープが開示されている。この粘着テープを用いて半導体ウエハの裏面を研削する際には、導電性添加剤を含む粘着剤層に半導体ウエハの回路面が固定される。裏面研削時および粘着テープの剥離時に発生する静電気は、導電性添加剤を含む粘着剤層を経由して外部に除去される。
(【0011】以降は省略されています)
この特許をJ-PlatPat(特許庁公式サイト)で参照する
関連特許
リンテック株式会社
化粧シート
5日前
リンテック株式会社
検知装置および検知方法
1日前
リンテック株式会社
ワーク加工用テープおよび積層体の製造方法
1日前
リンテック株式会社
ワーク加工用テープおよび積層体の製造方法
1日前
リンテック株式会社
塗装代替フィルムおよび物品を解体する方法
1日前
リンテック株式会社
ワーク加工用シートおよび加工済みワークの製造方法
今日
リンテック株式会社
ワーク加工用シートおよび加工済みワークの製造方法
1日前
リンテック株式会社
ワーク加工用保護シートおよびワーク個片化物の製造方法
5日前
リンテック株式会社
ワーク加工用保護シートおよびワーク個片化物の製造方法
5日前
リンテック株式会社
ワーク加工用保護シートおよびワーク個片化物の製造方法
5日前
リンテック株式会社
半導体処理装置および半導体処理方法、並びに、半導体装置
5日前
リンテック株式会社
保護膜形成フィルム、及び保護膜付きワーク加工物の製造方法
6日前
リンテック株式会社
ワーク加工用粘着シート及びワーク加工用粘着シートの使用方法
今日
リンテック株式会社
保護膜形成フィルムおよび保護膜付きワーク個片化物の製造方法
1日前
リンテック株式会社
フィルム状接着剤、フィルム状接着剤複合シート、及びフィルム状接着剤付き半導体チップの製造方法
今日
リンテック株式会社
硬化性組成物、硬化物、及び、硬化性組成物の使用方法
1日前
ベック株式会社
被覆材
3か月前
日本化薬株式会社
インク
12日前
ベック株式会社
水性被覆材
今日
ベック株式会社
被膜形成方法
2か月前
ベック株式会社
被膜形成方法
1日前
日本化薬株式会社
インク組成物
12日前
株式会社日本触媒
インクセット
21日前
関西ペイント株式会社
塗料組成物
2か月前
ぺんてる株式会社
水性インキ組成物
3か月前
東ソー株式会社
ゴム用接着性改質剤
3か月前
株式会社リコー
インクセット
3か月前
シヤチハタ株式会社
油性インキ組成物
1か月前
東ソー株式会社
土木用注入薬液組成物
13日前
東亞合成株式会社
硬化型接着剤組成物
3か月前
日澱化學株式会社
ホットメルト接着剤
今日
東亞合成株式会社
硬化型接着剤組成物
3か月前
アイカ工業株式会社
光硬化型圧着組成物
1か月前
大日精化工業株式会社
顔料分散液
1か月前
アイカ工業株式会社
ホットメルト組成物
1日前
AGC株式会社
液状組成物
2か月前
続きを見る
他の特許を見る