TOP
|
特許
|
意匠
|
商標
特許ウォッチ
Twitter
他の特許を見る
公開番号
2025145875
公報種別
公開特許公報(A)
公開日
2025-10-03
出願番号
2024046350
出願日
2024-03-22
発明の名称
排水構造
出願人
古河電気工業株式会社
,
古河AS株式会社
代理人
個人
主分類
H02G
3/14 20060101AFI20250926BHJP(電力の発電,変換,配電)
要約
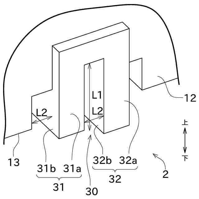
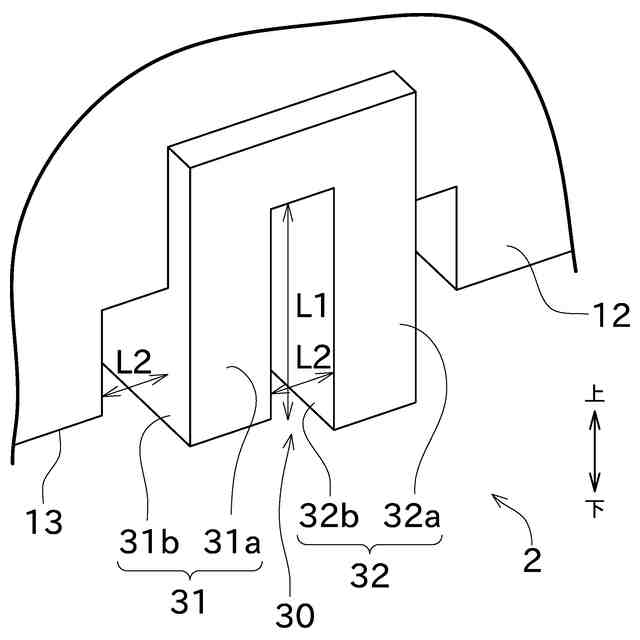
【課題】排水口と外部との境界で発生する表面張力を弱めることにより排水性が高い排水構造を提供する。
【解決手段】排水構造2は、車両に設置されるとともに電気電子部品を収容するための内部空間が形成される箱状体についての構造である。箱状体には、排水孔30と、第1排水補助壁31と、第2排水補助壁32と、が形成されている。排水孔30は、内部空間に浸入した水を排水する。第1排水補助壁31及び第2排水補助壁32は、排水孔30が分割されるように仕切るとともに、排水孔30の縁部と比較して外側に突出する。
【選択図】図3
特許請求の範囲
【請求項1】
車両に設置されるとともに電気電子部品を収容するための内部空間が形成される箱状体についての排水構造であって、
前記箱状体には、
前記内部空間に浸入した水を排水する排水孔と、
前記排水孔が分割されるように仕切るとともに、当該排水孔の縁部と比較して外側に突出する排水補助壁と、
が形成されていることを特徴とする排水構造。
続きを表示(約 920 文字)
【請求項2】
請求項1に記載の排水構造であって、
前記箱状体には、前記排水補助壁としての第1排水補助壁と第2排水補助壁が形成されており、
前記第1排水補助壁と前記第2排水補助壁とは、外側への突出長さが異なることを特徴とする排水構造。
【請求項3】
請求項1に記載の排水構造であって、
前記排水孔は、車両に設置した状態において前記箱状体の下面を含む部分に形成されていることを特徴とする排水構造。
【請求項4】
請求項1に記載の排水構造であって、
前記排水孔を前記排水補助壁で仕切って形成される複数の孔は、何れも、前記排水補助壁の長手方向に沿う方向の第1長さと、開口面において前記排水補助壁の長手方向に垂直な方向の第2開口長さと、の少なくとも一方が1mm未満であることを特徴とする排水構造。
【請求項5】
請求項1に記載の排水構造であって、
前記箱状体は直方体状であり、
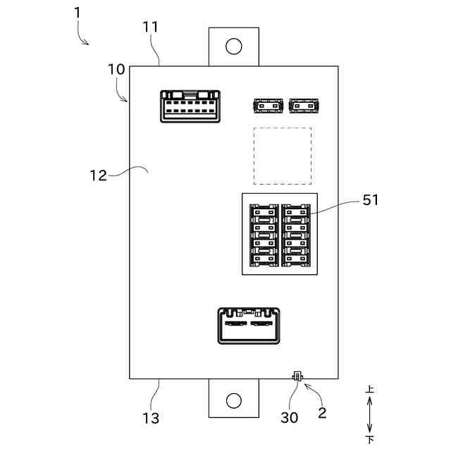
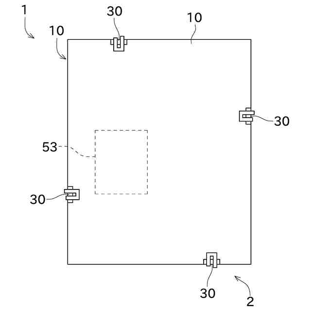
最も大きな面に垂直な方向で前記箱状体を見たときに、長方形の4辺に相当する位置に、少なくとも1つずつの前記排水孔が形成されていることを特徴とする排水構造。
【請求項6】
請求項1に記載の排水構造であって、
電気接続箱に適用されることを特徴とする排水構造。
【請求項7】
請求項4に記載の排水構造であって、
前記箱状体には、前記電気電子部品の1つとしてのECUが収容されることを特徴とする排水構造。
【請求項8】
請求項1に記載の排水構造であって、
前記排水補助壁は、前記箱状体から離れるに連れて幅が狭くなる先細部を含むことを特徴とする排水構造。
【請求項9】
請求項1に記載の排水構造であって、
前記箱状体は直方体状であり、
前記排水孔は、前記箱状体の第1面と第2面に跨るように形成されており、
前記排水補助壁は、前記第1面から垂直な方向に外側に突出する第1部分と、前記第2面から垂直な方向に外側に突出する第2部分と、を含むことを特徴とする排水構造。
発明の詳細な説明
【技術分野】
【0001】
本発明は、主として、電気電子部品が収容される箱状体の排水構造に関する。
続きを表示(約 1,400 文字)
【背景技術】
【0002】
特許文献1は、電気接続箱の排水構造を開示する。電気接続箱の底壁には、排水口と、排水口を通った水を外部に排水する経路である排水部と、が形成されている。また、排水口の内壁面には突起部が形成されている。突起部は、下り勾配に傾斜した傾斜面を有する。排水口を通る水は突起部の傾斜面により、排水部に案内される。また、突起部は、排水部から電気接続箱の内部に向かう水を止める機能も有する。
【0003】
特許文献2は、電気接続箱の排水構造を開示する。電気接続箱の底部には、水抜き孔が形成されている。水抜き孔の近傍には、空間が形成されており、この空間には傾斜壁が形成されている。空間内で傾斜壁を突出させることにより、水抜き孔内の水の表面張力が弱められるので、水の排出性能を向上させることができる。
【先行技術文献】
【特許文献】
【0004】
特許第4593320号公報
特許第4002801号公報
【発明の概要】
【発明が解決しようとする課題】
【0005】
特許文献1の排水構造では、排水部の下流端において、排水を妨げる表面張力が発生する可能性がある。この場合、排水性が低下する。特許文献2には、水抜き孔内の表面張力を弱める構成は開示されているが、水抜き孔と外部との境界で発生する表面張力を弱める構成は開示されていない。そのため、水抜き孔と外部との境界で発生した表面張力により、排水性が低下する可能性がある。以上により、従来の排水構造は排水性の観点で改善の余地があった。また、この種の課題は、電気接続箱に限られず、排水が必要な箱状体に共通する課題である。
【0006】
本発明は以上の事情に鑑みてされたものであり、その主要な目的は、排水口と外部との境界で発生する表面張力を弱めることにより排水性が高い排水構造を提供することにある。
【発明の概要】
課題を解決するための手段及び効果
【0007】
本発明の解決しようとする課題は以上の如くであり、次にこの課題を解決するための手段とその効果を説明する。
【0008】
本発明の観点によれば、以下の構成の排水構造が提供される。即ち、排水構造は、車両に設置されるとともに電気電子部品を収容するための内部空間が形成される箱状体についての構造である。前記箱状体には、排水孔と、排水補助壁と、が形成されている。前記排水孔は、前記内部空間に浸入した水を排水する。前記排水補助壁は、前記排水孔が分割されるように仕切るとともに、当該排水孔の縁部と比較して外側に突出する。
【0009】
これにより、排水補助壁が排水孔の縁部よりも外側に突出するため、水の流れが乱れることで、排水孔の周囲において排水を妨げる表面張力が発生しにくくなる。また、水が排水補助壁に沿って流れる際に、表面が分割されることにより、表面張力が分散されるため、全体としての表面張力が低下する。その結果、排水孔の大型化を抑制しつつ、排水性を高めることができる。
【0010】
前記の排水構造においては、以下の構成とすることが好ましい。即ち、前記箱状体には、前記排水補助壁としての第1排水補助壁と第2排水補助壁が形成されている。前記第1排水補助壁と前記第2排水補助壁とは、外側への突出長さが異なる。
(【0011】以降は省略されています)
この特許をJ-PlatPat(特許庁公式サイト)で参照する
関連特許
古河電気工業株式会社
回路基板
1日前
古河電気工業株式会社
回路基板
1日前
古河電気工業株式会社
排水構造
4日前
古河電気工業株式会社
回路基板
4日前
古河電気工業株式会社
電気接続箱
4日前
古河電気工業株式会社
複合ケーブル
4日前
古河電気工業株式会社
バッテリーポスト端子組立体
4日前
古河電気工業株式会社
マルチコアファイバおよびマルチコアファイバの製造方法
4日前
古河電気工業株式会社
ケーブルコネクタ組立体及びケーブルコネクタ組立体を用いた回転コネクタ装置
4日前
古河AS株式会社
電線用外装体の蓋体、電線用外装体及び外装体付きワイヤーハーネス
4日前
個人
電源装置
19日前
個人
バッテリ内蔵直流電源
18日前
株式会社FUJI
制御盤
8日前
オムロン株式会社
電源回路
12日前
オムロン株式会社
電源回路
12日前
西部電機株式会社
充電装置
今日
西部電機株式会社
充電装置
今日
日本精機株式会社
サージ保護回路
今日
オムロン株式会社
電源回路
12日前
トヨタ自動車株式会社
回転子
19日前
ニデック株式会社
モータの制御方法
26日前
トヨタ自動車株式会社
回転子
4日前
日産自動車株式会社
電子機器
29日前
個人
連続ガウス加速器形磁力増幅装置
今日
大豊工業株式会社
モータ
18日前
ミサワホーム株式会社
居住設備
8日前
井関農機株式会社
充電システム
29日前
トヨタ自動車株式会社
溶接装置
1か月前
東京応化工業株式会社
発電装置
12日前
株式会社リコー
拡張アンテナ装置
11日前
富士電子工業株式会社
電力変換装置
20日前
トヨタ自動車株式会社
ロータ
6日前
日産自動車株式会社
ステータ
5日前
ユタカ電業株式会社
ケーブルダクト
8日前
ニチコン株式会社
AC入力検出回路
4日前
NTN株式会社
モータユニット
8日前
続きを見る
他の特許を見る