TOP
|
特許
|
意匠
|
商標
特許ウォッチ
Twitter
他の特許を見る
10個以上の画像は省略されています。
公開番号
2025146132
公報種別
公開特許公報(A)
公開日
2025-10-03
出願番号
2024046756
出願日
2024-03-22
発明の名称
ケーブルコネクタ組立体及びケーブルコネクタ組立体を用いた回転コネクタ装置
出願人
古河電気工業株式会社
,
古河AS株式会社
代理人
個人
主分類
H01R
35/04 20060101AFI20250926BHJP(基本的電気素子)
要約
【課題】簡易な構造にて、第1及び第2フラットケーブル間での短絡を防止するケーブルコネクタ組立体、ケーブルコネクタ組立体を用いた回転コネクタ装置を提供する。
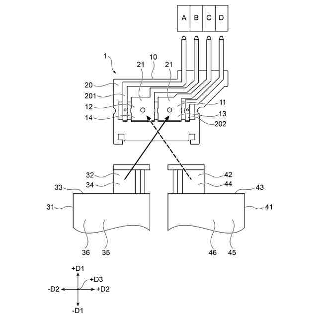
【解決手段】第1及び第2バスバーと、電気絶縁性を有し、第1及び第2バスバーを部分的に覆うコネクタ本体と、を有し、第1及び第2バスバーが、コネクタ本体からの露出部である第1及び第2接続部を有する、ケーブルコネクタであって、第1及び第2接続部が、コネクタ本体の第1及び第2の方向に露出する第1面及び第2面と、を有する、ケーブルコネクタと、第1及び第2導体露出部が第1及び第3ケーブル端部から伸延している第1及び第3フラットケーブルと、を備えたケーブルコネクタ組立体であり、第1導体露出部が、第1接続部の第1面に電気的に接続され、第2導体露出部が、第1接続部の第2面または第2接続部の第2面に電気的に接続されているケーブルコネクタ組立体。
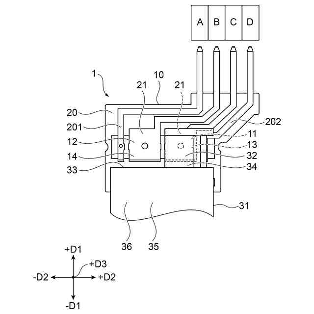
【選択図】図2
特許請求の範囲
【請求項1】
導電性を有する第1バスバーと、前記第1バスバーとは異なる、導電性を有する第2バスバーと、電気絶縁性を有し、前記第1バスバーと前記第2バスバーを部分的に覆うコネクタ本体と、を有し、前記第1バスバーが、前記コネクタ本体からの前記第1バスバーの露出部である第1接続部を有し、前記第2バスバーが、前記コネクタ本体からの前記第2バスバーの露出部である第2接続部を有する、ケーブルコネクタであって、前記第1接続部及び前記第2接続部が、前記コネクタ本体の第1の方向に露出する第1面と、前記コネクタ本体の前記第1の方向に対向した第2の方向に露出する第2面と、を有する、ケーブルコネクタと、
第1導体露出部を有し、前記第1導体露出部が第1ケーブル端部から伸延している第1フラットケーブルと、
第2導体露出部を有し、前記第2導体露出部が第2ケーブル端部から伸延している第2フラットケーブルと、
を備えたケーブルコネクタ組立体であり、
前記第1導体露出部が、前記第1接続部の前記第1面に電気的に接続され、前記第2導体露出部が、前記第1接続部の前記第2面または前記第2接続部の前記第2面に電気的に接続されているケーブルコネクタ組立体。
続きを表示(約 860 文字)
【請求項2】
前記第1導体露出部が、前記第1接続部の前記第1面に電気的に接続され、前記第2導体露出部が、前記第2接続部の前記第2面に電気的に接続されている請求項1に記載のケーブルコネクタ組立体。
【請求項3】
前記第1接続部と前記第2接続部が、前記第1導体露出部と前記第2導体露出部の幅方向に所定間隔をあけて配置されている請求項1または2に記載のケーブルコネクタ組立体。
【請求項4】
前記第1導体露出部が、前記第1フラットケーブルの幅方向に幅狭に形成された幅狭部である請求項1または2に記載のケーブルコネクタ組立体。
【請求項5】
前記第2導体露出部が、前記第2フラットケーブルの幅方向に幅狭に形成された幅狭部である請求項1または2に記載のケーブルコネクタ組立体。
【請求項6】
前記第1接続部と前記第2接続部が、並列に配置されている請求項1または2に記載のケーブルコネクタ組立体。
【請求項7】
前記コネクタ本体が、前記第1ケーブル端部及び前記第2ケーブル端部を位置決めするための位置決め部を有する請求項1または2に記載のケーブルコネクタ組立体。
【請求項8】
前記第1フラットケーブルは、第1導体が第1絶縁被覆で被覆された第1絶縁部を有し、前記第1絶縁部が、前記第1ケーブル端部から、前記第1導体露出部から離れる方向へ向かって伸延しており、
前記第2フラットケーブルは、第2導体が第2絶縁被覆で被覆された第2絶縁部を有し、前記第2絶縁部が、前記第2ケーブル端部から、前記第2導体露出部から離れる方向へ向かって伸延している請求項1または2に記載のケーブルコネクタ組立体。
【請求項9】
前記第1絶縁部が前記第2絶縁部と重ねられた絶縁部重ね部を有する請求項8に記載のケーブルコネクタ組立体。
【請求項10】
請求項1または2に記載のケーブルコネクタ組立体を用いた回転コネクタ装置。
発明の詳細な説明
【技術分野】
【0001】
本発明は、部材間で電気信号、電力等を電送するケーブルコネクタ組立体及びケーブルコネクタ組立体を用いた回転コネクタに関する。
続きを表示(約 3,600 文字)
【背景技術】
【0002】
フラットケーブルは、大電流を流すことができるものの、幅広なケーブルであるため、特に、複数のフラットケーブルを使用すると、フラットケーブルを接続する接続部が大型化してしまうという問題がある。
【0003】
そこで、フラットケーブルを接続する接続部が大型化してしまうことを防止するために、第1フラットケーブル及び第2フラットケーブルが、その長手方向の端部を幅方向の片側が切除されて残余の幅狭部に帯状導体を露出させた形状であり、第1フラットケーブルの帯状導体及び第2フラットケーブルの帯状導体が絶縁性基体に設けられた一対の接続端子に個別に同一平面上に接続され、第1フラットケーブル及び第2フラットケーブル同士がいずれか一方の幅狭部を他方の切除部に配置させた位置関係で上下に重ね合わせ、かつ、下側となるフラットケーブルの切除部に隣接する箇所に折り返し端部が形成され、この折り返し端部が絶縁性基体に設けたスリット部に挿入されているケーブルコネクタ組立体が提案されている(特許文献1)。
【0004】
しかし、特許文献1のケーブルコネクタ組立体では、一対の接続端子に同一平面上に接続された第1フラットケーブルの帯状導体と第2フラットケーブルの帯状導体は重なり合わないように配置されてはいるものの、第1フラットケーブルの切除部には第1フラットケーブルの帯状導体の端面が露出し、第2フラットケーブルの切除部には第2フラットケーブルの帯状導体の端面が露出している。従って、第1フラットケーブル及び第2フラットケーブル同士がいずれか一方の幅狭部を他方の切除部に配置させた位置関係で上下に重ね合わせた特許文献1の構造では、例えば、下側に配置される第1フラットケーブルの帯状導体と上側に配置される第2フラットケーブルの切除部にて露出した帯状導体の端面とが、第2フラットケーブルの絶縁被覆を介して上下方向に重なり合うこととなる。
【0005】
このように、第1フラットケーブルの帯状導体及び第2フラットケーブルの帯状導体が一対の接続端子に同一平面上に接続され、第1フラットケーブルの帯状導体と第2フラットケーブルの切除部にて露出した第2フラットケーブルの帯状導体の端面とがフラットケーブルの厚み方向に重なり合うと、第1フラットケーブルの帯状導体と第2フラットケーブルの帯状導体の端面とが近接することになるので、帯状導体の端面の状態や水滴の付着等によって、第1フラットケーブルと第2フラットケーブル間で短絡する可能性がある。
【0006】
また、特許文献1のケーブルコネクタ組立体では、第1フラットケーブルと第2フラットケーブル間で短絡を防止するために、下側に配置される第1フラットケーブルに折り返し端部を設け、絶縁性基体に設けたスリット部に折り返し端部を挿入する必要があるので、ケーブルコネクタ組立体の構造が複雑化するという問題がある。
【先行技術文献】
【特許文献】
【0007】
特開2013-219007号公報
【発明の概要】
【発明が解決しようとする課題】
【0008】
上記事情に鑑み、本発明は、簡易な構造にて、幅広な導体を有する第1フラットケーブルと幅広な導体を有する第2フラットケーブル間での絶縁性の確保を容易化でき、第1フラットケーブルと第2フラットケーブル間での短絡を防止することができるケーブルコネクタ組立体、前記ケーブルコネクタ組立体を用いた回転コネクタ装置を提供することを目的とする。
【課題を解決するための手段】
【0009】
本発明の構成の要旨は、以下の通りである。
[1]導電性を有する第1バスバーと、前記第1バスバーとは異なる、導電性を有する第2バスバーと、電気絶縁性を有し、前記第1バスバーと前記第2バスバーを部分的に覆うコネクタ本体と、を有し、前記第1バスバーが、前記コネクタ本体からの前記第1バスバーの露出部である第1接続部を有し、前記第2バスバーが、前記コネクタ本体からの前記第2バスバーの露出部である第2接続部を有する、ケーブルコネクタであって、前記第1接続部及び前記第2接続部が、前記コネクタ本体の第1の方向に露出する第1面と、前記コネクタ本体の前記第1の方向に対向した第2の方向に露出する第2面と、を有する、ケーブルコネクタと、
第1導体露出部を有し、前記第1導体露出部が第1ケーブル端部から伸延している第1フラットケーブルと、
第2導体露出部を有し、前記第2導体露出部が第2ケーブル端部から伸延している第2フラットケーブルと、
を備えたケーブルコネクタ組立体であり、
前記第1導体露出部が、前記第1接続部の前記第1面に電気的に接続され、前記第2導体露出部が、前記第1接続部の前記第2面または前記第2接続部の前記第2面に電気的に接続されているケーブルコネクタ組立体。
[2]前記第1導体露出部が、前記第1接続部の前記第1面に電気的に接続され、前記第2導体露出部が、前記第2接続部の前記第2面に電気的に接続されている[1]に記載のケーブルコネクタ組立体。
[3]前記第1接続部と前記第2接続部が、前記第1導体露出部と前記第2導体露出部の幅方向に所定間隔をあけて配置されている[1]または[2]に記載のケーブルコネクタ組立体。
[4]前記第1導体露出部が、前記第1フラットケーブルの幅方向に幅狭に形成された幅狭部である[1]または[2]に記載のケーブルコネクタ組立体。
[5]前記第2導体露出部が、前記第2フラットケーブルの幅方向に幅狭に形成された幅狭部である[1]または[2]に記載のケーブルコネクタ組立体。
[6]前記第1接続部と前記第2接続部が、並列に配置されている[1]または[2]に記載のケーブルコネクタ組立体。
[7]前記コネクタ本体が、前記第1ケーブル端部及び前記第2ケーブル端部を位置決めするための位置決め部を有する[1]または[2]に記載のケーブルコネクタ組立体。
[8]前記第1フラットケーブルは、第1導体が第1絶縁被覆で被覆された第1絶縁部を有し、前記第1絶縁部が、前記第1ケーブル端部から、前記第1導体露出部から離れる方向へ向かって伸延しており、
前記第2フラットケーブルは、第2導体が第2絶縁被覆で被覆された第2絶縁部を有し、前記第2絶縁部が、前記第2ケーブル端部から、前記第2導体露出部から離れる方向へ向かって伸延している[1]または[2]に記載のケーブルコネクタ組立体。
[9]前記第1絶縁部が前記第2絶縁部と重ねられた絶縁部重ね部を有する[8]に記載のケーブルコネクタ組立体。
[10][1]または[2]に記載のケーブルコネクタ組立体を用いた回転コネクタ装置。
【発明の効果】
【0010】
本発明のケーブルコネクタ組立体の態様によれば、ケーブルコネクタの第1接続部及び第2接続部が、コネクタ本体の第1の方向に露出する第1面と、前記コネクタ本体の第1の方向に対向した第2の方向に露出する第2面と、を有する、ケーブルコネクタと、第1導体露出部を有する第1フラットケーブルと、第2導体露出部を有する第2フラットケーブルと、を備えたケーブルコネクタ組立体であり、前記第1導体露出部が、前記第1接続部の前記第1面に電気的に接続され、前記第2導体露出部が、前記第1接続部の前記第2面または前記第2接続部の前記第2面に電気的に接続されていることにより、第1フラットケーブルと第2フラットケーブル間での絶縁性の確保を容易化でき、第1フラットケーブルと第2フラットケーブル間での短絡を防止することができる。特に、前記第1導体露出部が前記第1接続部の前記第1面に電気的に接続され、前記第2導体露出部が前記第1接続部の前記第2面または前記第2接続部の前記第2面に電気的に接続されていることにより、第1導体露出部が接続される第1面と第2導体露出部が接続される第2面は同一平面上に位置しないので、第1導体露出部の端部と第2導体露出部の端部とが接触することによる短絡を防止できる。また、本発明のケーブルコネクタ組立体の態様によれば、第1接続部に電気的に接続された第1導体露出部と第2接続部に電気的に接続された第2導体露出部の近接を防止するにあたり、フラットケーブルに折り返し端部を設け、絶縁性基体に設けたスリット部に折り返し端部を挿入する等の複雑な構造を必要としないので、簡易な構造にて第1フラットケーブルと第2フラットケーブル間での短絡を防止することができる。
(【0011】以降は省略されています)
この特許をJ-PlatPat(特許庁公式サイト)で参照する
関連特許
古河電気工業株式会社
回路基板
今日
古河電気工業株式会社
回路基板
3日前
古河電気工業株式会社
多層基板
17日前
古河電気工業株式会社
排水構造
3日前
古河電気工業株式会社
回路基板
今日
古河電気工業株式会社
電気接続箱
3日前
古河電気工業株式会社
固定構造体
4日前
古河電気工業株式会社
電源システム
19日前
古河電気工業株式会社
複合ケーブル
3日前
古河電気工業株式会社
架橋樹脂発泡体
7日前
古河電気工業株式会社
通信用ケーブル
7日前
古河電気工業株式会社
通信用ケーブル
17日前
古河電気工業株式会社
バッテリーポスト端子組立体
3日前
古河電気工業株式会社
端子カバー構造及び電気接続箱
4日前
古河電池株式会社
双極型蓄電池
11日前
古河電気工業株式会社
検出装置、検出方法及びプログラム
4日前
個人
RoFネットワークシステム
18日前
古河電気工業株式会社
プログラム、無線通信システム及び通信方法
7日前
古河電気工業株式会社
センサユニット、電力ケーブル及び測定システム
4日前
古河電気工業株式会社
マルチコアファイバおよびマルチコアファイバの製造方法
3日前
古河電気工業株式会社
バンドル構造、バンドル構造とマルチコアファイバの光接続構造及び光接続方法
10日前
古河電気工業株式会社
ケーブルコネクタ組立体及びケーブルコネクタ組立体を用いた回転コネクタ装置
3日前
古河AS株式会社
電線用外装体の蓋体、電線用外装体及び外装体付きワイヤーハーネス
3日前
古河電気工業株式会社
液状シラングラフトオレフィン組成物及びそのシラン架橋硬化物、並びにこれらの製造方法
17日前
個人
安全なNAS電池
1か月前
日本発條株式会社
積層体
7日前
個人
フリー型プラグ安全カバー
1か月前
東レ株式会社
多孔質炭素シート
26日前
ローム株式会社
半導体装置
5日前
ローム株式会社
半導体装置
5日前
ローム株式会社
半導体装置
5日前
エイブリック株式会社
半導体装置
28日前
エイブリック株式会社
半導体装置
28日前
キヤノン株式会社
電子機器
26日前
個人
防雪防塵カバー
7日前
ローム株式会社
半導体装置
3日前
続きを見る
他の特許を見る