TOP
|
特許
|
意匠
|
商標
特許ウォッチ
Twitter
他の特許を見る
10個以上の画像は省略されています。
公開番号
2025145148
公報種別
公開特許公報(A)
公開日
2025-10-03
出願番号
2024045178
出願日
2024-03-21
発明の名称
バッテリーポスト端子組立体
出願人
古河電気工業株式会社
,
古河AS株式会社
代理人
個人
主分類
H01M
50/543 20210101AFI20250926BHJP(基本的電気素子)
要約
【課題】バッテリーポスト端子が必要以上に変形することを抑制する。
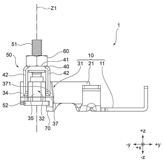
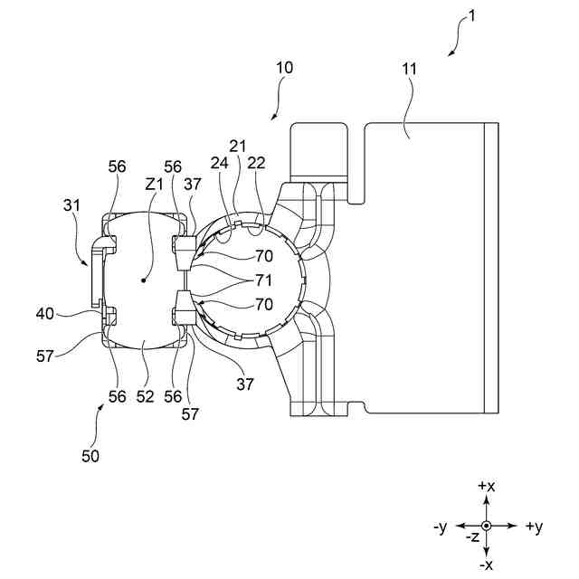
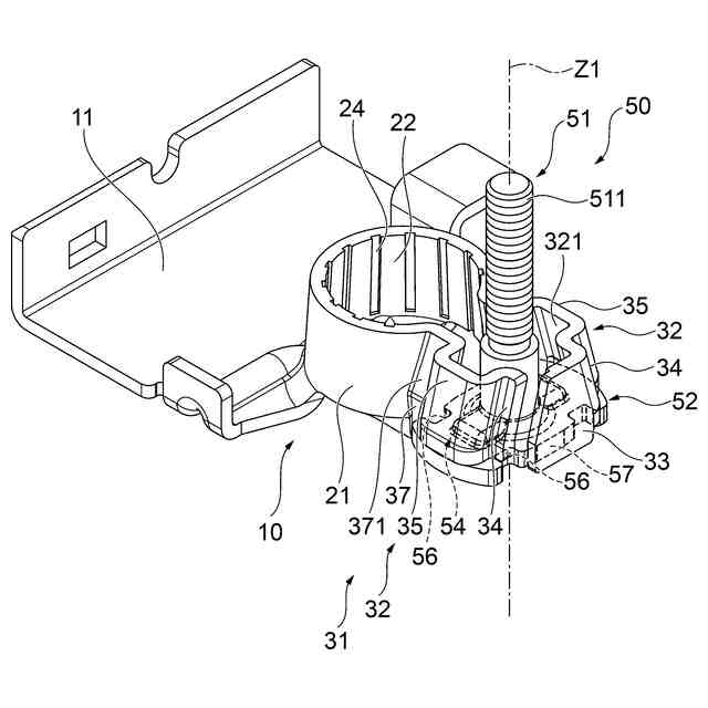
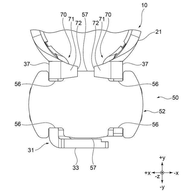
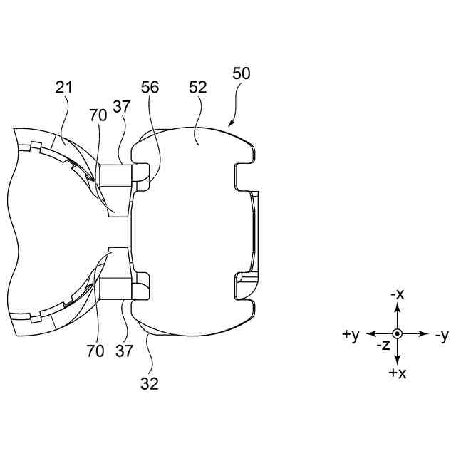
【解決手段】バッテリーポスト端子組立体1は、内側にバッテリーポストを把持可能な把持部21と、前記把持部の端部から延びるように配置された締付部31と、を有するバッテリーポスト端子10と、前記締付部の外側に配置されるホルダ40と、前記締付部の内側に配置されるベース部材50と、を備え、前記ベース部材は、台座部52と、前記台座部の一方の面に設けられ前記ホルダと連結するネジ軸51と、を有し、前記バッテリーポスト端子は、前記締付部の内側に延びて前記バッテリーポストに接触可能な接触部70を有する。
【選択図】図1
特許請求の範囲
【請求項1】
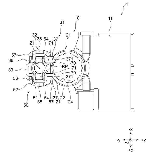
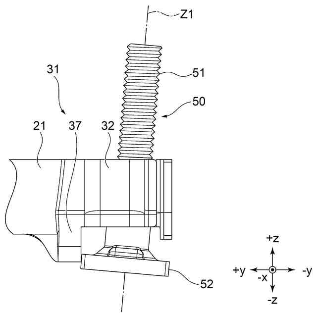
内側にバッテリーポストを把持可能な把持部と、前記把持部の端部から延びるように配置された締付部と、を有するバッテリーポスト端子と、
前記締付部の外側に配置されるホルダと、
前記締付部の内側に配置されるベース部材と、
を備え、
前記ベース部材は、
台座部と、
前記台座部の一方の面に設けられ前記ホルダと連結するネジ軸と、
を有し、
前記バッテリーポスト端子は、
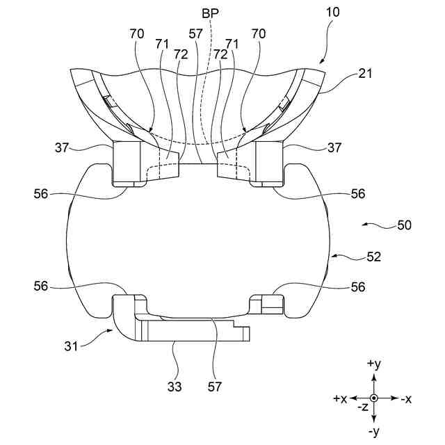
前記締付部の内側に延びて前記バッテリーポストに接触可能な接触部を有する、
バッテリーポスト端子組立体。
続きを表示(約 370 文字)
【請求項2】
前記接触部は、前記バッテリーポストに接触する端面に破断面を有する、
請求項1に記載のバッテリーポスト端子組立体。
【請求項3】
前記接触部は、前記把持部と前記締付部との間に設けられていて、前記締付部の内側に延びる爪状に形成されている、
請求項1または2に記載のバッテリーポスト端子組立体。
【請求項4】
前記ベース部材は、前記台座部に設けられていて、前記ホルダと連結した際に前記接触部と接触可能な凹部を有する、
請求項1に記載のバッテリーポスト端子組立体。
【請求項5】
前記接触部は、前記ベース部材が前記ホルダと連結した際に、先端が前記凹部から突出して前記台座部に接触可能である、
請求項4に記載のバッテリーポスト端子組立体。
発明の詳細な説明
【技術分野】
【0001】
本発明は、バッテリーポスト端子組立体に関する。
続きを表示(約 1,200 文字)
【背景技術】
【0002】
一般に、自動車などの車両に搭載されるバッテリーは、その上面から突出するバッテリーポストが設けられていて、バッテリーポストにバッテリーポスト端子が固定される。このバッテリーポスト端子には、電力供給用のハーネス類が接続される。バッテリーポストにバッテリーポスト端子を固定する構造としては、脚部のそれぞれに伸張部の傾斜面と同じ傾斜角度を有するスロープが形成され伸張部を押圧するスロープ部材と、伸張部の間にねじ部が上下に挿通され、締め付けることによってスロープ部材を上下に移動させるボルトとを有するものがある(例えば、特許文献1参照)。
【先行技術文献】
【特許文献】
【0003】
特許第6278948号公報
【発明の概要】
【発明が解決しようとする課題】
【0004】
ところで、バッテリーポスト端子組立体では、バッテリーポストに防錆用の油が付着した状態で締付けが行われることがある。
【0005】
以上のような使用状況において、バッテリーポスト端子組立体では、バッテリーポストとの接触面の摩擦力が低下した場合に、バッテリーポストの保持力が低下する場合がある。したがって、従来のバッテリーポスト端子組立体においては、締付時におけるバッテリーポストの保持力を向上する必要があった。
【0006】
本発明は、上述した課題に鑑みてなされたものであり、締付時におけるバッテリーポストの保持力を向上し得るバッテリーポスト端子組立体を提供することを目的とする。
【課題を解決するための手段】
【0007】
本発明の代表的な実施の形態に係るバッテリーポスト端子組立体は、内側にバッテリーポストを把持可能な把持部と、前記把持部の端部から延びるように配置された締付部と、を有するバッテリーポスト端子と、前記締付部の外側に配置されるホルダと、前記締付部の内側に配置されるベース部材と、を備え、前記ベース部材は、台座部と、前記台座部の一方の面に設けられ前記ホルダと連結するネジ軸と、を有し、前記バッテリーポスト端子は、前記締付部の内側に延びて前記バッテリーポストに接触可能な接触部を有する。
【0008】
バッテリーポスト端子組立体において、前記接触部は、前記バッテリーポストに接触する端面に破断面を有する。
【0009】
バッテリーポスト端子組立体において、前記接触部は、前記把持部と前記締付部との間に設けられていて、前記締付部の内側に延びる爪状に形成されている。
【0010】
バッテリーポスト端子組立体において、前記ベース部材は、前記台座部に設けられていて、前記ホルダと連結した際に前記接触部と接触可能な凹部を有する。
(【0011】以降は省略されています)
この特許をJ-PlatPat(特許庁公式サイト)で参照する
関連特許
古河電気工業株式会社
回路基板
今日
古河電気工業株式会社
排水構造
3日前
古河電気工業株式会社
回路基板
3日前
古河電気工業株式会社
回路基板
今日
古河電気工業株式会社
多層基板
17日前
古河電気工業株式会社
固定構造体
4日前
古河電気工業株式会社
グロメット
28日前
古河電気工業株式会社
電気接続箱
3日前
古河電気工業株式会社
グロメット
28日前
古河電気工業株式会社
電気接続箱
19日前
古河電気工業株式会社
電源システム
19日前
古河電気工業株式会社
複合ケーブル
3日前
古河電気工業株式会社
架橋樹脂発泡体
7日前
古河電気工業株式会社
通信用ケーブル
7日前
古河電気工業株式会社
通信用ケーブル
17日前
古河電気工業株式会社
マルチコアファイバ
25日前
古河電気工業株式会社
バッテリーポスト端子組立体
3日前
古河電気工業株式会社
銅系導体、撚線導体および電線
26日前
古河電気工業株式会社
端子カバー構造及び電気接続箱
4日前
古河電気工業株式会社
筐体、プロテクタ及び電気接続箱
26日前
古河電池株式会社
双極型蓄電池
11日前
古河電気工業株式会社
検出装置、検出方法及びプログラム
4日前
個人
RoFネットワークシステム
18日前
個人
光ファイバおよび光通信システム
25日前
株式会社古河テクノマテリアル
耐火構造
28日前
古河電気工業株式会社
固定部材及び固定部材付ワイヤーハーネス
25日前
古河電気工業株式会社
プログラム、無線通信システム及び通信方法
7日前
古河電気工業株式会社
センサユニット、電力ケーブル及び測定システム
4日前
古河電気工業株式会社
波長可変レーザ装置及び波長可変レーザ装置の制御方法
27日前
古河電気工業株式会社
マルチコアファイバおよびマルチコアファイバの製造方法
3日前
古河電気工業株式会社
シールド電線の端末構造、端子付き電線およびコネクタ付き電線
26日前
古河電気工業株式会社
シールド電線の端末構造、端子付き電線およびコネクタ付き電線
26日前
古河電気工業株式会社
シールド電線の端末構造、端子付き電線およびコネクタ付き電線
26日前
古河電気工業株式会社
シールド電線の端末構造、端子付き電線およびコネクタ付き電線
26日前
古河電気工業株式会社
耐熱性の水溶性フィルム、半導体加工用テープ及び半導体チップの製造方法
1か月前
古河電気工業株式会社
バンドル構造、バンドル構造とマルチコアファイバの光接続構造及び光接続方法
10日前
続きを見る
他の特許を見る