TOP
|
特許
|
意匠
|
商標
特許ウォッチ
Twitter
他の特許を見る
10個以上の画像は省略されています。
公開番号
2025132274
公報種別
公開特許公報(A)
公開日
2025-09-10
出願番号
2024029709
出願日
2024-02-29
発明の名称
シールド電線の端末構造、端子付き電線およびコネクタ付き電線
出願人
古河電気工業株式会社
,
古河AS株式会社
代理人
個人
,
個人
主分類
H01R
13/6581 20110101AFI20250903BHJP(基本的電気素子)
要約
【課題】フェルールの引張強度が高く、コンパクトで形成容易なシールド電線の端末構造、それを備えた端子付き電線とコネクタ付き電線の提供。
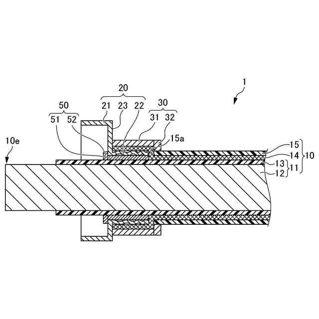
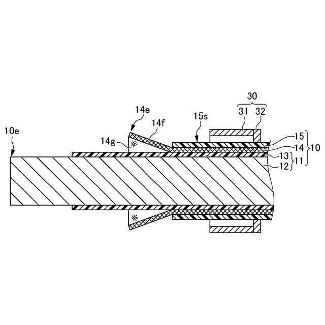
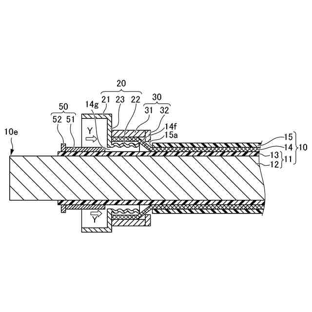
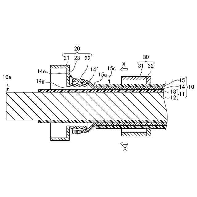
【解決手段】シールド電線の端末構造は、コア部とシールド層と外被とを有するシールド電線の端末構造であって、波形状の筒状部がシールド層の露出部分とコア部との間に位置するフェルールと、スリーブ胴部が、筒状部の外周面と対向する位置に、前記露出部分を筒状部と挟んだ状態で固定配置されるスリーブと、ホルダー胴部および前記ホルダー胴部における筒状部基部側の端部から径方向外側に延在するホルダー当接部を備え、ホルダー胴部が、前記露出部分内側にあるコア部と筒状部の間に位置し、前記露出部分を介したスリーブ胴部への筒状部の押圧固定状態を保持し、ホルダー当接部が、前記筒状部よりシールド電線先端側に位置し、前記露出部分を介した外被露出端部への筒状部の当接状態を保持するホルダーと、を備える。
【選択図】図1
特許請求の範囲
【請求項1】
導線が絶縁層で被覆されたコア部と、該コア部の外周に配置されたシールド層と、該シールド層の外周を被覆する外被とを有するシールド電線の端末構造であって、
前記コア部の外径より大きい内径を有し、波形状に延在する筒状部を備え、前記筒状部が、所定長さの前記外被が剥離されて露出する前記シールド層の露出部分と、前記コア部との間に位置するフェルールと、
前記シールド電線の外径より大きい内径を有するスリーブ胴部を備え、前記スリーブ胴部が、前記筒状部の外周面と対向する位置に、前記シールド層の前記露出部分を前記筒状部と挟んだ状態で固定配置されるリング状のスリーブと、
前記筒状部の内径より小さい外径を有するホルダー胴部、および前記ホルダー胴部における筒状部基部側の端部から前記ホルダー胴部の径方向外側に延在するホルダー当接部を備え、前記ホルダー胴部が、前記シールド層の前記露出部分の内周面側に位置する前記コア部の外周面の部分と前記筒状部の内周面との間に位置し、前記筒状部を、前記シールド層の前記露出部分を介して前記スリーブ胴部に押圧固定した状態を保持すると共に、前記ホルダー当接部が、前記筒状部より前記シールド電線の先端側に位置し、前記筒状部の端部側を、前記シールド層の前記露出部分を介して前記外被の露出端部に当接した状態を保持するホルダーと、
を備える、シールド電線の端末構造。
続きを表示(約 450 文字)
【請求項2】
前記スリーブは、前記スリーブ胴部における筒状部端部側の端部から前記スリーブ胴部の径方向内側に延在するスリーブ当接部をさらに備え、
前記ホルダー当接部は、前記筒状部の端部側を、前記シールド層の前記露出部分を介して前記外被の露出端部および前記スリーブ当接部に当接した状態を保持する、請求項1に記載のシールド電線の端末構造。
【請求項3】
請求項1または2に記載のシールド電線の端末構造を有する端子付き電線であって、
前記コア部の先端から所定長さの前記絶縁層が剥離され、剥離によって露出した前記導線の部分が、端子と接続されている、端子付き電線。
【請求項4】
請求項3に記載の端子付き電線がコネクタハウジング内に収容されたコネクタ付き電線であって、
前記コネクタハウジング内にて、前記端子および前記フェルールに対向する領域にわたって、金属部材が配置され、
前記フェルールと前記金属部材とが導通する、コネクタ付き電線。
発明の詳細な説明
【技術分野】
【0001】
本開示は、シールド電線の端末構造、端子付き電線およびコネクタ付き電線に関する。
続きを表示(約 1,800 文字)
【背景技術】
【0002】
従来、例えば自動車のワイヤハーネスに用いられる電線には、外部への電磁波の漏洩を防止するため、あるいは、外部から電線への電磁波の影響を抑制するために、シールド電線が用いられている。
【0003】
このようなシールド電線としては、例えば、絶縁被覆がなされた被覆電線の外周に編組線からなるシールド層が形成され、このシールド層の外周に外被が形成されたシールド電線が提案されている。このようなシールド電線の先端部に端子などを接続してコネクタを構成する際には、シールド層を接地するための端末構造を形成する必要がある。
【0004】
図9は、従来の端末構造を形成する工程を示す説明図である。まず、図9(a)、図9(b)に示すように、シールド電線100の最外周の外被103を、端部から所定長さにわたり切断除去し、内部の編組線のシールド層105を露出させる。
【0005】
次に、図9(c)に示すように、シールド層105を所定長さで切断し、内部のコア部107を露出させる。すなわち、外被103の先端から所定長さのシールド層105が露出し、シールド層105の先端から所定長さのコア部107が露出する。なお、コア部107は導体が絶縁被覆された電線である。
【0006】
次に、図9(d)に示すように、外被103の端部近傍において、所定長さのインナーフェルール109を配置する。インナーフェルール109は金属製の環状部材である。その後、図9(e)に示すように、外被103から露出していたシールド層105を外被103側(インナーフェルール109側)に折り返す。これにより、インナーフェルール109がシールド層105によって覆われる。
【0007】
最後に、図9(f)に示すように、シールド層105の外周にアウターフェルール113を配置する。アウターフェルール113は、インナーフェルール109と同様に金属製の環状部材であり、インナーフェルール109の外径よりも内径が大きい。この状態でアウターフェルール113を外周から圧縮することで、インナーフェルール109とアウターフェルール113とでシールド層105が挟まれた状態で圧着することができる。
【0008】
この後、コア部107には端子が接続され、端子はコネクタハウジング内に収容される。この際、アウターフェルール113を、コネクタハウジング内に配置されている金属部材と接触させるとともに、金属部材を接地線と接続することで、シールド電線100のシールド層を接地させることができる。
【0009】
しかし、図9に示される従来の端末構造は、伸縮変形しやすい編組線で構成されているシールド層105を折り返した部分に、インナーフェルール109およびアウターフェルール113が固定されるため、編組線を挟んだ状態で固定したインナーフェルール109およびアウターフェルール113は、シールド層105の伸縮変形に追随することから、シールド電線100の軸線方向には十分に固定されず、移動しやすい傾向がある。このため、シールド電線100に対するこれらフェルールの引張強度が低下する懸念がある。また、シールド層105を挟んだ状態で固定されたインナーフェルール109およびアウターフェルール113は、シールド電線100の外被103の上に形成されるため、シールド電線100の外周から大きく張り出す傾向があり、この結果、当該部分の構造が大型化してしまう。さらに、折り返しの分だけシールド層105の必要長が長くなるため、ストリップ加工を一度に行うことができない。すなわち、シールド層105の折り返し作業を行う前にシールド層105をストリップ加工により露出させる必要があるとともに、シールド層105の折り返し作業を行った後でコア部107から導体を露出させるストリップ加工をしなければならないため、端末構造の形成し易さの面においても改善の余地があった。
【先行技術文献】
【特許文献】
【0010】
特開2013-51141号公報
特開2021-182467号公報
【発明の概要】
【発明が解決しようとする課題】
(【0011】以降は省略されています)
この特許をJ-PlatPat(特許庁公式サイト)で参照する
関連特許
古河電気工業株式会社
回路基板
2日前
古河電気工業株式会社
多層基板
19日前
古河電気工業株式会社
回路基板
5日前
古河電気工業株式会社
排水構造
5日前
古河電気工業株式会社
回路基板
2日前
古河電気工業株式会社
電気接続箱
21日前
古河電気工業株式会社
固定構造体
6日前
古河電気工業株式会社
電気接続箱
5日前
古河電気工業株式会社
複合ケーブル
5日前
古河電気工業株式会社
電源システム
21日前
古河電気工業株式会社
複合ケーブル
今日
古河電気工業株式会社
通信用ケーブル
19日前
古河電気工業株式会社
通信用ケーブル
9日前
古河電気工業株式会社
架橋樹脂発泡体
9日前
古河電気工業株式会社
マルチコアファイバ
27日前
古河電気工業株式会社
バッテリーポスト端子組立体
5日前
古河電気工業株式会社
端子カバー構造及び電気接続箱
6日前
古河電気工業株式会社
配線材、及び配線材の製造方法
今日
古河電池株式会社
双極型蓄電池
13日前
古河電気工業株式会社
検出装置、検出方法及びプログラム
6日前
個人
RoFネットワークシステム
20日前
古河電気工業株式会社
ポリオレフィン樹脂組成物及び配線材
今日
古河電気工業株式会社
樹脂組成物及びこれを用いた射出成型体
今日
古河電気工業株式会社
通信システム、プログラム及び通信方法
今日
古河電気工業株式会社
通信システム、プログラム及び通信方法
今日
古河電気工業株式会社
プログラム、無線通信システム及び通信方法
9日前
古河電気工業株式会社
走行路認識装置、走行路認識方法及びプログラム
今日
古河電気工業株式会社
配線材の製造方法及び製造装置、並びに、配線材
今日
古河電気工業株式会社
配線材の製造方法及び製造装置、並びに、配線材
今日
古河電気工業株式会社
センサユニット、電力ケーブル及び測定システム
6日前
古河電気工業株式会社
マルチコアファイバおよびマルチコアファイバの製造方法
5日前
古河電池株式会社
双極型蓄電池用バイプレート、双極型蓄電池
今日
古河電気工業株式会社
バンドル構造、バンドル構造とマルチコアファイバの光接続構造及び光接続方法
12日前
古河電気工業株式会社
ケーブルコネクタ組立体及びケーブルコネクタ組立体を用いた回転コネクタ装置
5日前
古河電気工業株式会社
メス型端子、コネクタ、端子付き電線、コネクタ付き電線及びワイヤーハーネス
今日
古河AS株式会社
電線用外装体の蓋体、電線用外装体及び外装体付きワイヤーハーネス
5日前
続きを見る
他の特許を見る