TOP
|
特許
|
意匠
|
商標
特許ウォッチ
Twitter
他の特許を見る
公開番号
2025145877
公報種別
公開特許公報(A)
公開日
2025-10-03
出願番号
2024046352
出願日
2024-03-22
発明の名称
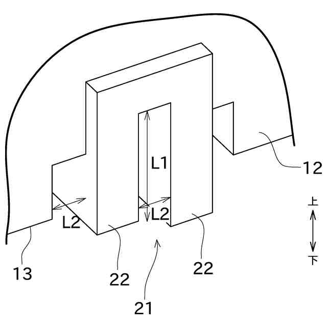
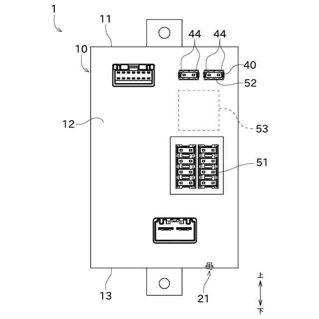
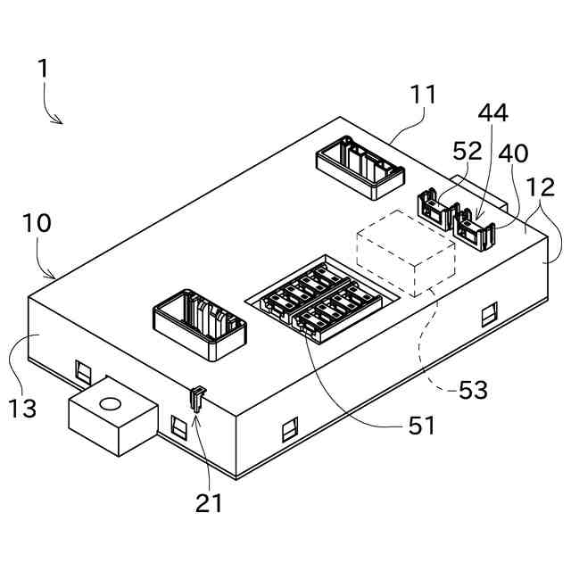
電気接続箱
出願人
古河電気工業株式会社
,
古河AS株式会社
代理人
個人
主分類
H02G
3/16 20060101AFI20250926BHJP(電力の発電,変換,配電)
要約
【課題】部品の搭載効率が高く、排気口を介した異物の侵入を抑制可能な電気接続箱を提供する。
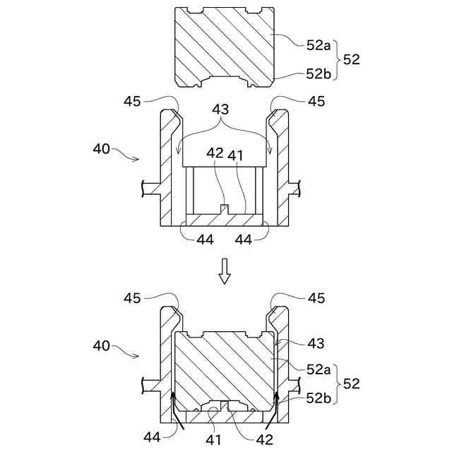
【解決手段】電気接続箱は、箱状体と、ヒューズと、を備える。箱状体には、内部空間が形成される。ヒューズは、箱状体の内部空間に収容される電気電子部品であって高発熱性を有する。箱状体には、吸気口と、排気口44と、が形成されている。吸気口は、車両に設置した状態において、ヒューズよりも低い位置にある。排気口44は、車両に設置した状態において、吸気口よりも高い位置、かつ、ヒューズよりも高い位置にある。排気口44は、スペアヒューズ52を保持する保持部40に形成される。
【選択図】図4
特許請求の範囲
【請求項1】
内部空間が形成される箱状体と、
前記箱状体の前記内部空間に収容される電気電子部品であって高発熱性を有する発熱部品と、
を備え、
前記箱状体には、
車両に設置した状態において、前記発熱部品よりも低い位置にある吸気口と、
車両に設置した状態において、前記吸気口よりも高い位置、かつ、前記発熱部品よりも高い位置にある排気口と、
が形成されており、
前記排気口は、メンテナンス部品を保持する保持部に形成されることを特徴とする電気接続箱。
続きを表示(約 640 文字)
【請求項2】
請求項1に記載の電気接続箱であって、
前記保持部には、ベース面と、当該ベース面から突出する突出部と、が形成されており、
前記メンテナンス部品を前記保持部に取り付けた状態において、前記ベース面と前記メンテナンス部品の間に隙間が形成されることを特徴とする電気接続箱。
【請求項3】
請求項1に記載の電気接続箱であって、
前記吸気口は、車両に設置した状態における前記内部空間の下端部に形成されていることを特徴とする電気接続箱。
【請求項4】
請求項3に記載の電気接続箱であって、
前記吸気口は、仕切り部により複数の開口に分割された構成であることを特徴とする電気接続箱。
【請求項5】
請求項4に記載の電気接続箱であって、
前記吸気口の複数の開口のうち、前記仕切り部の長手方向に沿う方向の第1開口長さと、開口面において前記仕切り部の長手方向に垂直な方向の第2開口長さと、の少なくとも一方が1mm未満であることを特徴とする電気接続箱。
【請求項6】
請求項1に記載の電気接続箱であって、
前記メンテナンス部品はスペアヒューズであり、
前記スペアヒューズは、脚部と、前記脚部に接続される本体部と、を有し、
前記保持部には、前記脚部が挿入される挿入部が形成されており、
前記挿入部の底部に形成された開口が排気口であることを特徴とする電気接続箱。
発明の詳細な説明
【技術分野】
【0001】
本発明は、主として、放熱構造を有する電気接続箱に関する。
続きを表示(約 1,200 文字)
【背景技術】
【0002】
特許文献1は、電気接続箱内の空気の対流により放熱を行う放熱構造を開示する。この電気接続箱では、高さ方向の中間部に発熱体が配置される。また、電気接続箱の下部側に吸気用の口部が形成され、電気接続箱の上部側に排気用の口部が形成される。この構成により、吸気用の口部から外気を導入するとともに、排気用の口部から発熱体の熱を含んだ気体を排気できる。
【先行技術文献】
【特許文献】
【0003】
特許第5166945号公報
【発明の概要】
【発明が解決しようとする課題】
【0004】
特許文献1の電気接続箱では、排気口を形成するための特別の領域が必要となる。その結果、電気接続箱の部品の搭載効率(電気接続箱の単位体積あたりの部品の搭載数又は搭載体積)が低くなり易い。また、特許文献1の電気接続箱では、排気口が大きいため、排気口を介して異物が電気接続箱の内部に侵入し易い。
【0005】
本発明は以上の事情に鑑みてされたものであり、その主要な目的は、部品の搭載効率が高く、排気口を介した異物の侵入を抑制可能な電気接続箱を提供することにある。
【発明の概要】
課題を解決するための手段及び効果
【0006】
本発明の解決しようとする課題は以上の如くであり、次にこの課題を解決するための手段とその効果を説明する。
【0007】
本発明の観点によれば、以下の構成の電気接続箱が提供される。即ち、電気接続箱は、箱状体と、発熱部品と、を備える。前記箱状体には、内部空間が形成される。前記発熱部品は、前記箱状体の前記内部空間に収容される電気電子部品であって高発熱性を有する。前記箱状体には、吸気口と、排気口と、が形成されている。前記吸気口は、車両に設置した状態において、前記発熱部品よりも低い位置にある。前記排気口は、車両に設置した状態において、前記吸気口よりも高い位置、かつ、前記発熱部品よりも高い位置にある。前記排気口は、メンテナンス部品を保持する保持部に形成される。
【0008】
これにより、メンテナンス部品の保持部に排気口が形成されるので、排気口を単独で形成する構成と比較して、部品の搭載効率が高くなり易い。また、排気口にメンテナンス部品が配置されるので、排気口から電気接続箱の内部に異物が侵入しにくい。
【0009】
前記の電気接続箱においては、以下の構成とすることが好ましい。即ち、前記保持部には、ベース面と、当該ベース面から突出する突出部と、が形成されている。前記メンテナンス部品を前記保持部に取り付けた状態において、前記ベース面と前記メンテナンス部品の間に隙間が形成される。
【0010】
これにより、メンテナンス部品とベース面の間に隙間を形成できるので、その隙間を利用して熱を排出できる。
(【0011】以降は省略されています)
この特許をJ-PlatPat(特許庁公式サイト)で参照する
関連特許
古河電気工業株式会社
回路基板
1日前
古河電気工業株式会社
回路基板
4日前
古河電気工業株式会社
多層基板
18日前
古河電気工業株式会社
排水構造
4日前
古河電気工業株式会社
回路基板
1日前
古河電気工業株式会社
固定構造体
5日前
古河電気工業株式会社
電気接続箱
20日前
古河電気工業株式会社
電気接続箱
4日前
古河電気工業株式会社
複合ケーブル
4日前
古河電気工業株式会社
電源システム
20日前
古河電気工業株式会社
通信用ケーブル
18日前
古河電気工業株式会社
架橋樹脂発泡体
8日前
古河電気工業株式会社
通信用ケーブル
8日前
古河電気工業株式会社
バッテリーポスト端子組立体
4日前
古河電気工業株式会社
端子カバー構造及び電気接続箱
5日前
古河電池株式会社
双極型蓄電池
12日前
古河電気工業株式会社
検出装置、検出方法及びプログラム
5日前
個人
RoFネットワークシステム
19日前
古河電気工業株式会社
プログラム、無線通信システム及び通信方法
8日前
古河電気工業株式会社
センサユニット、電力ケーブル及び測定システム
5日前
古河電気工業株式会社
マルチコアファイバおよびマルチコアファイバの製造方法
4日前
古河電気工業株式会社
バンドル構造、バンドル構造とマルチコアファイバの光接続構造及び光接続方法
11日前
古河電気工業株式会社
ケーブルコネクタ組立体及びケーブルコネクタ組立体を用いた回転コネクタ装置
4日前
古河AS株式会社
電線用外装体の蓋体、電線用外装体及び外装体付きワイヤーハーネス
4日前
古河電気工業株式会社
液状シラングラフトオレフィン組成物及びそのシラン架橋硬化物、並びにこれらの製造方法
18日前
個人
電源装置
19日前
個人
バッテリ内蔵直流電源
18日前
株式会社FUJI
制御盤
8日前
オムロン株式会社
電源回路
12日前
西部電機株式会社
充電装置
今日
西部電機株式会社
充電装置
今日
オムロン株式会社
電源回路
12日前
日本精機株式会社
サージ保護回路
今日
オムロン株式会社
電源回路
12日前
トヨタ自動車株式会社
回転子
19日前
ニデック株式会社
モータの制御方法
26日前
続きを見る
他の特許を見る