TOP
|
特許
|
意匠
|
商標
特許ウォッチ
Twitter
他の特許を見る
10個以上の画像は省略されています。
公開番号
2025144673
公報種別
公開特許公報(A)
公開日
2025-10-03
出願番号
2024044464
出願日
2024-03-21
発明の名称
電線用外装体の蓋体、電線用外装体及び外装体付きワイヤーハーネス
出願人
古河AS株式会社
,
古河電気工業株式会社
代理人
個人
主分類
H02G
3/04 20060101AFI20250926BHJP(電力の発電,変換,配電)
要約
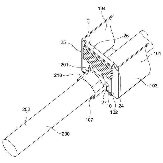
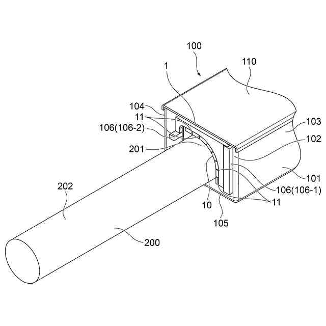
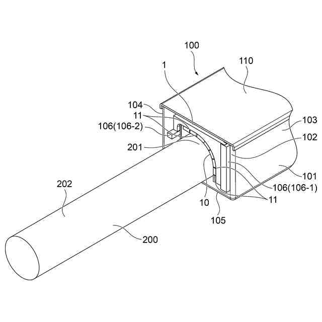
【課題】ワイヤーハーネス等の電線の径方向の寸法が変わっても、異物が電線用外装体の内部へ侵入することを防止できる電線用外装体の長手方向端部に取付可能な蓋体を提供する。
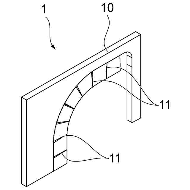
【解決手段】樹脂シートで形成された、電線の外周に装着される電線用外装体の長手方向端部に取付可能な蓋体であって、前記電線が挿入される、前記電線の径方向に形成されている切り欠き部である電線挿入部と、前記電線挿入部の前記電線の径方向の寸法または前記電線挿入部の位置を変化させるための、前記電線の径方向に形成されたスリットと、を備える蓋体。
【選択図】図1
特許請求の範囲
【請求項1】
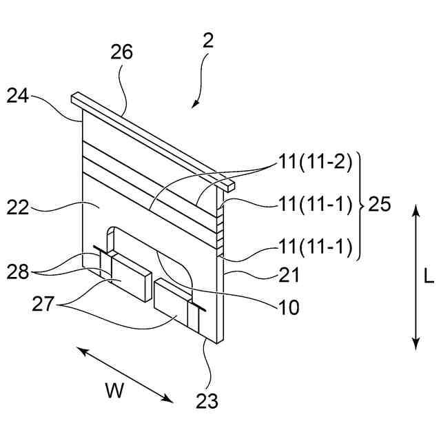
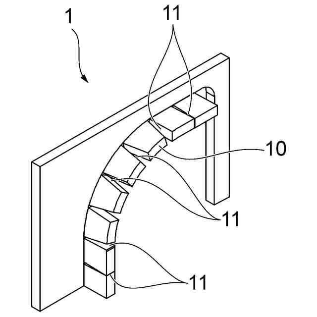
樹脂シートで形成された、電線の外周に装着される電線用外装体の長手方向端部に取付可能な蓋体であって、
前記電線が挿入される、前記電線の径方向に形成されている切り欠き部である電線挿入部と、
前記電線挿入部の前記電線の径方向の寸法または前記電線挿入部の位置を変化させるための、前記電線の径方向に形成されたスリットと、
を備える蓋体。
続きを表示(約 870 文字)
【請求項2】
前記樹脂シートの厚さ方向に貫通した前記スリットが、前記電線挿入部から伸延している請求項1に記載の蓋体。
【請求項3】
前記スリットが、前記電線挿入部に沿って複数設けられている請求項2に記載の蓋体。
【請求項4】
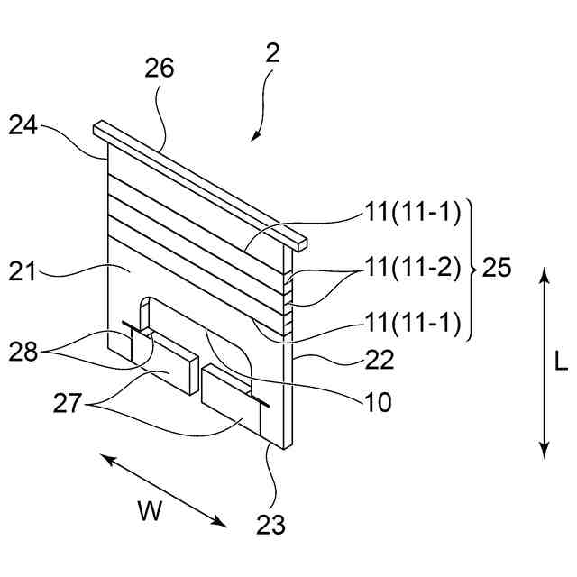
前記樹脂シートが、第1の主表面と前記第1の主表面に対向した第2の主表面、及び幅方向と長さ方向を有しており、
前記樹脂シートの厚さ方向に貫通していない、前記幅方向に伸延している前記スリットが、前記長さ方向に沿って前記第1の主表面と前記第2の主表面に交互に設けられて蛇腹状スリット部を形成している請求項1に記載の蓋体。
【請求項5】
前記電線挿入部に対向した前記長さ方向の端部に、前記蓋体を前記電線が収容される電線用外装体本体部に取り付けるための幅広部が設けられている請求項4に記載の蓋体。
【請求項6】
前記電線挿入部に対向した前記長さ方向の端部に、係止爪が設けられ、前記長さ方向における前記蛇腹状スリット部と前記電線挿入部の間に、前記係止爪が係止される係止部が設けられている請求項4に記載の蓋体。
【請求項7】
前記電線挿入部に、前記電線の伸び方向に伸ばすことが可能な、前記電線を前記蓋体に固定するための延出部を、さらに有する請求項4乃至6のいずれか1項に記載の蓋体。
【請求項8】
前記樹脂シートが、樹脂発泡シートである請求項1に記載の蓋体。
【請求項9】
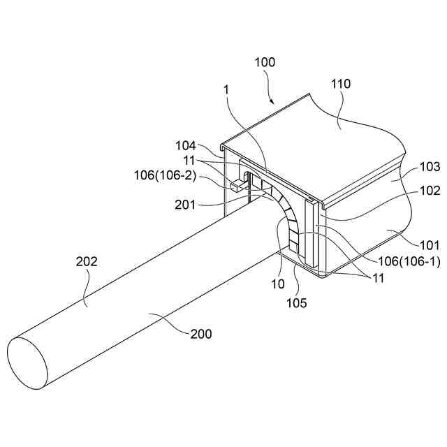
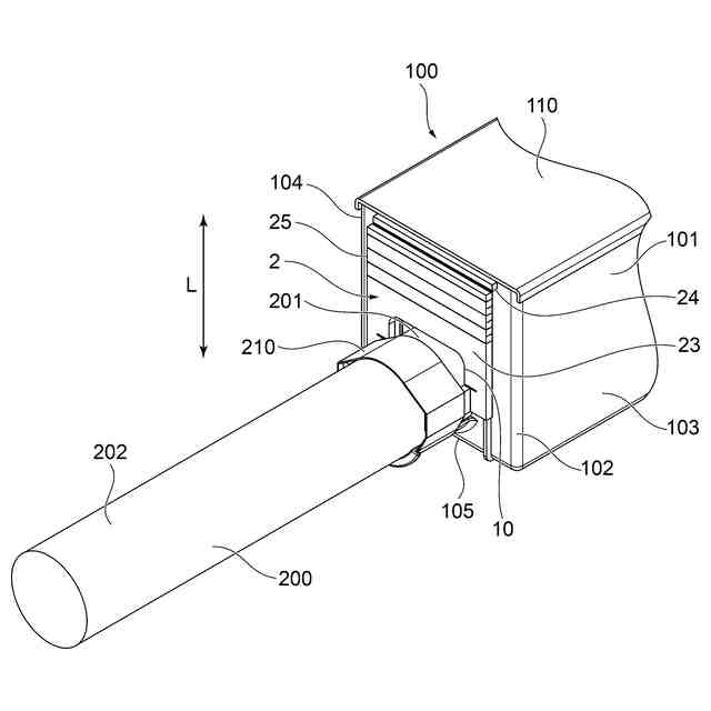
電線を収容する電線用外装体本体部と、前記電線用外装体本体部の前記電線の伸び方向端部に取り付けられた請求項1に記載の蓋体と、を備えた、電線の外周に装着される電線用外装体。
【請求項10】
外装体付きワイヤーハーネスであって、
ワイヤーハーネスと、
請求項9に記載の電線用外装体と、を備え、
前記電線用外装体は、前記ワイヤーハーネスの外周に装着されている外装体付きワイヤーハーネス。
発明の詳細な説明
【技術分野】
【0001】
本発明は、ワイヤーハーネス等の電線を保護するために、電線の外周に装着される電線用外装体の長手方向端部に取付可能な蓋体、電線用外装体及び外装体付きワイヤーハーネスに関する。
続きを表示(約 2,600 文字)
【背景技術】
【0002】
従来から、ワイヤーハーネス等の電線を車体等に取り付け、固定するために、ワイヤーハーネス用の外装体が用いられている。また、ワイヤーハーネスが外装体の収容部に収容されることで、外装体はワイヤーハーネスの経路を規制する機能とワイヤーハーネスを保護する機能を発揮する。
【0003】
また、近年、二酸化炭素排出規制等に伴い、自動車等の車両において、さらなる燃費改善が要求されていることから、自動車等の車両に搭載する部品の軽量化が求められている。従って、自動車等の車両において配索される電線の外周に装着される電線用外装体も、軽量化が要求されていることから、樹脂材料で形成された電線用外装体が提案されている。
【0004】
樹脂材料で形成された電線用外装体として、例えば、板状部分に形成されたロック部が、他の板状部分に形成されたロック孔部に挿通されて係止する係止構造を備え、ロック部は、ロック部をロック孔部に挿通可能にする第一形態及び第一形態と異なる形状の第二形態に変形可能であり、第二形態のロック部がロック孔部に引っ掛かることにより、プロテクタを、電線を収容可能な形状に維持する係止構造が形成される電線用外装体が提案されている(特許文献1)。特許文献1では、変形可能なロック部がロック孔部に引っ掛かることにより、電線が収容可能な形状にプロテクタを維持するものである。
【0005】
一方で、ワイヤーハーネスが挿通して収容されている電線用外装体が、車両の外部環境に露出した状態で使用されることがある。特許文献1のプロテクタでは、プロテクタの伸び方向の端部が解放されているので、車両の外部環境に露出した状態で使用されると、石等の異物がプロテクタの伸び方向の端部からプロテクタの内部へ侵入し、ワイヤーハーネスを傷つけてしまう場合があった。
【0006】
そこで、石等の異物がプロテクタの内部へ侵入することを防止するために、プロテクタの伸び方向の端部をテープ等で覆うことがあった。しかし、プロテクタの伸び方向の端部をテープ等で覆っても、テープの巻き方を均一化するのは難しく、また、テープ巻きの作業性も悪いので、石等の異物の侵入を十分に防止できない場合があった。
【0007】
また、石等の異物がプロテクタの内部へ侵入することを防止するために、プロテクタの伸び方向の端部に、ワイヤーハーネスの径方向の切り欠きを有するワイヤーハーネス挿入部が形成された、別体の樹脂製カバーを装着することがあった。しかし、石等の異物がプロテクタの内部へ侵入することを防止するためには、ワイヤーハーネス挿入部の大きさがワイヤーハーネスの径方向の寸法に対応している必要がある。一方で、ワイヤーハーネスの径方向の寸法は多様であることから、ワイヤーハーネスの径方向の寸法に応じて多様なワイヤーハーネス挿入部の寸法を有するカバーを準備する必要があった。従って、樹脂製カバーを装着するには、多様なワイヤーハーネス挿入部の寸法に応じて、それぞれ、樹脂製カバーの金型を起工する必要があった。
【先行技術文献】
【特許文献】
【0008】
特開2016-12990号公報
【発明の概要】
【発明が解決しようとする課題】
【0009】
本発明は、上記事情に鑑みてなされたものであり、ワイヤーハーネス等の電線の径方向の寸法が変わっても、異物が電線用外装体の内部へ侵入することを防止できる電線用外装体の長手方向端部に取付可能な蓋体、前記蓋体を有する電線用外装体及び外装体付きワイヤーハーネスを提供することを目的とする。
【課題を解決するための手段】
【0010】
本発明の構成の要旨は、以下のとおりである。
[1]樹脂シートで形成された、電線の外周に装着される電線用外装体の長手方向端部に取付可能な蓋体であって、
前記電線が挿入される、前記電線の径方向に形成されている切り欠き部である電線挿入部と、
前記電線挿入部の前記電線の径方向の寸法または前記電線挿入部の位置を変化させるための、前記電線の径方向に形成されたスリットと、
を備える蓋体。
[2]前記樹脂シートの厚さ方向に貫通した前記スリットが、前記電線挿入部から伸延している[1]に記載の蓋体。
[3]前記スリットが、前記電線挿入部に沿って複数設けられている[2]に記載の蓋体。
[4]前記樹脂シートが、第1の主表面と前記第1の主表面に対向した第2の主表面、及び幅方向と長さ方向を有しており、
前記樹脂シートの厚さ方向に貫通していない、前記幅方向に伸延している前記スリットが、前記長さ方向に沿って前記第1の主表面と前記第2の主表面に交互に設けられて蛇腹状スリット部を形成している[1]に記載の蓋体。
[5]前記電線挿入部に対向した前記長さ方向の端部に、前記蓋体を前記電線が収容される電線用外装体本体部に取り付けるための幅広部が設けられている[4]に記載の蓋体。
[6]前記電線挿入部に対向した前記長さ方向の端部に、係止爪が設けられ、前記長さ方向における前記蛇腹状スリット部と前記電線挿入部の間に、前記係止爪が係止される係止部が設けられている[4]に記載の蓋体。
[7]前記電線挿入部に、前記電線の伸び方向に伸ばすことが可能な、前記電線を前記蓋体に固定するための延出部を、さらに有する[4]乃至[6]のいずれか1つに記載の蓋体。
[8]前記樹脂シートが、樹脂発泡シートである[1]に記載の蓋体。
[9]電線を収容する電線用外装体本体部と、前記電線用外装体本体部の前記電線の伸び方向端部に取り付けられた[1]に記載の蓋体と、を備えた、電線の外周に装着される電線用外装体。
[10]外装体付きワイヤーハーネスであって、
ワイヤーハーネスと、
[9]に記載の電線用外装体と、を備え、
前記電線用外装体は、前記ワイヤーハーネスの外周に装着されている外装体付きワイヤーハーネス。
【発明の効果】
(【0011】以降は省略されています)
この特許をJ-PlatPat(特許庁公式サイト)で参照する
関連特許
古河AS株式会社
放電システム
2か月前
古河電気工業株式会社
多層基板
17日前
古河電気工業株式会社
バスバー
1か月前
古河電気工業株式会社
排水構造
3日前
古河電気工業株式会社
電気接続箱
1か月前
古河電気工業株式会社
グロメット
28日前
古河電気工業株式会社
固定構造体
4日前
古河電気工業株式会社
グロメット
28日前
古河電気工業株式会社
電気接続箱
19日前
古河電気工業株式会社
電気接続箱
3日前
古河電気工業株式会社
電源システム
19日前
古河電気工業株式会社
回路分岐構造
1か月前
古河電気工業株式会社
通信用ケーブル
7日前
古河電気工業株式会社
通信用ケーブル
17日前
古河電気工業株式会社
ワイヤツーワイヤコネクタ
1か月前
古河電気工業株式会社
部品保持構造及び電気接続箱
1か月前
古河電気工業株式会社
バッテリーポスト端子組立体
3日前
古河AS株式会社
電線保持用クリップ、電線保持構造、ワイヤハーネス
1か月前
古河電気工業株式会社
端子カバー構造及び電気接続箱
4日前
古河電気工業株式会社
保持部材及び長尺状体配索構造
1か月前
古河電気工業株式会社
配線部材、配線部材の接合方法
1か月前
古河電気工業株式会社
筐体、プロテクタ及び電気接続箱
26日前
古河電気工業株式会社
検出装置、検出方法及びプログラム
4日前
古河電気工業株式会社
連端子コネクタ組立体及びハウジング
2か月前
古河電気工業株式会社
ヒートシンクとバスバーとの接続構造体
1か月前
古河電気工業株式会社
電気部品引抜具固定構造及び電気接続箱
2か月前
古河電気工業株式会社
固定部材及び固定部材付ワイヤーハーネス
1か月前
古河電気工業株式会社
固定部材及び固定部材付ワイヤーハーネス
25日前
古河AS株式会社
電線用外装体の蓋体、電線用外装体及び外装体付きワイヤーハーネス
3日前
古河電気工業株式会社
プログラム、無線通信システム及び通信方法
7日前
古河AS株式会社
電線保持用クリップ、電線保持構造、電線固定方法、ワイヤハーネス
1か月前
古河電気工業株式会社
状態検知システム、状態検知装置及び状態検知方法
2か月前
古河電気工業株式会社
状態推定システム、状態推定装置及び状態推定方法
2か月前
古河電気工業株式会社
導電性部材、導電性部材の接続構造、導電性部材の接続方法
1か月前
古河電気工業株式会社
シールド電線の端末構造、端子付き電線およびコネクタ付き電線
26日前
古河電気工業株式会社
シールド電線の端末構造、端子付き電線およびコネクタ付き電線
26日前
続きを見る
他の特許を見る